Lenovo Yoga Slim 7 Pro 14IAH7 handleiding

72 pagina's
PDF beschikbaar

Handleiding

Je bekijkt pagina 32 van 72
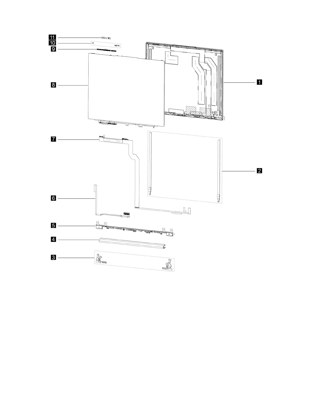
Figure 2. LCD module (glass version) — exploded view
26 Hardware Maintenance Manual

Bekijk gratis de handleiding van Lenovo Yoga Slim 7 Pro 14IAH7, stel vragen en lees de antwoorden op veelvoorkomende problemen, of gebruik onze assistent om sneller informatie in de handleiding te vinden of uitleg te krijgen over specifieke functies.

Productinformatie

MerkLenovo
ModelYoga Slim 7 Pro 14IAH7
CategorieLaptop
TaalNederlands
Grootte16306 MB

Caratteristiche Prodotto

Kleur van het productGrijs
Gewicht1320 g
Breedte312.4 mm
Diepte221.4 mm
Hoogte14.6 mm