Kuppersbusch KMI8350.0SR handleiding
Handleiding
Je bekijkt pagina 24 van 100

Montageanleitung
24
D
7.9 Elektrischer Anschluss
WARNUNG VOR ELEKTRISCHER
ENERGIE!
ES BESTEHT LEBENSGEFAHR!
In der Nähe dieses Symbols sind span-
nungsführende Teile angebracht. Abdeckun-
gen, die damit gekennzeichnet sind, dürfen
nur von einer anerkannten Elektrofachkraft
entfernt werden.
• Der elektrische Anschluss darf nur von einem autori-
sierten Fachmann vorgenommen werden!
• Die gesetzlichen Vorschriften und Anschlussbedingun-
gen des örtlichen Elektroversorgungsunternehmens
müssen vollständig eingehalten werden.
• Bei Anschluss des Gerätes ist eine Einrichtung vorzu-
sehen, die es ermöglicht, das Gerät mit einer Kon-
takt-Ö nungsweite von mindestens 3 mm allpolig vom
Netz zu trennen. Als geeignete Trennvorrichtung gelten
LS-Schalter, Sicherungen und Schütze. Bei Anschluss
und Reparatur Gerät mit einer dieser Einrichtungen
stromlos machen.
• Der Schutzleiter muss so lang bemessen sein, dass er
bei Versagen der Zugentlastung erst nach den strom-
führenden Adern des Anschlusskabels auf Zug bean-
sprucht wird.
• Die überschüssige Kabellänge muss aus dem Einbau-
bereich unterhalb des Gerätes herausgezogen werden.
• Bitte beachten Sie, dass die vorhandene Netzspan-
nung mit der auf dem Typenschild übereinstimmt.
• Der vollständige Berührungsschutz muss durch den
Einbau sichergestellt sein.
• Achtung: Falschanschluss kann zur Zerstörung der
Leistungselektronik führen.
• Das Gerät ist nur für einen Festanschluss zugelassen.
Es darf nicht mit einem Schukostecker angeschlossen
werden.
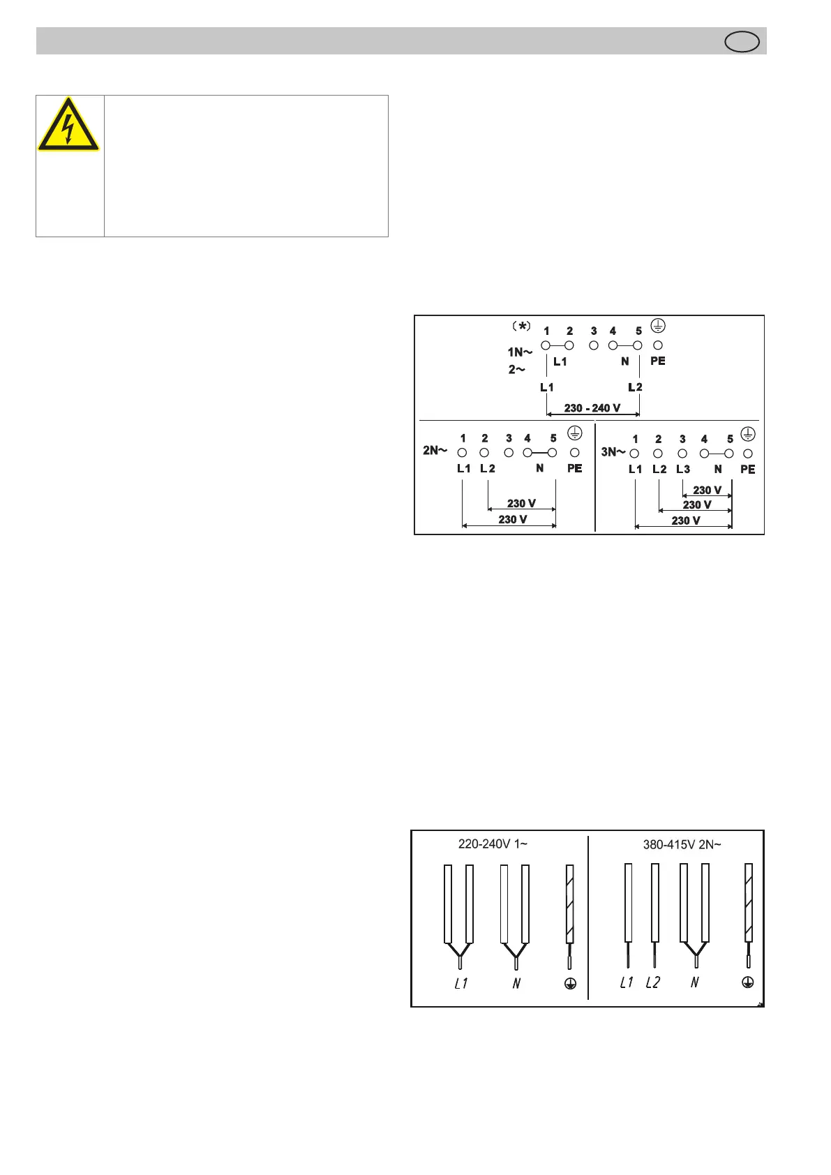
Anschlusswerte
Netzspannung: 380-415V 2N~, 50/60Hz
Komponentennennspannung: 220-240V
Keine Anschlussleitung werkseitig vorhanden
• Zum Anschluss muss der Deckel der Anschlussdose
auf der Geräteunterseite gelöst werden, um an die
Anschlussklemme zu gelangen. Nach dem Anschluss
muss der Deckel wieder befestigt und die Anschlusslei-
tung mit der Zugentlastungsschelle gesichert werden.
• Die Anschlussleitung muss mindestens dem Typ H05
RR-F entsprechen.
Anschlussmöglichkeiten: 6-poliger Anschluss
* Diese Anschlussvariante ist in der Schweiz durch den SEV nicht zugelassen.
Anschlussleitung werkseitig vorhanden
• Das Kochfeld ist werkseitig mit einer temperaturbestän-
digen Anschlussleitung ausgestattet.
• Der Netzanschluss wird gemäß dem Anschlussschema
vorgenommen, ausgenommen die Anschlussleitung ist
bereits mit einem Stecker ausgestattet.
• Wenn die Netzanschlussleitung dieses Gerätes be-
schädigt wird, muss sie durch eine besondere An-
schlussleitung ersetzt werden. Um Gefährdungen zu
vermeiden, darf dieses nur durch den Hersteller oder
seinen Kundendienst erfolgen.
Anschlussmöglichkeiten
schwarz
braun
blau
grün-gelb
blau
schwarz
braun
blau
grün-gelb
blau
Bekijk gratis de handleiding van Kuppersbusch KMI8350.0SR, stel vragen en lees de antwoorden op veelvoorkomende problemen, of gebruik onze assistent om sneller informatie in de handleiding te vinden of uitleg te krijgen over specifieke functies.
Productinformatie
Merk | Kuppersbusch |
Model | KMI8350.0SR |
Categorie | Fornuis |
Taal | Nederlands |
Grootte | 12573 MB |