Kuppersbusch KI9880.1SR handleiding
Handleiding
Je bekijkt pagina 9 van 184

DE
8
Installation
0RQWDJHPLW%HVWHFNVFKXEODGH
Wenn Sie unterhalb des Kochfeldes
eine Besteckschublade montieren
P|FKWHQPVVHQGLHEHLGHQ(OHPHQWH
durch eine Platte voneinander getrennt
werden. Auf diese Weise wird ein
ungewollter Kontakt mit der heißen
Oberfläche des Gerätegehäuses
vermieden.
Die Platte ist mit einem Abstand von
18 mm unterhalb des Kochfeldes zu
montieren.
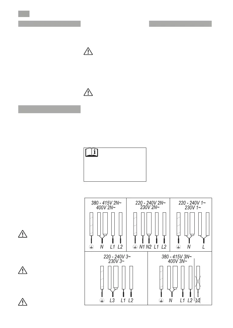
Elektrischer Anschluss
Bitte beachten Sie vor dem Netzans-
FKOXVVGHV.RFKIHOGHVGDVVGLHYRU
handene Netzspannung (Volt) und
die Frequenz mit denen auf dem
Typens-child übereinstimmen.
Der elektrische Anschluss muss über
einen für die angegebene Stromstärke
ausgelegten Leitungsschutzschalter
mit allpoliger Abschaltung und einer
Kontaktöffnung von mindestens 3
PPHUIROJHQGDPLWLP1RWIDOORGHUIU
die Reinigung des Kochfeldes eine
Unterbrechung der Stromversorgung
möglich ist.
Bringen Sie das Netzkabel so
DQGDVVHLQH%HUKUXQJPLWGHP
Gehäuse des Kochfeldes und/oder
mit dem evtl. vor-handenen Herd
ausgeschlossen ist.
Achtung!
Der elektrische Anschluss ist
mit einer korrekten Erdung nach
0DJDEHGHUJHOWHQGHQ%HVWLP
mungen vorzusehen. Andernfalls
NDQQHV]X)XQNWLRQVVW|UXQJHQ
des Kochfeldes kommen.
%HL6SDQQXQJHQGLHGHXWOLFK
EHUGHU1RUPDOVSDQQXQJOLHJHQ
N|QQHQZLHEHLDOOHQJlQJLJHQ
elektrischen Geräten
)XQNWLRQVVW|UXQJHQDXIWUHWHQ
Es wird empfohlen, das
Induktionskochfeld während der
Selbstreinigungsfunktion bei
VHOEVWUHLQLJHQGHQ%DFN|IHQQLFKW
zu ver wenden, da dieses Gerät
sich dabei sehr stark erhitzt.
Lassen Sie Eingriffe und
Reparaturen am Gerät, dazu
JHK|UWDXFKGDV$XVWDXVFKHQGHV
flexiblen Netzanschlusskabels,
ausschließlich vom autorisierten
Technischen Kundendienst von
.SSHUVEXVFKDXVIKUHQ
Vor dem Trennen der Span-
nungsversorgung des Geräts wird
empfohlen, den Hauptschalter
auszuschalten und vor dem
Herausziehen des Steckers ca. 23
Sekunden zu warten. Diese Zeit ist
erforderlich, damit sich der
elektrische Schaltkreis entladen
kann und verhindert, dass
(OHNWUL]LWlW EHU GLH
Steckerkontakte entladen wird.
%HZDKUHQ6LHGLH*DUDQWLH
bzw. das Datenblatt zusammen
PLWGHU*HEUDXFKVDQOHLWXQJEHU
die Lebensdauer des Gerätes
auf. Diese enthalten wichtige
technische Daten.
Über die Induktion
Vorteile
Bei einem Induktionskochfeld wird
die Wärme direkt auf die Pfanne
übertragen.
Dies hat mehrere Vorteile:
- Spart Zeit
- Spart Energie
/HLFKW]XUHLQLJHQGDGLH/HEHQVPLWWHO
mit der Glasplatte in Kontakt kommen
und daher nicht so schnell anbrennen
- Bessere Energiekontrolle Sobald
GLH%HGLHQHOHPHQWHEHWlWLJWZHUGHQ
wird die Energie auf die Pfanne
übertragen. Sobald die Pfanne von der
.RFKSODWWHZHJJHQRPPHQZLUGVWRSSW
zudem die Stromzufuhr. Ein vorheriges
Ausschalten der Stromversorgung ist
nicht erforderlich.
Pfannen
Nur ferromagnetische Pfannen
eignen sich für die Benutzung eines
Induktionskochfeldes.
Es gibt verschiedene Arten:
3IDQQHQ DXV *XVVHLVHQ
emailliertem Stahl und Edelstahl
eigens zur Verwendung mit
Induktionskochfeldern.
Nicht empfohlen ist die Verwendung
YRQ'LႇXVRUSODWWHQRGHU0DWHULDOLHQ
ZLH)HLQVWDKO$OXPLQLXP*ODV.XSIHU
oder Ton.
$EED.$%(/
Gelb-grün
Blau
blau(grau)
braun
schwarz
L3 NICHT VERWENDEN
Gelb-grün
Blau
blau(grau)
braun
schwarz
Gelb-grün
Blau
blau(grau)
braun
schwarz
Gelb-grün
Blau
blau(grau)
braun
schwarz
Gelb-grün
Blau
blau(grau)
braun
schwarz
Bekijk gratis de handleiding van Kuppersbusch KI9880.1SR, stel vragen en lees de antwoorden op veelvoorkomende problemen, of gebruik onze assistent om sneller informatie in de handleiding te vinden of uitleg te krijgen over specifieke functies.
Productinformatie
Merk | Kuppersbusch |
Model | KI9880.1SR |
Categorie | Fornuis |
Taal | Nederlands |
Grootte | 30603 MB |