Kuppersbusch KI9550.0SR handleiding
Handleiding
Je bekijkt pagina 9 van 140

DE
8
unbemerkt ein
anderes Kochges-
chirrs auf das ver-
wendete Kochfeld
g e s t e l l t w i r d .
Vermeiden Sie
P|JOLFKH8QIlOOH
Installation
0RQWDJHPLW%HVWHFNVFKXEODGH
Wenn Sie unterhalb des Kochfeldes
eine Besteckschublade montieren
P|FKWHQPVVHQGLHEHLGHQ(OHPHQ
te durch eine Platte voneinander
getrennt werden. Auf diese Weise wird
ein ungewollter Kontakt mit der heißen
Oberfläche des Gerätegehäuses
vermieden.
Die Platte ist mit einem Abstand von
18 mm unterhalb des Kochfeldes zu
montieren.
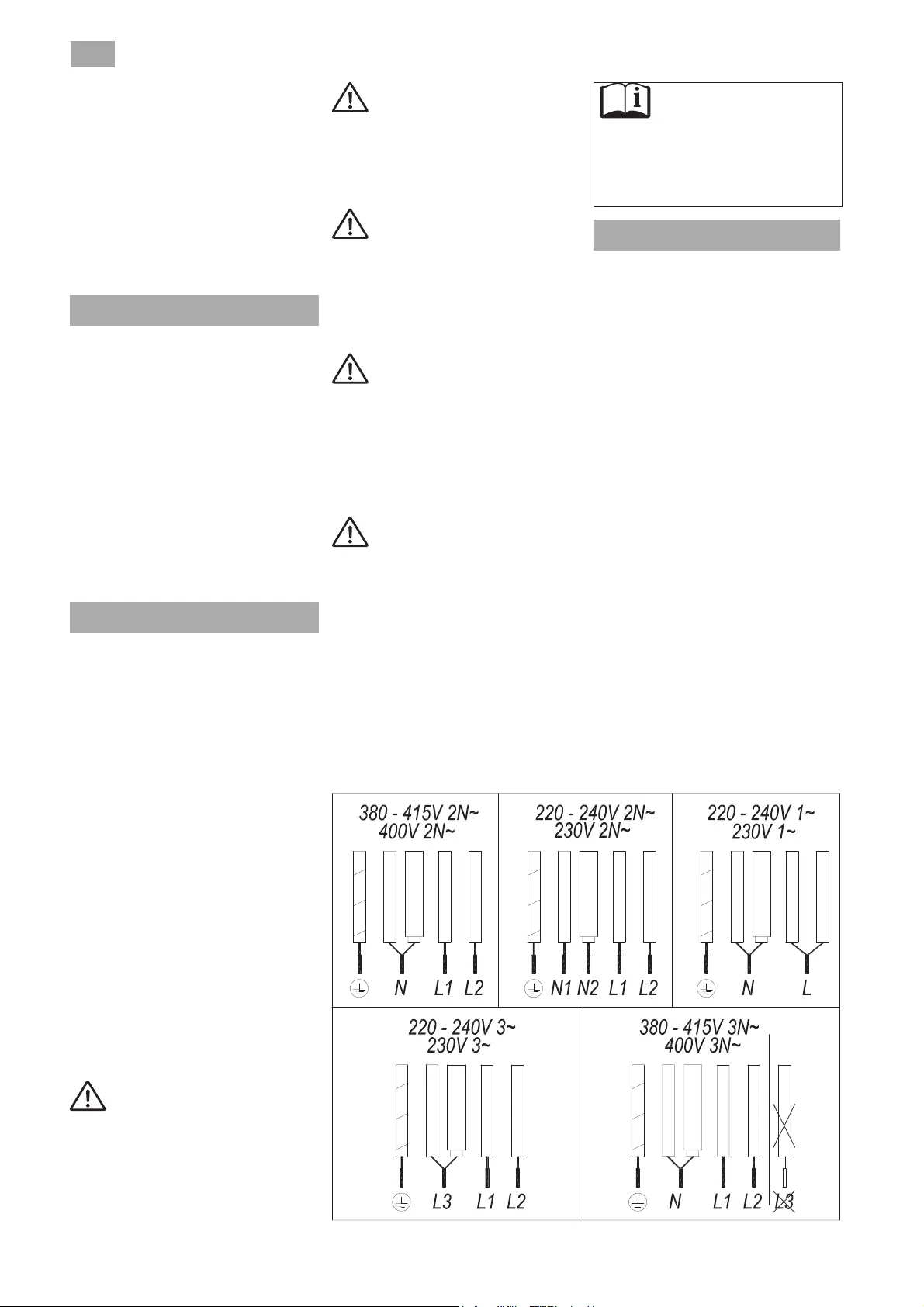
Elektrischer Anschluss
Bitte beachten Sie vor dem Netzans-
FKOXVVGHV.RFKIHOGHVGDVVGLHYRU
handene Netzspannung (Volt) und die
Frequenz mit denen auf dem Typens-
child übereinstimmen.
Der elektrische Anschluss muss über
einen für die angegebene Stromstärke
ausgelegten Leitungsschutzschalter
mit allpoliger Abschaltung und einer
Kontaktöffnung von mindestens 3
PPHUIROJHQGDPLWLP1RWIDOORGHUIU
die Reinigung des Kochfeldes eine
Unter-brechung der Stromversorgung
möglich ist.
%ULQJHQ6LHGDV1HW]NDEHOVRDQGDVV
eine Berührung mit dem Gehäuse des
Kochfeldes und/oder mit dem evtl. vor-
handenen Herd ausgeschlossen ist.
Achtung!
Der elektrische Anschluss ist
mit einer korrekten Erdung nach
0DJDEH GHU JHOWHQGHQ %HVWLP
mungen vorzusehen. Andernfalls
NDQQHV]X)XQNWLRQVVW|UXQJHQGHV
Kochfeldes kommen.
%HL6SDQQXQJHQGLHGHXWOLFK
EHUGHU1RUPDOVSDQQXQJOLHJHQ
N|QQHQZLHEHLDOOHQJlQJLJHQHOHN
WULVFKHQ*HUlWHQ)XQNWLRQVVW|UXQ
gen auftreten.
Es wird empfohlen, das
Induktionskochfeld während der
Selbstreinigungsfunktion bei selbs-
WUHLQLJHQGHQ%DFN|IHQQLFKW]XYHU
wenden, da dieses Gerät sich dabei
sehr stark erhitzt.
Lassen Sie Eingriffe und
5HSDUDWXUHQDP*HUlWGD]XJHK|UW
DXFKGDV$XVWDXVFKHQGHVÀH[LEOHQ
N e t z a n s c h l u s s k a b e l s ,
ausschließlich vom autorisierten
Technischen Kun-dendienst von
.SSHUVEXVFKDXVIKUHQ
Vor dem Trennen der Span-
nungsversorgung des Geräts wird
empfohlen, den Hauptschalter aus-
zuschalten und vor dem Herauszie-
hen des Steckers ca. 23 Sekunden
zu warten. Diese Zeit ist erforderlich,
da mit si ch der elekt risch e
Schaltkreis entladen kann und
YHUKLQGHUW GDVV (OHNWUL]LWlW EHU
die Steckerkontakte entladen wird.
%HZDKUHQ6LHGLH*DUDQWLH
bzw. das Datenblatt zusammen
PLWGHU*HEUDXFKVDQOHLWXQJEHU
die Lebensdauer des Gerätes
auf. Diese enthalten wichtige
technische Daten.
Über die Induktion
Vorteile
Bei einem Induktionskochfeld wird
die Wärme direkt auf die Pfanne
übertragen.
Dies hat mehrere Vorteile:
- Spart Zeit
- Spart Energie
/HLFKW]XUHLQLJHQGDGLH/HEHQVPLWWHO
mit der Glasplatte in Kontakt kommen
und daher nicht so schnell anbrennen
- Bessere Energiekontrolle Sobald die
%HGLHQHOHPHQWHEHWlWLJWZHUGHQZLUG
die Energie auf die Pfanne übertragen.
Sobald die Pfanne von der Kochplatte
ZHJJHQRPPHQ ZLUG VWRSSW ]XGHP
die Stromzufuhr. Ein vorheriges
Ausschalten der Stromversorgung ist
nicht erforderlich.
Pfannen
Nur ferromagnetische Pfannen
eignen sich für die Benutzung eines
Induktionskochfeldes.
Es gibt verschiedene Arten:
3 I D Q Q H Q D X V * X V V H L V H Q
emailliertem Stahl und Edelstahl
Gelb-grün
Blau
blau(grau)
braun
schwarz
L3 NICHT VERWENDEN
Gelb-grün
Blau
blau(grau)
braun
schwarz
Gelb-grün
Blau
blau(grau)
braun
schwarz
Gelb-grün
Blau
blau(grau)
braun
schwarz
Gelb-grün
Blau
blau(grau)
braun
schwarz
$EED.$%(/
Bekijk gratis de handleiding van Kuppersbusch KI9550.0SR, stel vragen en lees de antwoorden op veelvoorkomende problemen, of gebruik onze assistent om sneller informatie in de handleiding te vinden of uitleg te krijgen over specifieke functies.
Productinformatie
Merk | Kuppersbusch |
Model | KI9550.0SR |
Categorie | Fornuis |
Taal | Nederlands |
Grootte | 32035 MB |