Kuppersbusch KI9550.0SR handleiding
Handleiding
Je bekijkt pagina 21 van 140

ES
20
se colocara otro
recipiente sobre
ella durante el
perido de detección
de recipiente. ¡Evite
p o s i b l e s
accidentes!
Si el cable de ali-
mentación está
dañado, debe ser
sustituido por el
fabricante, por su
servicio posventa o
SRUSHUVRQDOFXDOL¿
cado similar con el
¿QGHHYLWDUXQSHOL
gro.
PRECAUCIÓN:
Utilizar sólo protec-
tores de encimera
diseñados por el
fa bri can te de l
aparato de cocción
o indicados por el
fabricante en las
instrucciones para
e l u s o c o m o
a d e c u a d o o
protectores de
e n c i m e r a
incorporados en el
aparato. El uso de
p r o t e c t o r e s
inadecuados puede
causar accidentes.
Es necesario
permitir la descone-
xión del aparato
después de la
instalación. Deben
ser i n c o r p o r a-
d o s medios de
desconexión a la
LQVWDODFLyQ¿MDGH
acuerdo con las
reglamentaciones
de instalación.
Instalación
Emplazamiento con cajón cubertero
Si desea disponer de un mueble o
cajón cubertero bajo la encimera de
FRFFLyQVHGHEHUiFRORFDUXQDWDEOD
de separación entre ambos. De esta
forma se previenen los contactos acci-
GHQWDOHVFRQODVXSHU¿FLHFDOLHQWHGH
la carcasa del aparato.
/DWDEODGHEHUiHVWDUVLWXDGDDXQD
distancia de 18 mm. por debajo de la
parte inferior de la encimera.
Conexión eléctrica
Antes de conectar la encimera de coc-
FLyQDODUHGHOpFWULFDFRPSUXHEHTXH
la tensión (voltaje) y la frecuencia de
aquella corresponden con las indica-
das en la placa de características de la
HQFLPHUDVLWXDGDHQVXSDUWHLQIHULRU
\HQOD+RMDGH*DUDQWtDRHQVXFDVR
la hoja de datos técnicos que debe
conservar junto a este manual durante
la vida útil del aparato.
Evite que el cable de entrada quede
HQFRQWDFWRWDQWRFRQODFDUFDVDGH
HQFLPHUDFRPRFRQODGHOKRUQRVL
éste va instalado en el mismo mueble.
¡Atención!
La conexión eléctrica debe
realizarse con una correcta toma de
tierra, siguiendo la normativa vigen-
te, de no ser así, la encimera puede
tener fallos de funcionamiento.
Sobretensiones anormalmen-
te altas pueden provocar la avería
del sistema de control (como ocurre
con cualquier tipo de aparato eléc-
trico).
Se aconseja no utilizar la
cocina de inducción durante la fun-
ción de limpieza pirolítica, en el
caso de hornos pirolíticos instala-
dos bajo ella, debido a la alta tempe-
ratura que alcanza este aparato.
Cualquier manipulación o
reparación del aparato, incluida la
VXVWLWXFLyQGHOFDEOHÀH[LEOHGHDOL
mentación, deberá ser realizada por
el servicio técnico oficial de
.SSHUVEXVFK
Antes de desconectar el apa-
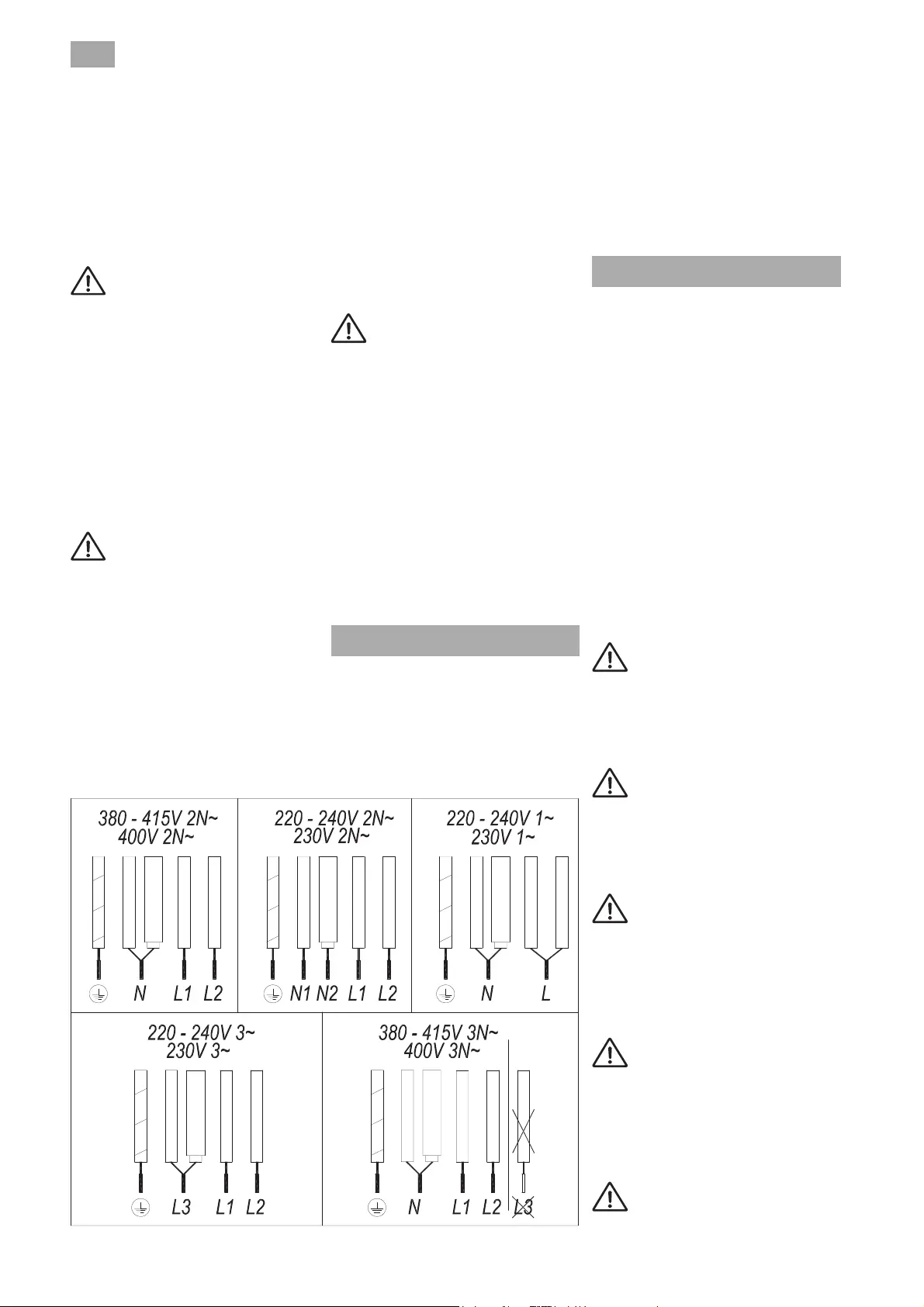
Fig. 2a (5 HILOS)
amarillo - verde
azul
azul (gris)
marrón
negro
amarillo - verde
azul
azul (gris)
marrón
negro
amarillo - verde
azul
azul (gris)
marrón
negro
amarillo - verde
azul
azul (gris)
marrón
negro
amarillo - verde
azul
azul (gris)
marrón
negro
NO USAR L3
Bekijk gratis de handleiding van Kuppersbusch KI9550.0SR, stel vragen en lees de antwoorden op veelvoorkomende problemen, of gebruik onze assistent om sneller informatie in de handleiding te vinden of uitleg te krijgen over specifieke functies.
Productinformatie
Merk | Kuppersbusch |
Model | KI9550.0SR |
Categorie | Fornuis |
Taal | Nederlands |
Grootte | 32035 MB |