Kuppersbusch KI6880.1SR handleiding
Handleiding
Je bekijkt pagina 67 van 184

FR
66
la plaque par
exemple en plaçant
par inadvertance
un autre récipient
dessus alors qu’elle
se trouveen période
de détection d’un
récipient. Vous
éviterez ainsi des
accidents!
Si le câble flexible
d’alimentation
est endommagé, il
doit être remplacé
par le fabricant, son
service aprèsvente
ou des personnes
qualifiées afin
d’éviter des
risques.
ATTENTION :
Utilisez
uniquement des
protecteurs pour la
plaque de cuisson
conçus par le fabri-
cant de l’appareil
de cuisson ou
indiquée par le
fabricant dans la
notice d’utilisation
comme appropriée
ou protecteurs de
la table de cuisson
incorporés dans
l ‘ a p p a r e i l .
L’utilisation de pro-
tecteurs inadéquats
peut causer des
accidents.
Il est nécessaire
de permettre la
déconnexion de
l’appareil après son
installation. Des
moyens de
déconnexion
doivent être
LQWpJUpVjO¶LQVWDOOD
WLRQ¿[HVHORQOHV
règles
d’installation.
Installation
(PSODFHPHQWDYHFWLURLUjFRXYHUWV
6LYRXVVRXKDLWH]SUR¿WHUG¶XQPHXEOH
ou d’un tiroir à couverts endessous de
ODSODTXHGHFXLVVRQYRXVGHYUHUSOD
cer une planche de séparation entre
les deux. Vous éviterez ainsi les con-
WDFWVIRUWXLWVDYHFODVXSHU¿FLHFKDXGH
de l’armature de l’appareil.
/DSODQFKH GHYUD rWUHSODFpH j XQH
distance de 18 mm endessous de la
partie inférieure de la plaque.
%UDQFKHPHQW
électrique
Avant de connecter la plaque de cuis-
VRQDXUpVHDXpOHFWULTXHYHXLOOH]YpUL
¿HUTXHVDWHQVLRQOHYROWDJHHWVD
fréquence correspondent à celles indi-
TXpHVVXU OD SODTXHG¶LGHQWL¿FDWLRQ
de la plaque de cuisson située dans
VDSDUWLH LQIpULHXUH DLQVLTXH VXU OD
*DUDQWLHRX ELHQ OHFDV pFKpDQW
VXUOD ¿FKH GHGRQQpHV WHFKQLTXHV
que vous devez conserver avec ce
manuel pendant toute la durée de vie
de l’appareil.
Faites en sorte que le câble d’entrée
QHUHVWH SDV HQFRQWDFW DXVVL ELHQ
avec l’armature de la plaque qu’avec
FHOOHGXIRXUVLFHOXLFLHVWLQVWDOOpGDQV
OHPrPHPHXEOH
Attention !
Le branchement électrique
GHYUDrWUHHႇHFWXpDYHFXQHSULVH
de terre idoine, respectant les
normes en vigueur, dans le cas
contraire, la plaque peut ne pas
fonctionner correctement.
Des surtensions anormale-
ment élevées peuvent provoquer
une panne ou endommager le
système de contrôle (comme pour
tout appareil électrique).
Nous conseillons de ne
SDVXWLOLVHU OD SODTXHj LQGXFWLRQ
pendant le fonctionnement du
QHWWR\DJHGHV IRXUV jS\UROLVH j
cause des hautes températures que
ces appareils atteignent.
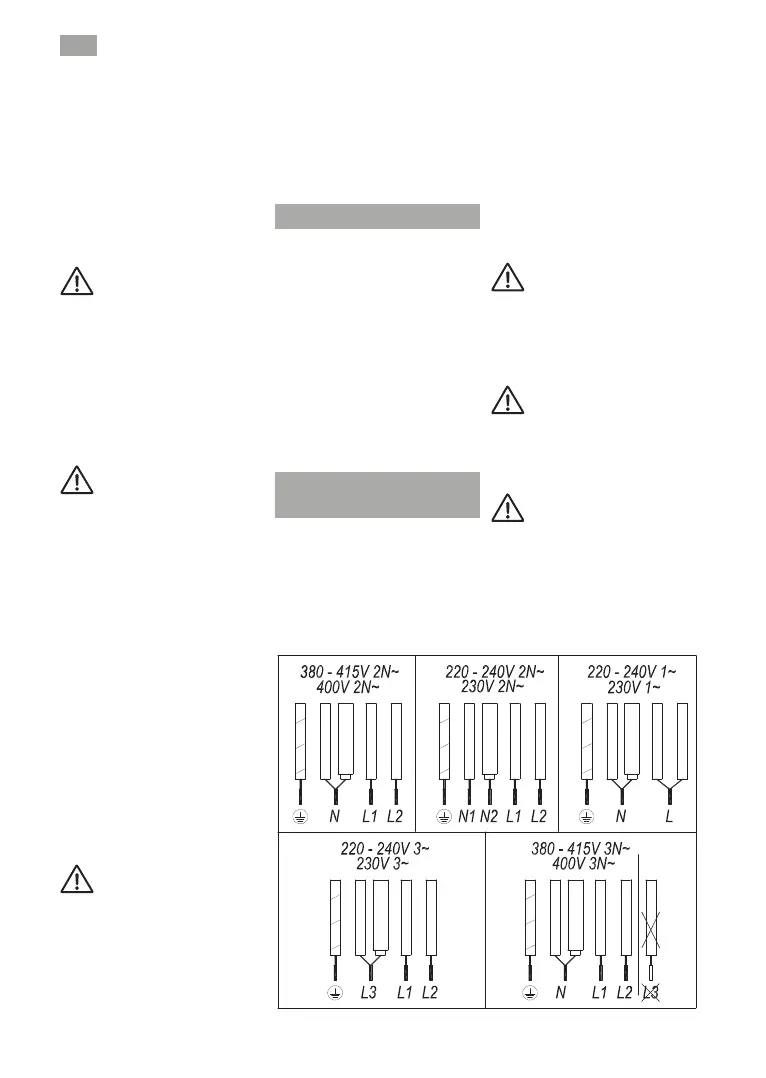
Fig.2a (5 FILS)
jaune - vert
NE PAS UTILISER L3
bleu
bleu(gris)
marron
noir
jaune - vert
bleu
bleu(gris)
marron
noir
jaune - vert
bleu
bleu(gris)
marron
noir
jaune - vert
bleu
bleu(gris)
marron
noir
jaune - vert
bleu
bleu(gris)
marron
noir
Bekijk gratis de handleiding van Kuppersbusch KI6880.1SR, stel vragen en lees de antwoorden op veelvoorkomende problemen, of gebruik onze assistent om sneller informatie in de handleiding te vinden of uitleg te krijgen over specifieke functies.
Productinformatie
| Merk | Kuppersbusch |
| Model | KI6880.1SR |
| Categorie | Fornuis |
| Taal | Nederlands |
| Grootte | 30603 MB |







