Kuppersbusch KI6130.0SE handleiding
Handleiding
Je bekijkt pagina 23 van 84

ES
22
S O D F D V L
LQDGYHUWLGDPHQWH
VH FRORFDUD RWUR
UHFLSLHQWH VREUH
HOOD GXUDQWH HO
SHULGRGHGHWHFFLyQ
GHUHFLSLHQWH£(YLWH
S R V L E O H V
DFFLGHQWHV
6LHOFDEOHGHDOL
PHQWDFLyQ HVWi
GDxDGR GHEH VHU
VXVWLWXLGR SRU HO
IDEULFDQWHSRUVX
VHUYLFLRSRVYHQWDR
SRUSHUVRQDOFXDOL¿
FDGRVLPLODUFRQHO
¿QGHHYLWDUXQSHOL
JUR
35(&$8&,Ï1
8WLOL]DUVyORSURWHF
WRUHVGHHQFLPHUD
GLVHxDGRV SRU HO
ID EU L F D Q W H G HO
DSDUDWRGHFRFFLyQ
RLQGLFDGRVSRUHO
IDEULFDQWH HQ ODV
LQVWUXFFLRQHVSDUD
H O X V R F R P R
D G H F X D G R R
SURWHFWRUHV GH
H Q F L P H U D
LQFRUSRUDGRVHQHO
DSDUDWR(OXVRGH
p r o t e c t o r e s
LQDGHFXDGRVSXHGH
FDXVDUDFFLGHQWHV
Es necesario
SHUPLWLUODGHVFRQH
[LyQ GHO DSDUDWR
GHVSXpV GH OD
LQVWDODFLyQ'HEHQ
ser i n c o r p o r a-
G R V PHGLRV GH
GHVFRQH[LyQ D OD
LQVWDODFLyQ¿MDGH
DFXHUGR FRQ ODV
UHJODPHQWDFLRQHV
GHLQVWDODFLyQ
,QVWDODFLyQ
(PSOD]DPLHQWRFRQFDMyQFXEHUWHUR
Si desea disponer de un mueble o
cajón cubertero bajo la encimera de
FRFFLyQVHGHEHUiFRORFDUXQDWDEOD
de separación entre ambos. De esta
forma se previenen los contactos acci-
GHQWDOHVFRQODVXSHU¿FLHFDOLHQWHGHOD
carcasa del aparato.
/DWDEODGHEHUiHVWDUVLWXDGDDXQD
distancia de 20 mm. por debajo de la
parte inferior de la encimera.
&RQH[LyQHOpFWULFD
Antes de conectar la encimera de coc-
FLyQDODUHGHOpFWULFDFRPSUXHEHTXH
la tensión (voltaje) y la frecuencia de
aquella corresponden con las indica-
das en la placa de características
GHODHQFLPHUDVLWXDGDHQVXSDUWH
LQIHULRU\HQOD+RMDGH*DUDQWtDRHQ
VXFDVRODKRMDGHGDWRVWpFQLFRVTXH
debe conservar junto a este manual
durante la vida útil del aparato.
Evite que el cable de entrada quede
HQFRQWDFWRWDQWRFRQODFDUFDVDGH
HQFLPHUDFRPRFRQOD GHOKRUQRVL
éste va instalado en el mismo mueble.
£$WHQFLyQ
/D FRQH[LyQ HOpFWULFD GHEH
UHDOL]DUVH FRQ XQD FRUUHFWD WRPD
GH WLHUUD VLJXLHQGR OD QRUPDWLYD
YLJHQWHGHQRVHUDVtODHQFLPHUD
S X H G H W H Q H U I D O O R V G H
IXQFLRQDPLHQWR
6REUHWHQVLRQHVDQRUPDOPHQ
WHDOWDVSXHGHQSURYRFDUODDYHUtD
GHO VLVWHPD GH FRQWURO FRPR
RFXUUH FRQ FXDOTXLHU WLSR GH
DSDUDWRHOpFWULFR
6H DFRQVHMD QR XWLOL]DU OD
FRFLQD GH LQGXFFLyQ GXUDQWH OD
IXQFLyQGHOLPSLH]DSLUROtWLFDHQHO
FDVR GH KRUQRV SLUROt WL FR V
LQVWDODGRVEDMRHOODGHELGRDODDOWD
WHPSHUDWXUD TXH DOFDQ]D HVWH
aparato.
&XDOTXLHU PDQLSXODFLyQ R
UHSDUDFLyQGHODSDUDWRLQFOXLGDOD
VXVWLWXFLyQ GHO FDEOH ÀH[LEOH GH
DOLPHQWDFLyQGHEHUiVHUUHDOL]DGD
SRU HO VHUYLFLR WpFQLFR R¿FLDO GH
.SSHUVEXVFK
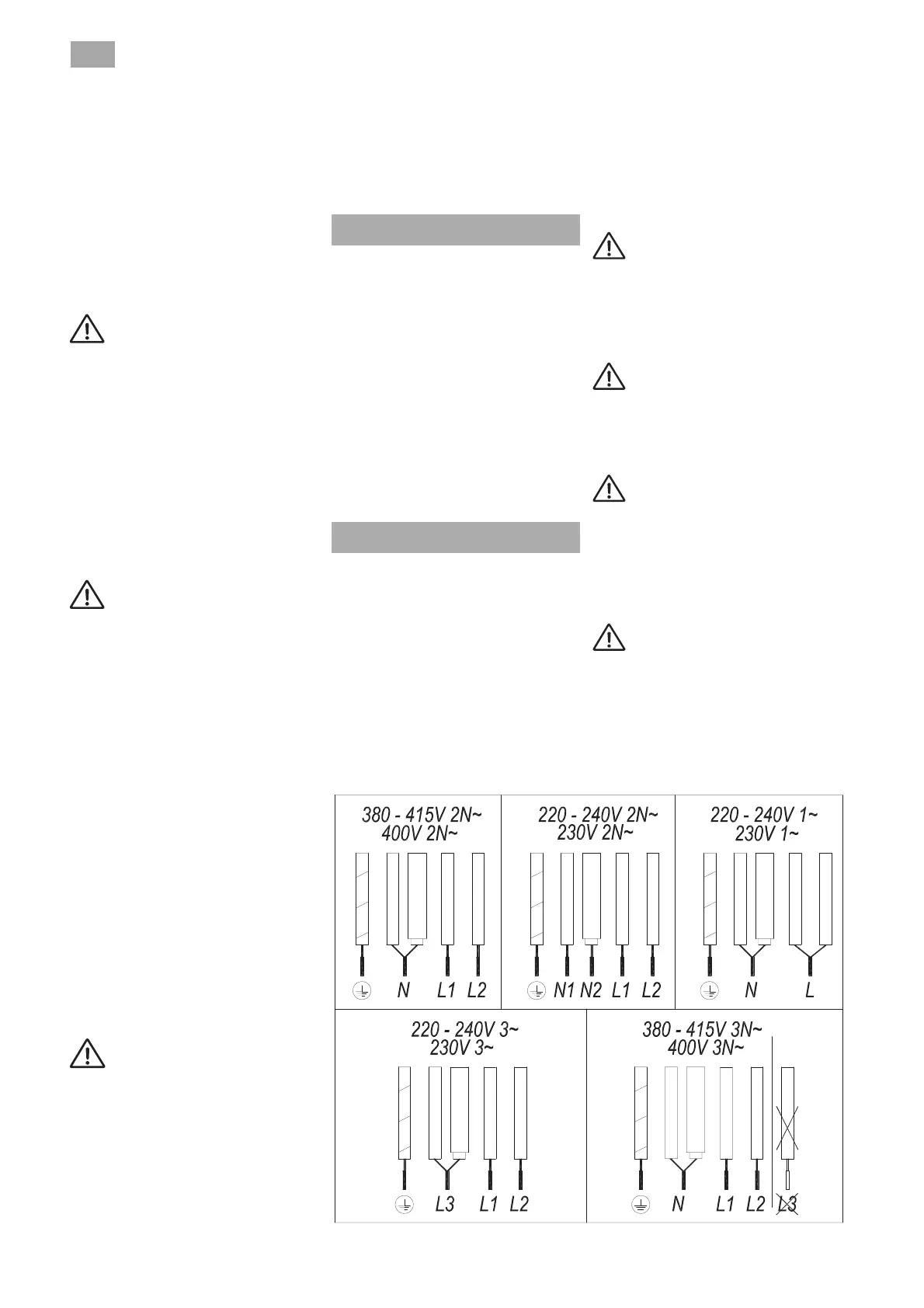
)LJ
amarillo - verde
azul
azul (gris)
marrón
negro
amarillo - verde
azul
azul (gris)
marrón
negro
amarillo - verde
azul
azul (gris)
marrón
negro
amarillo - verde
azul
azul (gris)
marrón
negro
amarillo - verde
azul
azul (gris)
marrón
negro
NO USAR L3
Bekijk gratis de handleiding van Kuppersbusch KI6130.0SE, stel vragen en lees de antwoorden op veelvoorkomende problemen, of gebruik onze assistent om sneller informatie in de handleiding te vinden of uitleg te krijgen over specifieke functies.
Productinformatie
Merk | Kuppersbusch |
Model | KI6130.0SE |
Categorie | Fornuis |
Taal | Nederlands |
Grootte | 19085 MB |