Kuppersbusch KI 9870.0SR handleiding
Handleiding
Je bekijkt pagina 84 van 156

PL
83
XĪ\ZDQLD RGáąF]
] D Z V ] H S á \ W Ċ
JU]HZF]ą QLH
wystarczy jedynie
RGVXQąüQDF]\QLD
W przeciwnym razie
PRJáRE\GRMĞüGR
QLH SRĪąGD QHJR
ZáąF]HQLD Sá\W\
gdy zostanie na
niej ustawione
przypadkowo inne
naczynie podczas
okresu wykry w
ania naczynia.
8QLNDM PRĪOLZ\FK
wypadków!
Instalacja
8PLHV]F]HQLHSá\W\QDGV]XÀDGą
QDV]WXüFH
-HĞOL XĪ\WNRZQLN Ī\F]\ VRELH
XPLHV]F]HQLH SRG Sá\Wą JU]HZF]ą
PHEOD OXE V]XIODG\ SRPLĊG]\
RERPDHOHPHQWDPLQDOHĪ\XPLHĞFLü
Sá\WĊ RGG]LHODMąFą : WHQ VSRVyE
]RVWDQLH Z\HOLPLQRZDQDPRĪOLZRĞü
SU]\SDGNRZHJR NRQWDNWX ] JRUąFą
SRZLHU]FKQLąREXGRZ\XU]ąG]HQLD
3á\ W D RGG] L H O D M ąFD S R ZLQQ D
]QDMGRZDüVLĊRNRáRPPSRQLĪHM
GROQHMF]ĊĞFLSá\W\JU]HZF]HM
3U]\áąF]HQLHGRLQVWDODFML
elektrycznej
3U]HGSRGáąF]HQLHPSá\W\JU]HZF]HM
GR VLHFL HOHNWU\F]QHM QDOHĪ\
VSUDZG]Lü F]\ QDSLĊFLH ZROWDĪ
L MHJR F]ĊVWRWOLZRĞü RGSRZLDGDMą
tym wska- zanym na tabliczce
LQIRUPDF\MQHM Sá\W\]QDMGXMąFHMVLĊ
ZMHMGROQHMF]ĊĞFLRUD]LQIRUPDFMRP
zawartym w Karcie gwarancyjnej
OXEMHĞOLGRW\F]\QDNDUFLHGDQ\FK
WHFKQLF]Q\FKNWyUD SRZLQQD]RVWDü
przechowywana wraz z niniejszymi
LQVWUXNFMDPLSU]H]RNUHVXĪ\WNRZDQLD
XU]ąG]HQLD
3U]\áąF]HQLHGRLQVWDODFMLHOHNWU\F]QHM
SRZLQQR ]RVWDü Z\NRQDQH ]D
SRĞUHGQLFWZHP ZLHORELHJXQRZHJR
Z\áąF]QLND OXE JQLD]GD R LOH MHVW
RQR áDWZRGRVWĊSQH RGSRZLHGQLFK
GOD SU]HZLG]LDQHJR QDSL ĊFLD
L R RGOHJáRĞFL SRPLĊG]\ VW\NDPL
roboczymi minimum
PP FR]DJZDUDQWXMH EH]SLHF]QH
RGáąF]HQLHZSU]\SDGNXDZDULL
OXEF]\V]F]HQLDSá\W\
1DOHĪ\XZDĪDüE\NDEHOZHMĞFLRZ\
QLH GRW\NDá DQLREXGRZ\ Sá\W\DQL
REXGRZ\ SLHNDUQLND MHĞOL WHQ MHVW
zainstalowany w tym samym meblu.
Uwaga!
3U]\áąF]HQLH GR VLHFL
HOHNWU\F]QHM SRZLQQR ]DZLHUDü
poprawnie wykonane uziemienie,
]J R GQLH ] RE R ZLą] X MąF \ PL
pr z e pi s am i , w p r z ec i wn y m
Z\SDGNX Sá\WD PRĪH QLH G]LDáDü
poprawnie.
:\MąWNRZH Z \ V R N L H
SU]HSLĊFLD PRJą VSRZRGRZDü
DZDULĊV\VWHPXVWHURZDQLDMDNZ
przypadku jakiegokolwiek innego
XU]ąG]HQLDHOHNWURQLF]QHJR
1LH ]DOHFD VLĊ XĪ\ZDQLD
kuchni indukcyjnej w czasie
G]LDáDQLD IXQNFML F]\V]F]HQLD
pirolitycznego w przypadku
piekarników pirolitycznych ze
Z]JOĊGXQDZ\VRNąWHPSHUDWXUĊ
MDNąRVLąJDWRXU]ąG]HQLH
Jakakolwiek manipulacja
F]\ U H S D U D F M D X U ] ą G ] H Q L D
ZáąF]DMąFZ\PLDQĊHODVW\F]QHJR
NDEOD]DVLODMąFHJRSRZLQQD]RVWDü
doko- nana przez autoryzowany
VHUZLVWHFKQLF]Q\.SSHUVEXVFK
3U]HG RGáąF]HQLHPNXFKQL
RG VLHFL HOHNWU\F]QHM ]DOHFD VLĊ
Z\áąF]\üZ\áąF]QLNLRGF]HNDü
R N R á R V H N X Q G S U ] H G
Z\FLąJQLĊFLHP ZW\F]NL 7HQF]DV
MHVW NRQLHF]Q\ GOD FDáNRZLWHJR
U R ] á D G R Z D Q L D R E Z R G X
HOHNWURQLF]QHJR L XQLNQLĊFLD
PRĪOLZRĞFL SRUDĪHQLD SUąGHP
HOHNWU\F]Q\P SRSU]H] GRWNQLĊFLH
bolców wtyczki
1DOHĪ\]DFKRZDü&HUW\¿NDW
JZDUDQF\MQ\ OXE MHĞOL GRW\F]\
NDUWĊ GDQ\FK WHFKQLF]Q\FKZUD]
] ,QVWUXNFMą REVáXJL SU]H]RNUHV
XĪ\WNRZDQLDXU]ąG]HQLD=DZDUWHVą
ZQLPMHJRZDĪQHGDQHWHFKQLF]QH
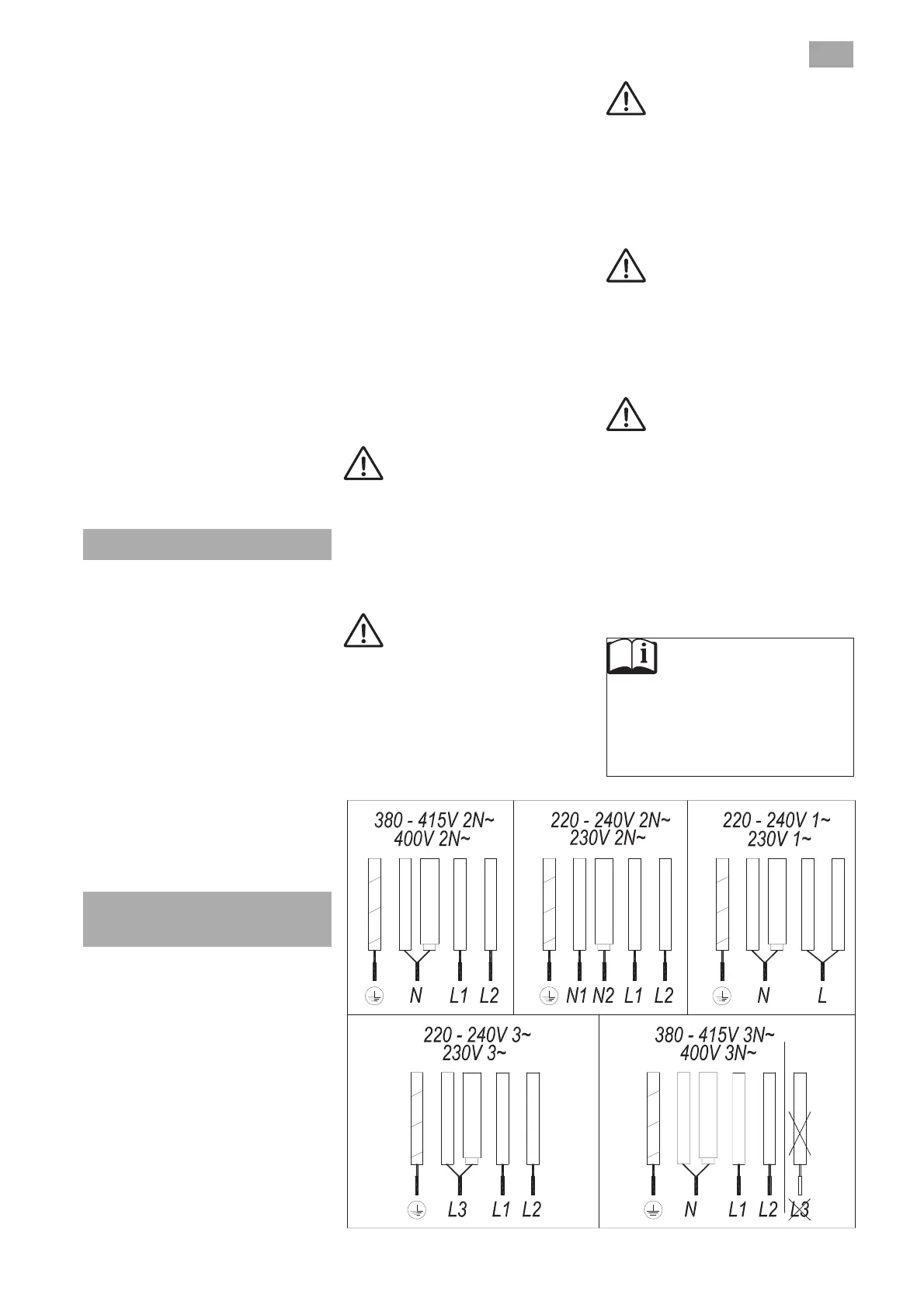
Rys. 2a (5 PRZEWODÓW)
ĪyáW\]LHORQR
niebieski
niebieski(szary)
EUą]RZ\
czarny
ĪyáW\]LHORQR
niebieski
niebieski(szary)
EUą]RZ\
czarny
ĪyáW\]LHORQR
niebieski
niebieski(szary)
EUą]RZ\
czarny
ĪyáW\]LHORQR
niebieski
niebieski(szary)
EUą]RZ\
czarny
ĪyáW\]LHORQR
1,(8ĩ<:$û/
niebieski
niebieski(szary)
EUą]RZ\
czarny
Bekijk gratis de handleiding van Kuppersbusch KI 9870.0SR, stel vragen en lees de antwoorden op veelvoorkomende problemen, of gebruik onze assistent om sneller informatie in de handleiding te vinden of uitleg te krijgen over specifieke functies.
Productinformatie
| Merk | Kuppersbusch |
| Model | KI 9870.0SR |
| Categorie | Fornuis |
| Taal | Nederlands |
| Grootte | 34580 MB |







