Kuppersbusch KI 9870.0SR handleiding
Handleiding
Je bekijkt pagina 35 van 156

PT
34
Evite possíveis
acidentes!
Instalação
Colocação com gaveta para
talheres
Se desejar instalar móveis ou uma
gaveta para talheres por baixo da
SODFDGHYHVHUFRORFDGDXPDWiEXD
de separação entre as duas. Desta
IRUPDpHYLWDGRRFRQWDFWRDFLGHQWDO
com a superfície quente do encaixe
do dispositivo.
$ WiEXD GHYH VHU FRORFDGD PP
abaixo da parte inferior da placa.
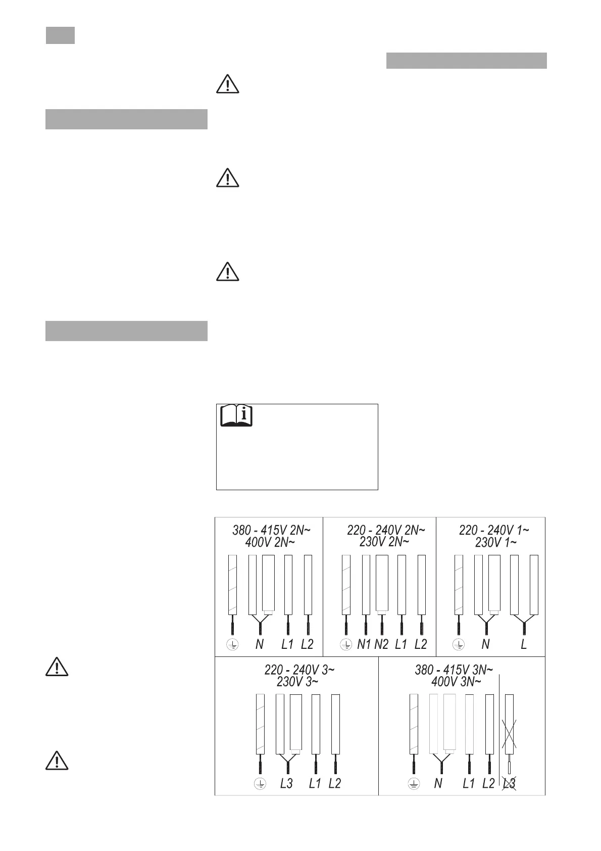
Ligação eléctrica
$QWHVGHOLJDUDSODFDjUHGHHOpFWULFD
YHUL¿TXHVHDWHQVmRHDIUHTXrQFLD
FRUUHVSRQGHP jV HVSHFL¿FDGDV QD
SODFDGHLGHQWL¿FDomRGRSURGXWRTXH
VHHQFRQWUDSRUEDL[RGRPHVPRH
QDIROKDGDJDUDQWLDRXQD¿FKDGH
GDGRVWpFQLFRVDSOLFiYHOTXHWHPGH
ser guardada juntamente com este
PDQXDOGXUDQWHDYLGD~WLOGDSODFD
$OLJDomRHOpFWULFDVHUiIHLWDDWUDYpV
GHXPLQWHUUXSWRURPQLSRODURXFDYLOKD
GHVGHTXHVHMDDFHVVtYHOGHDFRUGR
com a corrente e com uma distância
mínima entre os contactos de 3 mm.
Isto garante que o circuito é desligado
HP FDVR GH HPHUJrQFLD H SHUPLWH
DOLPSH]DGD SODFD&HUWL¿TXHVHGH
que o cabo de alimentação não entra
em contacto com o armazenamento
da placa ou com o armazenamento
GRIRUQRFDVRHVWHMDPLQVWDODGRVQD
mesma unidade.
Atenção:
A ligação eléctrica tem de ser
FRUUHFWDPHQWH OLJDGD j WHUUD
seguindo os regulamentos adequa-
GRVFDVRFRQWUiULRSRGHRFRUUHU
um funcionamento incorrecto da
placa.
Picos de tensão anormalmen-
te altos podem avariar o sistema
de controlo (como com qualquer
tipo de aparelho eléctrico).
Recomendase que a placa de
indução não seja utilizada durante
a função de limpeza pirolítica no
caso de fornos pirolíticos, devido
j HOHYDGD WHPSHUDWXUD TXH HVWH
aparelho atinge.
Apenas o Serviço de assis-
t ê n c i a t é c n i c a o f i c i a l d a
.SSHUVEXVFK HVWiDXWRUL]DGR D
manusear ou reparar o aparelho,
incluindo substituir o cabo de
alimentação.
Antes de desligar a placa da
rede eléctrica, recomendase que
desligue o interruptor de corte e
aguarde aproximadamente 23
VHJXQGRVDQWHVGHUHWLUDUD¿FKD(VWH
WHPSRpQHFHVViULRSDUDGHVFDUUHJDU
totalmente o circuito electrónico e,
assim, evitar a possibilidade de uma
descarga eléctrica através dos
FRQWDFWRVGD¿FKD
Guarde o Certificado
de Garantia ou a ficha de dados
técnicos juntamente com o manual de
instruções durante toda a vida útil do
produto. Estes documentos contêm
informações técnicas importantes.
Sobre a indução
Vantagens
&RPXPDSODFDGHLQGXomRRFDORU
é transmitido diretamente ao tacho.
,VWRWHPYiULDVYDQWDJHQV
-Poupa tempo.
-Poupa energia.
)DFLOLWD D OLPSH]D SRLV D FRPLGD
que entra em contacto com a placa
de vidro não queima com facilidade.
-Melhora o controlo de energia. Esta
energia é transferia ao tacho assim
que os controlos de operação são
SUHPLGRVHORJRTXHRWDFKRpUHWLUDGR
GD]RQDGHFR]HGXUDDWUDQVIHUrQFLD
GHHQHUJLD SDUD 1mRp QHFHVViULR
desligar primeiro.
Tachos
Apenas os tachos ferromagnéticos
são indicados para placa de indução.
([LVWHPYiULRVWLSRV
WDFKRV HP IHUUR IXQGLGR DoR
HVPDOWDGR H Do R LQ R [ L G i YHO
especificamente para placas de
indução.
Não recomendamos o uso de placas
GLIXVRUDVRXPDWHULDLVFRPRDoR¿QR
DOXPtQLRYLGURFREUHRXEDUUR
Cada zona de cozedura tem um tempo
mínimo de deteção de tacho. Isto
depende do material e do diâmetro
GDEDVHIHUURPDJQpWLFD3RULVVRp
Fig.2a (5 FIOS)
amarelo verde
azul
cinza (azulado)
Castanho
Preto
NÃO USAR L3
amarelo verde
azul
cinza (azulado)
Castanho
Preto
amarelo verde
azul
cinza (azulado)
Castanho
Preto
amarelo verde
azul
cinza (azulado)
Castanho
Preto
amarelo verde
azul
cinza (azulado)
Castanho
Preto
Bekijk gratis de handleiding van Kuppersbusch KI 9870.0SR, stel vragen en lees de antwoorden op veelvoorkomende problemen, of gebruik onze assistent om sneller informatie in de handleiding te vinden of uitleg te krijgen over specifieke functies.
Productinformatie
| Merk | Kuppersbusch |
| Model | KI 9870.0SR |
| Categorie | Fornuis |
| Taal | Nederlands |
| Grootte | 34580 MB |







