Kuppersbusch KI 9870.0SR handleiding
Handleiding
Je bekijkt pagina 22 van 156

ES
21
p l a c a s i ,
inadvertidamente,
se colocara otro
recipiente sobre
ella durante el
perido de detección
de recipiente. ¡Evite
p o s i b l e s
accidentes!
Si el cable de ali-
PHQWDFLyQ HVWi
GDxDGRGHEH VHU
sustituido por el
fabricante, por su
servicio posventa o
SRUSHUVRQDOFXDOL¿
cado similar con el
¿QGHHYLWDUXQSHOL
gro.
PRECAUCIÓN:
Utilizar sólo protec-
tores de encimera
GLVHxDGRV SRU HO
fa br ic a n t e d el
aparato de cocción
o indicados por el
fabricante en las
instrucciones para
e l u s o c o m o
a d e c u a d o o
protectores de
e n c i m e r a
incorporados en el
aparato. El uso de
p r o t e c t o r e s
inadecuados puede
causar accidentes.
Es necesario
permitir la descone-
xión del aparato
después de la
instalación. Deben
ser i n c o r p o r a-
d o s medios de
desconexión a la
LQVWDODFLyQ¿MDGH
acuerdo con las
reglamentaciones
de instalación.
Instalación
E m pla z a m i ent o c o n c a jón
cubertero
Si desea disponer de un mueble o
cajón cubertero bajo la encimera de
FRFFLyQVHGHEHUiFRORFDUXQDWDEOD
de separación entre ambos. De esta
forma se previenen los contactos acci-
GHQWDOHVFRQODVXSHU¿FLHFDOLHQWHGH
la carcasa del aparato.
/DWDEODGHEHUiHVWDUVLWXDGDDXQD
distancia de 18 mm. por debajo de la
parte inferior de la encimera.
Conexión eléctrica
Antes de conectar la encimera de coc-
FLyQDODUHGHOpFWULFDFRPSUXHEHTXH
la tensión (voltaje) y la frecuencia de
aquella corresponden con las indica-
das en la placa de características
GHODHQFLPHUDVLWXDGDHQVXSDUWH
LQIHULRU\HQOD+RMDGH*DUDQWtDRHQ
VXFDVRODKRMDGHGDWRVWpFQLFRVTXH
debe conservar junto a este manual
GXUDQWHODYLGD~WLOGHODSDUDWR
Evite que el cable de entrada quede
HQFRQWDFWRWDQWRFRQODFDUFDVDGH
HQFLPHUDFRPRFRQODGHOKRUQRVL
éste va instalado en el mismo mueble.
¡Atención!
La conexión eléctrica debe
realizarse con una correcta toma
de tierra, siguiendo la normativa
vigente, de no ser así, la encimera
p u e d e t e n e r f a l l o s d e
funcionamiento.
Sobretensiones anormalmen-
te altas pueden provocar la avería
del sistema de control (como
ocurre con cualquier tipo de
aparato eléctrico).
Se aconseja no utilizar la
cocina de inducción durante la
fun-ción de limpieza pirolítica, en
el caso de hornos pirolíticos
instalados bajo ella, debido a la alta
temperatura que alcanza este
aparato.
Cualquier manipulación o
reparación del aparato, incluida la
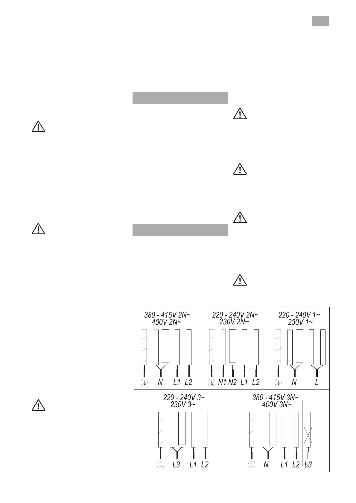
Fig. 2a (5 HILOS)
amarillo - verde
azul
azul (gris)
marrón
negro
amarillo - verde
azul
azul (gris)
marrón
negro
amarillo - verde
azul
azul (gris)
marrón
negro
amarillo - verde
azul
azul (gris)
marrón
negro
amarillo - verde
azul
azul (gris)
marrón
negro
NO USAR L3
Bekijk gratis de handleiding van Kuppersbusch KI 9870.0SR, stel vragen en lees de antwoorden op veelvoorkomende problemen, of gebruik onze assistent om sneller informatie in de handleiding te vinden of uitleg te krijgen over specifieke functies.
Productinformatie
| Merk | Kuppersbusch |
| Model | KI 9870.0SR |
| Categorie | Fornuis |
| Taal | Nederlands |
| Grootte | 34580 MB |







