Kuppersbusch KI 9870.0SR handleiding
Handleiding
Je bekijkt pagina 144 van 156

NL
143
pannen. Vermijd
mogelijke ongeva-
llen!
Installatie
Plaatsing met besteklade
Wenst u een meubel of besteklade te
SODDWVHQRQGHUGHNRRNSODDWGDQPRHW
tussen beiden een scheidingsplank
geplaatst worden. Op deze wijze
wordt toevallig contact met het warme
opper- vlak van de behuizing van het
apparaat voorkomen.
De plank moet 18 mm onder het
onderste deel van de kookplaat
gemonteerd worden.
Elektrische aansluiting
Vooraleer de kookplaat op het elektri-
FLWHLWVQHWDDQWHVOXLWHQPRHWXFRQWUR
leren of de spanning (voltage) en haar
frequentie overeenstemmen met de
gegevens aangeduid op het typeplaat-
MHYDQGHSODDWGDWXRQGHUDDQKHW
WRHVWHOYLQGWHQLQKHWJDUDQWLHEHZLMV
of eventueel het technische gegevens-
blad dat u tijdens de levensduur van
het apparaat samen met deze handlei-
ding moet bewaren.
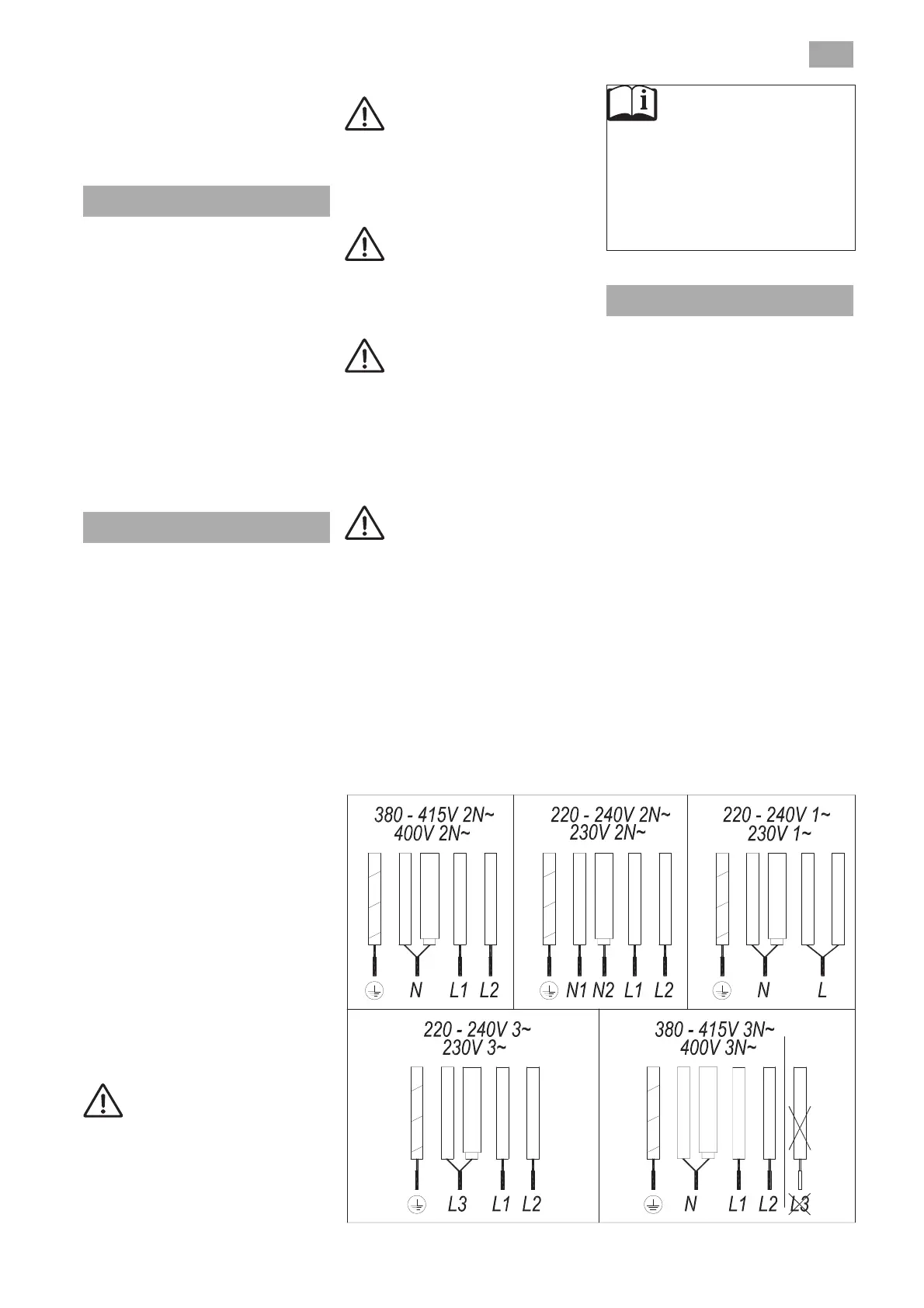
De elektrische aansluiting gebeurt via
HHQPHHUSROLJHVFKDNHODDURIVWHNNHU
op voorwaarde dat deze goed bereik-
EDDULVJHVFKLNWYRRUGHWHZHHUVWDQH
sterkte en de minimale opening tus-
VHQGHFRQWDFWHQPPEHGUDDJWZDW
uitschakeling verzekert in noodsitua-
ties of in geval van reiniging van de
plaat.
Vermijd contact tussen de invoerkabel
en de behuizing van zowel de kook-
SODDWDOVGHRYHQDOVGH]HLQKHW]HOIGH
meubel geïnstalleerd is.
Opgelet!
De elektrische aansluiting
moet voorzien zijn van een correcte
aarding die voldoet aan de geldige
regelgeving, is dit niet het geval,
dan zal de plaat mogelijk storingen
vertonen.
Abnormaal hoge overspan-
ningen kunnen het bedieningssys-
teem beschadigen (zoals gebeurt
met eender welk elektrisch appa-
raat).
Er wordt aangeraden de
inductieplaat niet te gebruiken tij-
dens het pyrolitisch reinigen van
pyrolitische ovens, wegens de hoge
temperatuur die dit apparaat bereikt.
Ied e re man i pula t ie of
herstelling van het apparaat,
met inbegrip van het vervangen
van de flexibele voedingskabel,
dient uitgevoerd te worden door
GHRႈFLsOHWHFKQLVFKHGLHQVWYDQ
.SSHUVEXVFK
A l v o r e n s h e t f o r n u i s
van het elektriciteitsnet te
ontkoppelen, wordt aanbevolen
de afzetschakelaar uit te schakelen
en ongeveer 23 seconden te wachten
voor het uittrekken van de stekker.
Deze tijd is nodig voor het volledig
ontladen van het elektronische
circuit en zo de mogelijkheid van
een elektrische ontlading via de
stekkercontacten te voorkomen.
%HZDDUKHWJDUDQWLHEHZLMV
of eventueel het technisch
gegevensblad samen met de
ha nd le id in g ge d u r e n d e de
levensduur van het apparaat.
Het bevat belangrijke technische
gegevens van het toestel.
Over inductie
Voordelen
Met een inductiekookplaat wordt
de warmte rechtstreeks op de pan
overgebracht.
Dit heeft een aantal voordelen:
- Tijdbesparing.
- Energiebesparing.
- Eenvoudig te reinigen omdat het
voedsel dat in contact komt met de
glazen plaat niet zo snel aanbakt.
- Verbeterde energieregeling. De
energie wordt op de pan overgebracht
zodra de vermogensregeling wordt
bediend. En zodra de pan van de
NRRN]RQHZRUGWJHQRPHQVWRSWGH
stroomtoevoer. U hoeft het vermogen
niet eerst uit te schakelen.
Pannen
Op een inductiekookplaat zijn alleen
ferromagnetische pannen geschikt.
Er bestaan verschillende soorten:
JLHWLM]HUHQJHsPDLOOHHUG VWDDO HQ
Afb. 2a (5 DRADEN)
groen-geel
blauw
blauw(grijs)
bruin
zwart
groen-geel
blauw
blauw(grijs)
bruin
zwart
groen-geel
blauw
blauw(grijs)
bruin
zwart
groen-geel
NIET GEBRUIKEN L3
blauw
blauw(grijs)
bruin
zwart
groen-geel
blauw
blauw(grijs)
bruin
zwart
Bekijk gratis de handleiding van Kuppersbusch KI 9870.0SR, stel vragen en lees de antwoorden op veelvoorkomende problemen, of gebruik onze assistent om sneller informatie in de handleiding te vinden of uitleg te krijgen over specifieke functies.
Productinformatie
| Merk | Kuppersbusch |
| Model | KI 9870.0SR |
| Categorie | Fornuis |
| Taal | Nederlands |
| Grootte | 34580 MB |







