Kuppersbusch KI 9870.0SR handleiding
Handleiding
Je bekijkt pagina 131 van 156

IT
130
fosse posizionato
un altro recipiente
su di esse durante
il rilevamento del
recipiente. Evitare
ogni possibile
incidente!
Nel caso in cui
i l c a v o d i
alimentazione sia
danneggiato, deve
essere sostituito
dal produttore, dal
servizio assistenza
o da persone ugual-
mente qualificate
allo scopo di evitare
pericoli.
ATTENZIONE :
U t i l i z z a r e
u n i c a m e n t e
protettori per il
piano cottura diseg-
nati dal produttore
dell'apparecchio o
quelli indicati dal
produttore n e l
manuale d'istruzioni
come adeguati,
oppure prottetori
JLj LQFRUSRUDWL
nel piano. L'uso
d i p r o t e t t o r i
inadeguati può
causare incidenti.
E' necessario
permettere la disco-
nessione dell'appa-
r e c c h i o d o p o
l'installazione.
Devono essere
incorporati mezzi
di disconessione
nell'installazione
fissa d'accordo
con i regolamenti
d'installazione.
Installazione
8QLWjFRQFDVVHWWRSRUWDSRVDWH
Se si desidera inserire un mobile o
cassetto portaposate sotto il piano di
FRWWXUDRFFRUUHFROORFDUHXQSDQQHOOR
divisorio. In questo modo si evita il
FRQWDWWRDFFLGHQWDOHFRQODVXSHU¿FLH
calda del corpo dell'apparecchio.
Il pannello deve essere ubicato a una
distanza di 18 mm al di sotto della
parte inferiore del piano di cottura.
Collegamento elettrico
Prima di collegare il piano di cottura
DOOD UHWH HOHWWULFD FRQWUROODUH FKH
la tensione (voltaggio) e la relativa
fre q u e nza co rri s p o nda n o ai
valori indicati sulla targhetta delle
FDUDWWHULVWLFKHGHO SLDQR GL FRWWXUD
SRVWDQHOODSDUWHLQIHULRUHHVXOIRJOLR
GL JDUDQ]LD RSSXUH VH SUHVHQWH
sulla scheda dei dati tecnici che deve
essere conservata assieme a questo
manuale nel corso della vita utile
dell'apparecchio.
Evitare che il cavo di ingresso rimanga
a contatto con il corpo del piano
FRWWXUDHFRQTXHOORGHOIRUQRTXDORUD
questo sia installato nello stesso
mobile
Attenzione!
Il collegamento elettrico deve
essere realizzato con una
FRUUHWWDSUHVDGLWHUUDLQFRQIRUPLWj
alla nor- mativa in vigore. In caso
contrario, il piano cottura potrebbe
e s s e r e s o g - g e t t o a
malfunzionamenti.
Sovratensioni troppo alte
possono provocare il guasto del
sistema di controllo (quello che
accade con qualsiasi tipo di appa-
recchio elettrico).
Si consiglia di utilizzare la
cucina a induzione durante la fun-
zione di pulizia pirolitica in caso di
forni pirolitici a causa dell'alta tem-
peratura raggiunta da questo appa-
recchio.
Le manipolazioni e le
riparazio-ni dell'apparecchio,
compresa la sosti- tuzione del cavo
ÀHVVLELOHGLDOLPHQWD]LRQHGHYRQR
essere realizzate dal servizio
WHFQLFRXႈFLDOHGL.SSHUVEXVFK
Prima di collegare l'apparec-
chio in rete si consiglia di spegnere
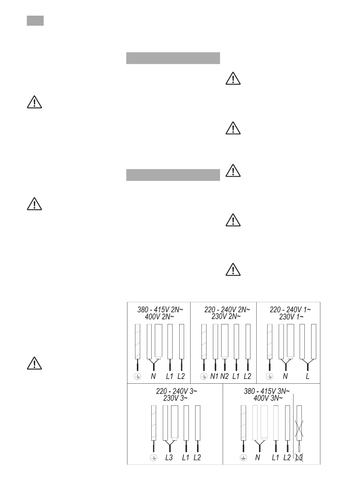
Fig.2a (5 FILI)
verde-giallo
blu
blu(grigio)
marrone
nero
verde-giallo
blu
blu(grigio)
marrone
nero
verde-giallo
blu
blu(grigio)
marrone
nero
verde-giallo
NON USARE L3
blu
blu(grigio)
marrone
nero
verde-giallo
blu
blu(grigio)
marrone
nero
Bekijk gratis de handleiding van Kuppersbusch KI 9870.0SR, stel vragen en lees de antwoorden op veelvoorkomende problemen, of gebruik onze assistent om sneller informatie in de handleiding te vinden of uitleg te krijgen over specifieke functies.
Productinformatie
| Merk | Kuppersbusch |
| Model | KI 9870.0SR |
| Categorie | Fornuis |
| Taal | Nederlands |
| Grootte | 34580 MB |







