Kuppersbusch KI 9870.0SR handleiding
Handleiding
Je bekijkt pagina 119 van 156

RO
118
UăPkQH DSULQVă
(YLWDĠLHYHQWXDOHOH
accidente!
Instalare
Amplasare cu sertar pentru tacâmuri
'DFăGRULĠLVăDPSODVDĠLXQFRUSGH
PRELOăVDXXQVHUWDUSHQWUXWDFkPXUL
VXESOLWDGHJăWLWYDWUHEXLVăDúH]DĠL
SODFăGHVHSDUDUHvQWUHDFHVWHD6HYD
preveni astfel contactul accidental cu
VXSUDIDĠDvQFăO]LWăDFDUFDVHLDSDUDWXOXL
3ODFDYDWUHEXLVă¿HVLWXDWăODRGLVWDQĠă
GHPPVXESDUWHDLQIHULRDUăDSOLWHL
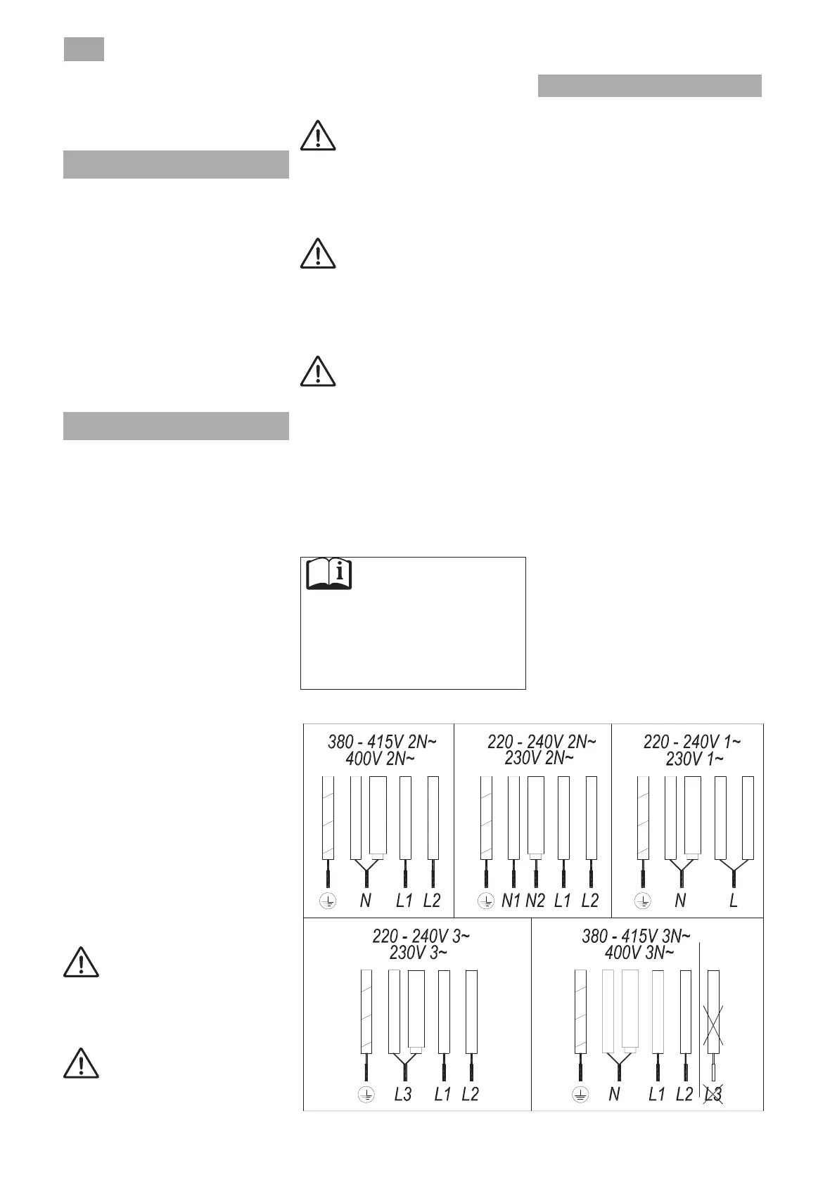
&RQH[LXQHHOHFWULFă
ÌQDLQWH GH D FRQHFWD SOLWD GH JăWLW
ODUHĠHDXD HOHFWULFă YHULILFDĠL GDFă
WHQVLXQHDYROWDMXOúLIUHFYHQĠDDFHV
teia corespund cu cele indicate pe
SOăFXĠDFXFDUDFWHULVWLFLWHKQLFHDSOLWHL
FDUHHVWHVLWXDWăvQSDUWHDLQIHULRDUăúL
SH&HUWL¿FDWXOGH*DUDQĠLHVDXGXSă
FD]SH¿úDGHVSHFL¿FDĠLLWHKQLFHSH
FDUHWUHEXLHVă R SăVWUDĠL vPSUHXQă
FXDFHVWPDQXDOSHWRDWăGXUDWDYLHĠLL
produsului.
&RQH[LXQHD HOHFWULFă VH YD UHDOL]D
SULQLQWHUPHGLXOXQXLvQWUHUXSăWRUGHWLS
RPQLSRODUVDXDOXQHL¿úHFXFRQGLĠLD
GHD¿DFFHVLELODGHFYDWLQWHQVLWăĠLL
FDUHXUPHD]ăD¿VXSRUWDWăúLDYkQG
RGHVFKLGHUHPLQLPă vQWUHFRQWDFWH
GH PP FDUH Vă SRDWă DVLJXUD
GHFRQHFWDUHDvQFD]XULGHXUJHQĠăVDX
SHQWUXFXUăĠDUHDSOLWHL
(YLWDĠL FRQWDFWXO FDEOXOXL GH LQWUDUH
DWkWFXFDUFDVDSOLWHLFkWúLFXFHDD
FXSWRUXOXLGDFăDFHVWDHVWHLQVWDODWvQ
DFHODúLFRUSGHPRELOă
$WHQĠLH
&RQH[LXQHDHOHFWULFăWUHEXLH
UHDOL]DWă FX R SUL]ă GH SăPkQW
DGHFYDWăUHVSHFWkQGQRUPDWLYXOvQ
vigoare, altfel plita poate prezenta
GHIHFWHGHIXQFĠLRQDUH
Supratensiunile deosebit
de ridicate pot provoca avaria
VLVWHPXOXLGHFRQWURODúDFXPVH
vQWkPSOăFXRULFHDOWWLSGHDSDUDW
electric).
9ă VIăWXLP Vă QX IRORVLĠL
PDúLQDGHJăWLWFXLQGXFĠLHvQWLPSXO
IXQFĠLHL GH FXUăĠDUH SLUROLWLFăvQ
FD]XOFXSWRDUHORUSLUROLWLFHGDWRULWă
WHPSHUDWXULLvQDOWHSHFDUHRDWLQJH
acest aparat.
Orice fel de manipulare sau
reparare a aparatului, inclusiv
vQORFXLUHD FDEOXOXL IOH[LELO GH
DOLPHQWDUHYD WUHEXL UHDOL]DWăGH
FăWUHVHUYLFLXOWHKQLFR¿FLDODO¿UPHL
.SSHUVEXVFK
ÌQDLQWHGHDGHFRQHFWDSOLWDGH
ODUHĠHDXDHOHFWULFăYăUHFRPDQGăP
Vă VWLQJHĠL vQWUHUXSăWRUXO úL Vă
DúWHSWDĠLDSUR[LPDWLYGHVHFXQGH
vQDLQWHGHDVFRDWHúWHFăUXO$FHVW
WLPSHVWHQHFHVDUSHQWUXGHVFăUFDUHD
WRWDOă D FLUFXLWXOXL HOHFWURQLF
evitânduse astfel posibilitatea unei
GHVFăUFăULHOHFWULFHSULQFRQWDFWHOH
úWHFăUXOXL
3ăVWUDĠL &HUWLILFDWXO GH
*DUDQĠLHVDXGXSă FD] ¿úD FX
VSHFL¿FDĠLLWHKQLFHvPSUHXQăFX
0DQXDOXOGHLQVWUXFĠLXQLSHWRDWă
GXUDWD YLHĠLL XWLOH D DSDUDWXOXL
$FHVWD FRQĠLQH GDWH WHKQLFH
importante privitoare la aparat.
'HVSUHLQGXF܊LH
Avantaje
/DR SODWă FXLQGXF܊LHFăOGXUDHVWH
WUDQVPLVăGLUHFWYDVXOXL
Aceasta are mai multe avantaje:
(FRQRPLVH܈WHWLPS
(FRQRPLVH܈WHHQHUJLH
6XQWX܈RUGHFXUă܊DWvQWUXFkWGDFă
DOLPHQWHOHYLQvQFRQWDFWFXSOLWDGH
VWLFOăHOHQXDUGX܈RU
- Control mai bun al energiei. Energia
HVWHWUDQVPLVăYDVXOXLLPHGLDWFHVXQW
DSăVDWHEXWRDQHOHGHSXWHUHÌQSOXV
LPHGLDWFHYDVXOHVWHvQGHSăUWDWGHSH
]RQDGHJăWLWDOLPHQWDUHDFXHQHUJLH
VHRSUH܈WH 1XHVWHQHFHVDU VăVH
RSUHDVFăDOLPHQWDUHDPDLvQWkL
Vase
Doar vasele feromagnetice sunt
DGHFYDWHXWLOL]ăULLSHRSOLWăFXLQGXF܊LH
([LVWăPDLPXOWHWLSXUL
YDVHGLQIRQWăR܊HOHPDLODW܈LLQR[
GHVWLQDWHVSHFLDOXWLOL]ăULLSHSOLWHFX
LQGXF܊LH
1XUHFRPDQGăPXWLOL]DUHDSOăFLORUGH
GLIX]LHVDXDPDWHULDOHORUSUHFXPR܊HO
VXSHULRUDOXPLQLXVWLFOăFXSUXVDXOXW
)LHFDUH]RQăGHJăWLWDUHXQWLPSPLQLP
GHGHWHF܊LHDYDVXOXLGHJăWLW$FHVWD
GHSLQGHGHPDWHULDO܈LGHGLDPHWUXO
bazei feromagnetice a vasului. De
DFHHDHVWHHVHQ܊LDOăXWLOL]DUHD]RQHL
GH JăWLW FDUH FRUHVSXQGH FHO PDL
Fig.2a (5 SIRURI)
YHUGHJăOEXL
albastru
albastru(gri)
maro
negru
YHUGHJăOEXL
albastru
albastru(gri)
maro
negru
YHUGHJăOEXL
albastru
albastru(gri)
maro
negru
YHUGHJăOEXL
18)2/26,ğ,/
albastru
albastru(gri)
maro
negru
YHUGHJăOEXL
albastru
albastru(gri)
maro
negru
Bekijk gratis de handleiding van Kuppersbusch KI 9870.0SR, stel vragen en lees de antwoorden op veelvoorkomende problemen, of gebruik onze assistent om sneller informatie in de handleiding te vinden of uitleg te krijgen over specifieke functies.
Productinformatie
| Merk | Kuppersbusch |
| Model | KI 9870.0SR |
| Categorie | Fornuis |
| Taal | Nederlands |
| Grootte | 34580 MB |







