Kuppersbusch KE6130.1SE handleiding
Handleiding
Je bekijkt pagina 32 van 100

EN
SRVVLEOH¿UHKD]DUG
“If the mains cord is
damaged, should be
replaced by the
manufacturer or its after
sales service”
CAUTION: Use only
cooktop protectors
appropriately designed
by the household
manufacturer or the
protectors already used
in this appliance.The
use of inappropriate
protectors could cause
accidents.
Installation
Emplacement with cutlery drawer
and with a minimum 3 mm distance between contacts. This
ensures disconnection in emergencies and allows hob cleaning.
2QO\WKH.SSHUVEXVFKRႈFLDOWHFKQLFDOVHUYLFHFDQKDQGOHRU
UHSDLUWKHDSSOLDQFHLQFOXGLQJUHSODFHPHQWRIWKHSRZHUFDEOH
Ensure that the inlet cable does not come into contact with
WKHKREKRXVLQJRUWKHRYHQKRXVLQJLILWLVLQVWDOOHGLQWKH
same unit.
Warning:
The electrical connection must be properly
grounded, following current regulations, otherwise the
hob may malfunction.
Unusual high power surges can damage the control
system
(like with any electrical appliance).
.HHSWKH*XDUDQWHH&HUWL¿FDWHRUWKHWHFKQLFDOGDWD
sheet together with the instructions manual throughout the
product’s service life. These contain important technical
information.
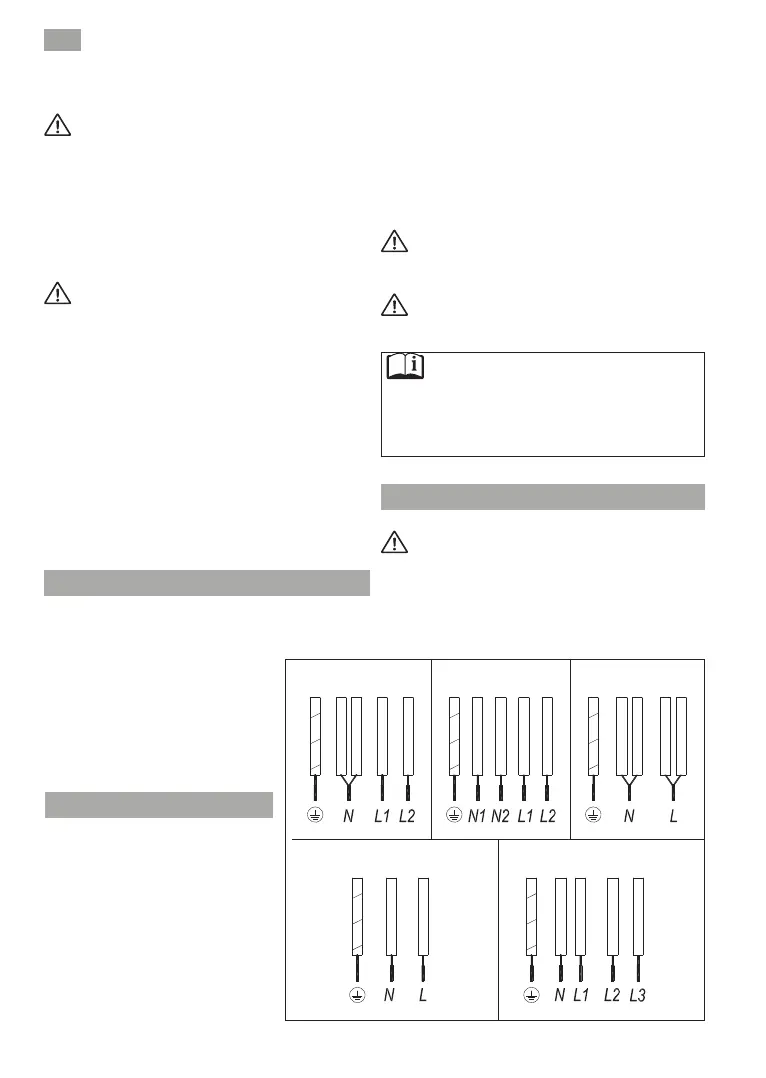
3 Phase Connection
Warning:
2QO\WKHRႈFLDOWHFKQLFDOVHUYLFHFDQKDQGOHUHSDLU
the appliance, including replacement of the power cable
and convert the connection to 3 phase.
Ensure that the inlet cable does not come into contact with
WKHKRWSODWHKRXVLQJRUWKHRYHQKRXVLQJLILWLVLQVWDOOHGLQ
the same unit.
For 3 phase connection follow the steps below:
JUHHQ\HOORZ
EOXH
EURZQ
JUH\
EODFN
JUHHQ\HOORZ
EOXH
EURZQ
JUH\
EODFN
JUHHQ\HOORZ
EOXH
EURZQ
JUH\
EODFN
JUHHQ\HOORZ
EOXH
EURZQ
JUH\
EODFN
¿J
1/a
1/a
1/a
1/a
1/a
JUHHQ\HOORZ
EOXH
EURZQ
If you wish to mount furniture or a drawer
XQGHUWKHKREDVHSDUDWLRQERDUGPXVWEH
¿WWHGEHWZHHQWKHWZR$FFLGHQWDO FRQWDFW
with the hot surface of the device’s housing
is thus prevented.
7KHERDUGPXVWEH¿WWHGPPXQGHUWKH
bottom cover of the hob.
Electrical connection
%HIRUH\RXFRQQHFWWKHKREWRWKHPDLQV
check if the voltage and frequency match
WKRVHVSHFL¿HGRQWKHKREODEHO ZKLFK LV
placed under the hob or on the Guarantee
FDUGRULIDSSOLFDEOHRQWKHWHFKQLFDOGDWD
VKHHWZKLFK \RXPXVW NHHSWRJHWKHU
with this manual throughout the product’s
service life.
The electrical connection will be via an
DOOSROHFLUFXLW EUHDNHURU SOXJZKHQHYHU
DFFHVVLEOHLQDFFRUGDQFHZLWKWKHFXUUHQW
Bekijk gratis de handleiding van Kuppersbusch KE6130.1SE, stel vragen en lees de antwoorden op veelvoorkomende problemen, of gebruik onze assistent om sneller informatie in de handleiding te vinden of uitleg te krijgen over specifieke functies.
Productinformatie
Merk | Kuppersbusch |
Model | KE6130.1SE |
Categorie | Niet gecategoriseerd |
Taal | Nederlands |
Grootte | 16004 MB |