Kuppersbusch FKU1540.0i handleiding
Handleiding
Je bekijkt pagina 61 van 216

ES
16
La apertura frecuente de
la puerta puede elevar la
temperatura interna del
frigorífico; cierre la puerta tan
pronto como sea posible tras
el uso.
En caso de que se forme
hielo temporalmente en el
compartimento frigorífico,
ponga el termostato en la
posición 1, comprobando que
la temperatura en el frigorífico
sea como máximo de 5 ºC (41
ºF). Una vez el hielo se funda
y el aparato inicie el proceso
de deshielo automático con
normalidad, podrá incrementar
el ajuste del termostato, si
fuese necesario.
Parada del aparato
Si su termostato dispone de posición
“0”:
- Su aparato dejará de funcionar al
poner el botón del termostato en la
posición “0” (cero). El aparato no se
pondrá en marcha hasta que no sitúe
de nuevo el botón del termostato en
la posición “1” o en cualquiera de las
demás posiciones.
Si su termostato dispone de posición
“min”:
- Desenchufe el aparato para detener
su funcionamiento.
5
4
3
2
1
0
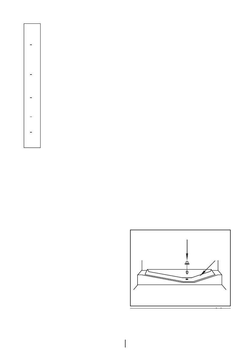
Deshielo
La despensa frigorífica se deshiela
automáticamente. El agua de deshielo
se canaliza al tubo de drenaje a través
de un canal de recogida y se evapora
en un depósito especial (1) situado
en la parte posterior del aparato (ver
diagrama).
Durante el deshielo se pueden formar
gotas de agua en la parte trasera
de la despensa frigorífica donde se
encuentra empotrado el evaporador.
Algunas gotas pueden permanecer
en el revestimiento interior y volver
a congelarse después de finalizado
el deshielo. No utilice nunca objetos
con punta o bordes afilados, como
cuchillos o tenedores, para retirar las
gotas que se hayan vuelto a congelar.
Si en algún momento el agua del
deshielo no se desagua por el canal
de recogida, compruebe que no haya
restos de alimentos que obstruyan
el conducto de desagüe. El tubo de
desagüe se puede vaciar accionando
el émbolo de plástico situado en su
parte inferior (2).
Special Container
Compressor
1
2
Bekijk gratis de handleiding van Kuppersbusch FKU1540.0i, stel vragen en lees de antwoorden op veelvoorkomende problemen, of gebruik onze assistent om sneller informatie in de handleiding te vinden of uitleg te krijgen over specifieke functies.
Productinformatie
Merk | Kuppersbusch |
Model | FKU1540.0i |
Categorie | Niet gecategoriseerd |
Taal | Nederlands |
Grootte | 17741 MB |