Kospel SV-800.1 handleiding
Handleiding
Je bekijkt pagina 5 van 92

5
PL;DE;EN;ES;FR;NL;HR;HU;RO-061_f.1973
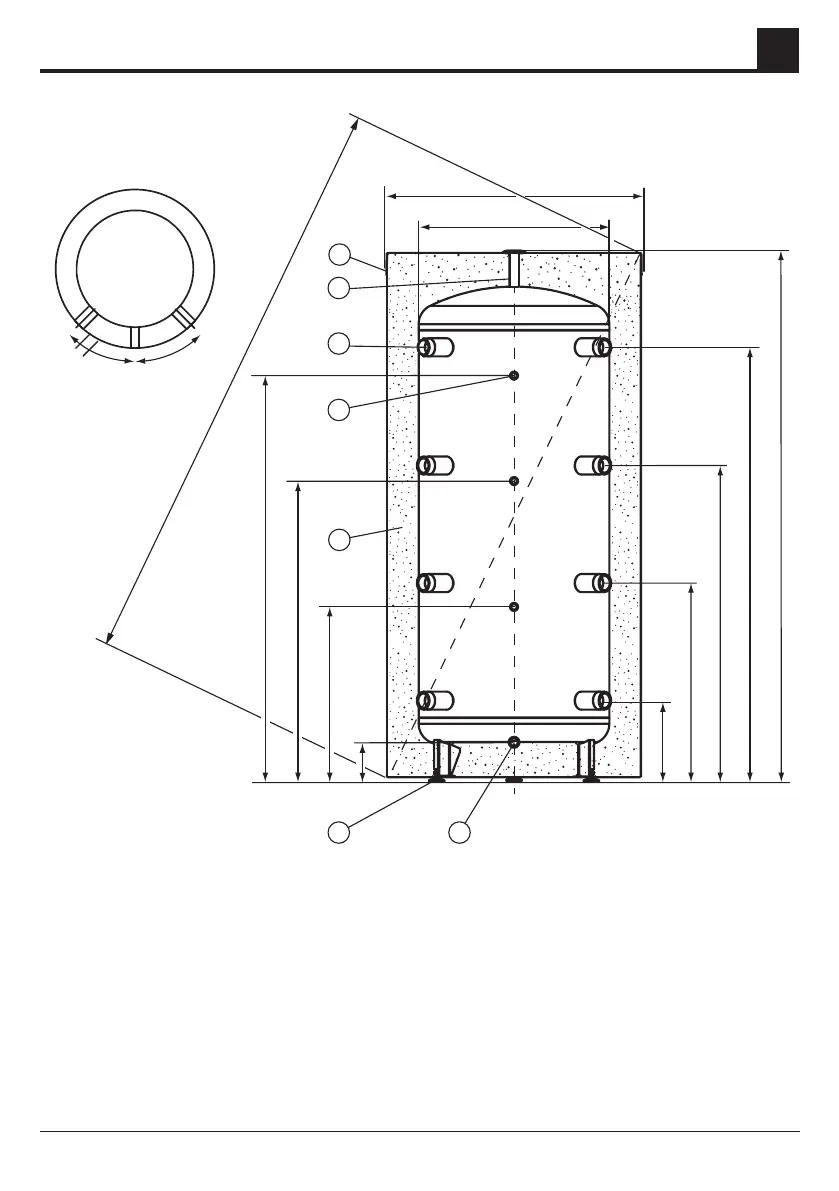
Budowa
45°
45°
D
d
4
6
F
G
I
J
2
3
A
B
C
E
H
7
1
5
K
Budowa zbiornika buforowego SV (200l, 300l)
[1] - pokrywa górna
[2] - króciec przyłącza odpowietrznika (1/2”)
[3] - króciec przyłączeniowy (6/4")
[4] - króciec czujnika temperatury (1/2")
[5] - izolacja termiczna
[6] - stopki
[7] - króciec spustowy (1/2”)
PL
Bekijk gratis de handleiding van Kospel SV-800.1, stel vragen en lees de antwoorden op veelvoorkomende problemen, of gebruik onze assistent om sneller informatie in de handleiding te vinden of uitleg te krijgen over specifieke functies.
Productinformatie
| Merk | Kospel |
| Model | SV-800.1 |
| Categorie | Niet gecategoriseerd |
| Taal | Nederlands |
| Grootte | 7382 MB |
