Kospel SV-800.1 handleiding
Handleiding
Je bekijkt pagina 25 van 92

25
PL;DE;EN;ES;FR;NL;HR;HU;RO-061_f.1973
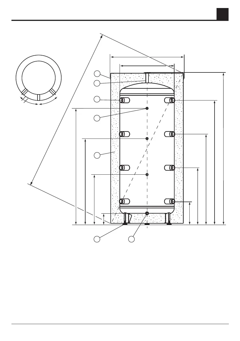
Construction
45°
45°
D
d
4
6
F
G
I
J
2
3
A
B
C
E
H
7
1
5
K
Buffer tank
SV (200l, 300l)
[1] - upper lid
[2] - air vent connector (1/2”)
[3] - connection stub (6/4”)
[4] - temperature sensor connector (1/2”)
[5] - thermal insulation
[6] - feet
[7] - drain connector (1/2”)
EN
Bekijk gratis de handleiding van Kospel SV-800.1, stel vragen en lees de antwoorden op veelvoorkomende problemen, of gebruik onze assistent om sneller informatie in de handleiding te vinden of uitleg te krijgen over specifieke functies.
Productinformatie
| Merk | Kospel |
| Model | SV-800.1 |
| Categorie | Niet gecategoriseerd |
| Taal | Nederlands |
| Grootte | 7382 MB |
