Kospel SV-1000.1 handleiding
Handleiding
Je bekijkt pagina 7 van 92

7
PL;DE;EN;ES;FR;NL;HR;HU;RO-061_f.1973
45°
45°
5
8
F
L
G
N
I
J
A
B
C
E
H
D
d
4
6
2
3
7
1
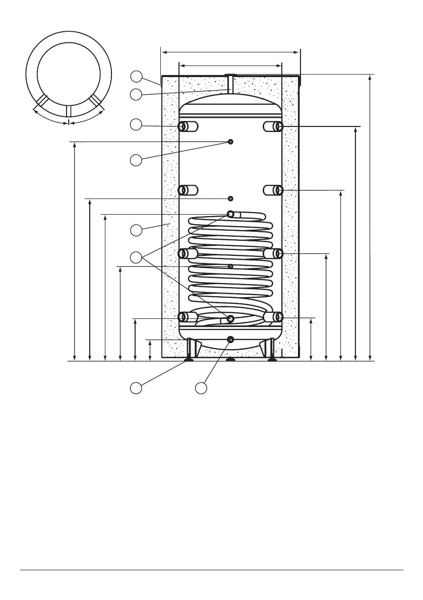
Budowa zbiornika buforowego z wężownicą SVW (200l, 300l)
  [1]  - pokrywa górna
  [2]  - króciec przyłącza odpowietrznika (1/2”) 
  [3]  - króciec przyłączeniowy (6/4”) 
  [4]  - króciec czujnika temperatury (1/2”)
  [5]  - izolacja termiczna
  [6]  - stopki”
  [7]  - króciec spustowy (1/2”) 
  [8]  - króciec przyłącza wężownicy 1" 
Bekijk gratis de handleiding van Kospel SV-1000.1, stel vragen en lees de antwoorden op veelvoorkomende problemen, of gebruik onze assistent om sneller informatie in de handleiding te vinden of uitleg te krijgen over specifieke functies.
Productinformatie
| Merk | Kospel | 
| Model | SV-1000.1 | 
| Categorie | Niet gecategoriseerd | 
| Taal | Nederlands | 
| Grootte | 7382 MB | 

