Handleiding
Je bekijkt pagina 44 van 88

44
ES
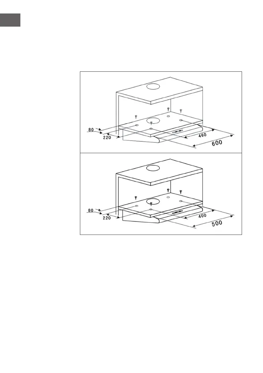
Variante 2
1. Realice cuatro agujeros de 6 mm de diámetro en la parte inferior del armario
de cocina. Si también ha pedido una extensión de tubo abra las aberturas
correspondientes para el tubo de escape.
2. Primero se inserta el tubo de escape y luego se coloca la carcasa.
Bekijk gratis de handleiding van Klarstein UW60BL, stel vragen en lees de antwoorden op veelvoorkomende problemen, of gebruik onze assistent om sneller informatie in de handleiding te vinden of uitleg te krijgen over specifieke functies.
Productinformatie
| Merk | Klarstein |
| Model | UW60BL |
| Categorie | Afzuigkap |
| Taal | Nederlands |
| Grootte | 7756 MB |






