Handleiding
Je bekijkt pagina 10 van 88

10
DE
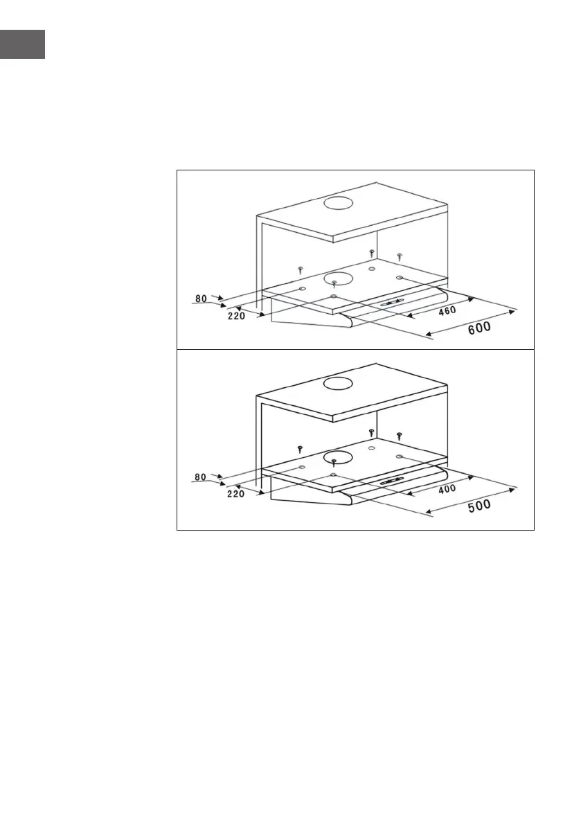
Variante 2
1. Bohren Sie vier Löcher mit einem Durchmesser von 6 mm an der Unterseite
des Küchenschranks. Sollten Sie eine Rohrverlängerung mitbestellt haben
sägen/bohren Sie entsprechende Öffnungen für das Abluftrohr.
2. Führen Sie zuerst das Abluftrohr durch und anschließend bringen Sie die
Haube an.
Bekijk gratis de handleiding van Klarstein UW60BL, stel vragen en lees de antwoorden op veelvoorkomende problemen, of gebruik onze assistent om sneller informatie in de handleiding te vinden of uitleg te krijgen over specifieke functies.
Productinformatie
| Merk | Klarstein |
| Model | UW60BL |
| Categorie | Afzuigkap |
| Taal | Nederlands |
| Grootte | 7756 MB |



