Handleiding
Je bekijkt pagina 14 van 116

14
Jeśli wyświetlacz miga na przemian z ustawieniem mocy grzania
To znaczy że:
• nie ustawiłeś naczynia na właściwej strefie gotowania lub
• naczynie, którego używasz, nie nadaje się do gotowania indukcyjnego lub
• naczynie jest za małe lub nieprawidłowo wyśrodkowane w strefie gotowania.
Grzanie nie rozpocznie się, jeśli w strefie gotowania nie ma odpowiedniego naczynia.
Wyświetlacz „ ” wyłączy się automatycznie po 1 minucie, jeśli nie zostanie na nim umieszczony
odpowiednie naczynie.
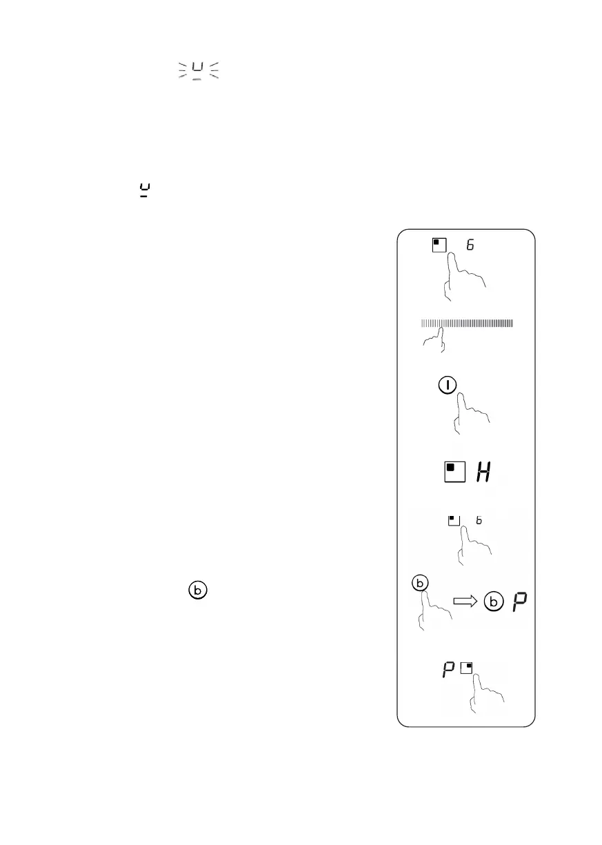
Zakończ gotowanie
Dotknij przycisku wyboru stref grzewczych, które chcesz wyłączyć
Wyłącz strefę grzejną, przesuwając suwak na „I”. Upewnij się, że
wyświetlacz pokazuje „0”
Wyłącz całą płytę grzejną, dotykając przycisku WŁ./WYŁ.
Uważaj na gorące powierzchnie
„H” wskaże, która strefa gotowania jest gorąca. Zniknie, gdy powierzchnia
ostygnie do bezpiecznej temperatury.
Można go również wykorzystać jako funkcję oszczędzania energii, jeśli
chcesz podgrzać kolejne patelnie, użyj jeszcze gorącej płyty.
Korzystanie z funkcji Boost
Aktywuj funkcję Boost
Dotknij przycisku wyboru strefy grzewczej.
Dotknij przycisku Boost , wskaźnik strefy pokaże „P”, a moc
osiągnie Maks.
Anuluj funkcję Boost
Dotknij przycisku wyboru strefy grzewczej, dla której chcesz anulować
funkcję Boost
Bekijk gratis de handleiding van Kernau KIH 6416-4B, stel vragen en lees de antwoorden op veelvoorkomende problemen, of gebruik onze assistent om sneller informatie in de handleiding te vinden of uitleg te krijgen over specifieke functies.
Productinformatie
Merk | Kernau |
Model | KIH 6416-4B |
Categorie | Fornuis |
Taal | Nederlands |
Grootte | 11017 MB |