Kern OBN 135 handleiding
Handleiding
Je bekijkt pagina 33 van 47

33 OBN-13-BA-e-2511
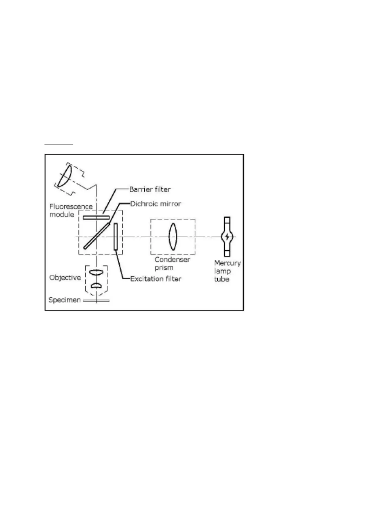
Fluorescence reflected light unit
There are samples, which can be excited by light beams and thereby show emissions,
which have different wave lengths than the previous excitation beams. The wave
length of the emission is always bigger than the wave length of the excitation (Stokes
shift). This process is called fluorescence and can serve as the base of a microscopic
contrasting method. For the most common way to realise this, an upright light
microscope is extended by a fluorescence reflected light unit.
Principle
Depending on the sample there is an excitation light needed, that is contained in the
spectrum of the light source (HBO or LED). The excitation filter is only permeable for
the according wave length. After that the excitation light hits a dichroic mirror, which
reflects it towards the objective and the sample. After the sample absorbed the
excitation light, the emission of the fluorescent light occurs (with a bigger wave length
than the excitation light). The part of the fluorescent light, which is beamed into the
objective, can pass the dichroic mirror. The dichroic mirror additionally prevents the
remaining part of the excitation light from advancing towards the eyepieces. The barrier
filter finally eliminates all wave ranges out of the beam path not belonging to the
observed fluorescence. Thus the resulting image is just developed by the fluorescent
light emitted from the sample.
Bekijk gratis de handleiding van Kern OBN 135, stel vragen en lees de antwoorden op veelvoorkomende problemen, of gebruik onze assistent om sneller informatie in de handleiding te vinden of uitleg te krijgen over specifieke functies.
Productinformatie
Merk | Kern |
Model | OBN 135 |
Categorie | Niet gecategoriseerd |
Taal | Nederlands |
Grootte | 6939 MB |