Handleiding
Je bekijkt pagina 11 van 202

11
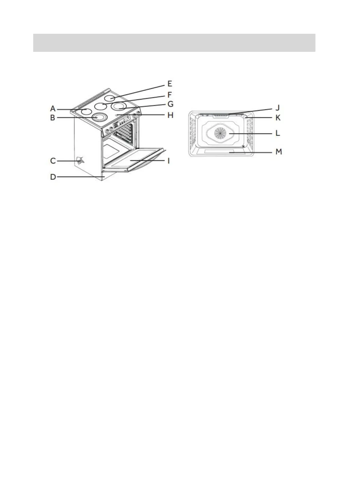
A. Left Rear Burner
B. Left Front Burner
C. Anti-tip Bracket
D. Kick Plate
E. Right Rear Burner
F. Middle Burner
G. Right Front Burner
H. Hot Surface Indicator Lights
I. Oven Door Window
J. Broil Element
K. Oven Lights
L. Convection Fan and Rear Element (not
visible)
M. Bottom Element (not visible)
PARTS AND FEATURES
Bekijk gratis de handleiding van Kenmore 96843, stel vragen en lees de antwoorden op veelvoorkomende problemen, of gebruik onze assistent om sneller informatie in de handleiding te vinden of uitleg te krijgen over specifieke functies.
Productinformatie
| Merk | Kenmore |
| Model | 96843 |
| Categorie | Afzuigkap |
| Taal | Nederlands |
| Grootte | 22174 MB |






