Handleiding
Je bekijkt pagina 14 van 60

14
EN
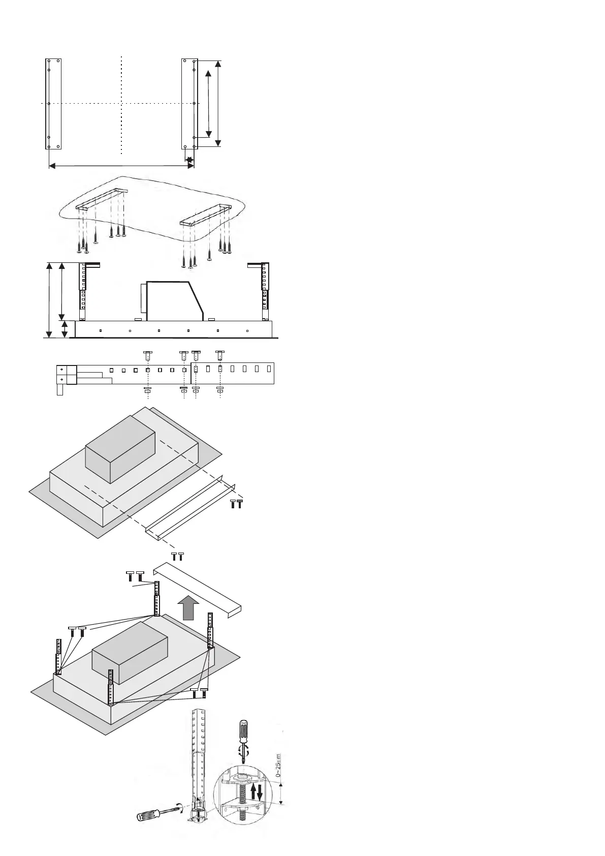
MOUNTING OF A CEILING COOKER HOOD
• The ceiling cooker hood should be placed at the
distance of at least 150 cm above the working top.
• The ceiling must can bear at least 120kg weight,
and the thickness of the ceiling must be not less
than 30mm.
• Drill 14 holes Ø 8 mm on the ceiling once the
installation size is determined. Use 14pcs of
ST6*40mm big flat screws and 14pcs wall plugs
to fix the two hanging board on the ceiling.
• Calculate the length of the angle iron. Use 32pcs
of M4*10 screws and M4 nut with gasket to
connect the angle iron into the adjustable angle
iron bracket.
Make sure the overlap length of angle iron cannot
less than 36mm.
• Choose outlet direction:
1. open the decorative plate and take out the filter.
2. unscrew the panel decorative strip.
3. unscrew cabinet housing and rotate it by
90°/180°/270° to choose the direction of the outlet,
then screw it back;
4. screw back the the panel decorative strip and instal
filter.
5. install the expansion pipe to the outlet.
• Connect the 4 adjustable angle iron bracket with
the housing by 8pcs M4*12mm screws.
Fix the housing onto the 2 hanging board, use
8pcs M4*12mm screws and M4 nut with gasket.
Pull the expansion pipe outside. The expansion
pipe must be fixed on the housing firmly.
• After installing the housing to the hanging board,
adjust the screw of the angle iron bracket, set the
housing level position and height.
Adjust rang of the angle iron bracket is 0-25mm.
Clockwise twist the screw of the 4 angle iron
bracket, slightly move the housing upwards.
Anticlockwise twist the screw of the angle iron
bracket, slightly move the housing downwards.
Screw the safety screw tightly after the level
position and height is set.
950
440
560
60
B
C
A
4 x
Bekijk gratis de handleiding van Kaiser EA 945 Eco, stel vragen en lees de antwoorden op veelvoorkomende problemen, of gebruik onze assistent om sneller informatie in de handleiding te vinden of uitleg te krijgen over specifieke functies.
Productinformatie
| Merk | Kaiser |
| Model | EA 945 Eco |
| Categorie | Afzuigkap |
| Taal | Nederlands |
| Grootte | 11910 MB |
Caratteristiche Prodotto
| Soort bediening | Touch |
| Kleur van het product | Roestvrijstaal |
| Ingebouwd display | Ja |
| Gewicht | 10000 g |
| Breedte | 900 mm |







