Juki MF-3580 handleiding
Handleiding
Je bekijkt pagina 108 van 440

ā 36 ā
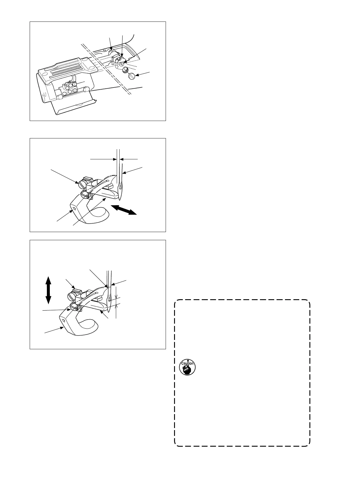
(4) Adjustment of longitudinal movement of
main feed dog
1) Loosen the setscrews (
7
and
8
) and remove the
plug female screw
9
.
2) Using a screwdriver, turn the eccentric pin
!0
clockwise and counterclockwise until the front and
rear positions of the main feed dog
1
are properly
adjusted.
7
8
!0
9
(5)
Longitudinal adjustment of the rear needle guard
1) When the pulley is turned counterclockwise and
the rear needle guard
1
advances to the most
front position, it lightly touches the left needle
2
(If necessary, press it lightly so that all the needles
can be guarded.) and then tip of the front looper
3
passes.
When tip of the front looper
3
reaches the position
1.5mm apart from the left side of the left needle
2
while this front looper
3
moves in right direction,
the standard position is that the needle tip comes in
contact with the rear needle guard
1
.
2) The relationship between the middle needle
4
and
the rear looper
5
and between the right needle
6
and the middle looper
7
is also required to assume
the same conditions as (5) -1). above in standard
positioning.
3) Loosen the setscrew
8
and move the rear needle
guard
1
forward or backward to adjust.
4) After adjustments, tighten the setscrew
8
.
Longitudinal directions of rear needle guard
Vertical direction of rear needle guard
Longitudinal
directions
2
1
3
8
1.5mm
Up-down
direction
1. To change the stitch length, readjust-
ment of the front and rear positions is
also needed for rear needle guard
1
.
2. When the rear needle guard is adjusted,
recheck the non-presence of a clearance
between the respective needles (
2
,
4
and
6
) and the respective loopers (
3
,
5
and
7
). If any clearance is perceived,
readjust the related conditions.
3. Is a clearance is actually developed
between the respective needles (
2
,
4
and
6
) and rear needle guard
1
, this
can be a cause of needle breakage or
stitch skipping.
4. When rear needle guard
1
presses the
respective needles (
2
,
4
and
6
) too
much, this can be a cause of needle tip
being blunt.
2
1
3
9
!0
When the right side face of the
needle is aligned with the blade
point of the looper
Distance between
the needle guard
and the bottom
end of the needle
eyelet : 0.5 to 2
mm
Bekijk gratis de handleiding van Juki MF-3580, stel vragen en lees de antwoorden op veelvoorkomende problemen, of gebruik onze assistent om sneller informatie in de handleiding te vinden of uitleg te krijgen over specifieke functies.
Productinformatie
| Merk | Juki |
| Model | MF-3580 |
| Categorie | Naaimachine |
| Taal | Nederlands |
| Grootte | 79694 MB |







