JET JJP-10BTOS handleiding

40 pagina's
PDF beschikbaar

Handleiding

Je bekijkt pagina 32 van 40
32
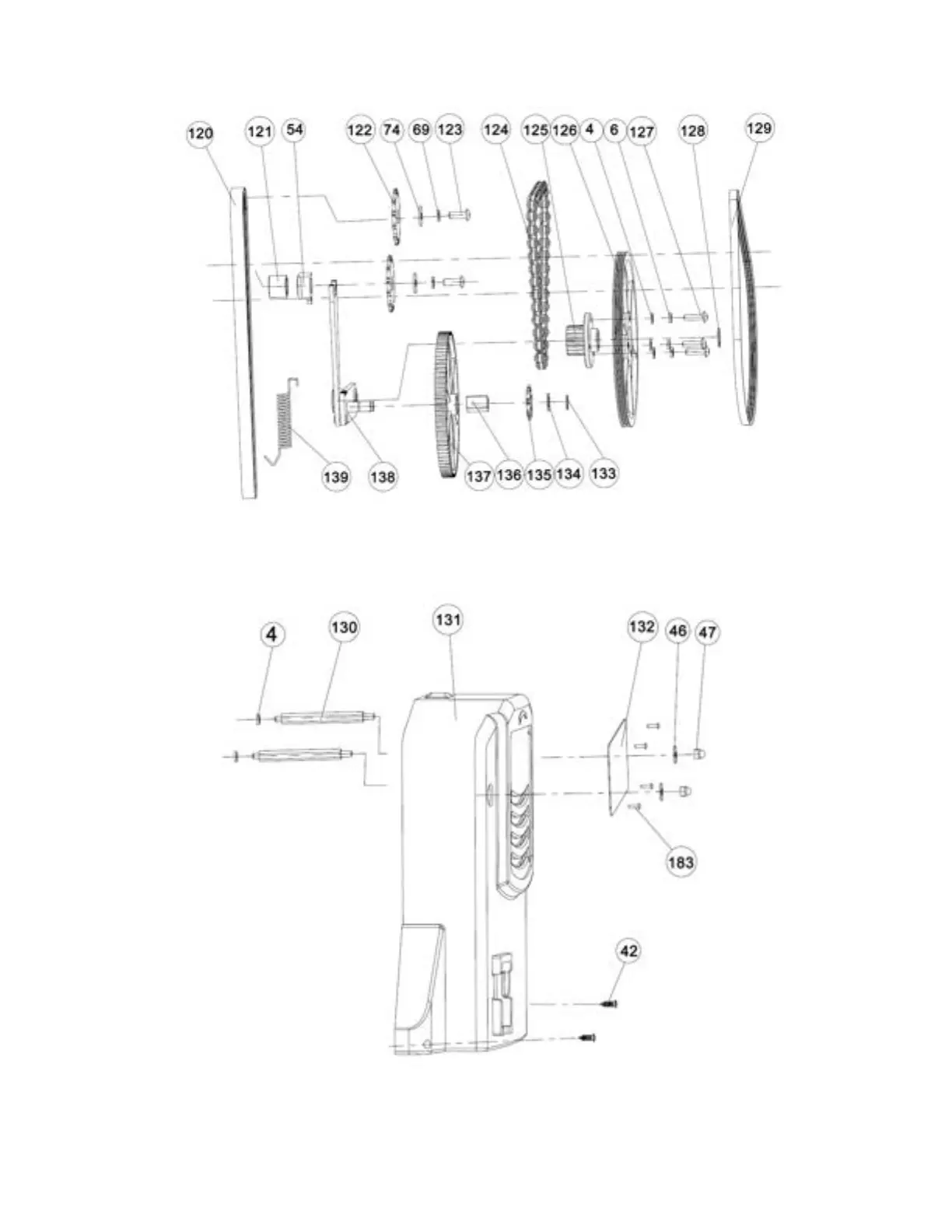
17.6 Chain Drive Assembly
17.7 Front Cover Assembly

Bekijk gratis de handleiding van JET JJP-10BTOS, stel vragen en lees de antwoorden op veelvoorkomende problemen, of gebruik onze assistent om sneller informatie in de handleiding te vinden of uitleg te krijgen over specifieke functies.

Productinformatie

MerkJET
ModelJJP-10BTOS
CategorieNiet gecategoriseerd
TaalNederlands
Grootte10551 MB