Intergas Xclusive 36 handleiding
Handleiding
Je bekijkt pagina 55 van 92

55
Delete assignment
Confirm
Confirm
RF menu
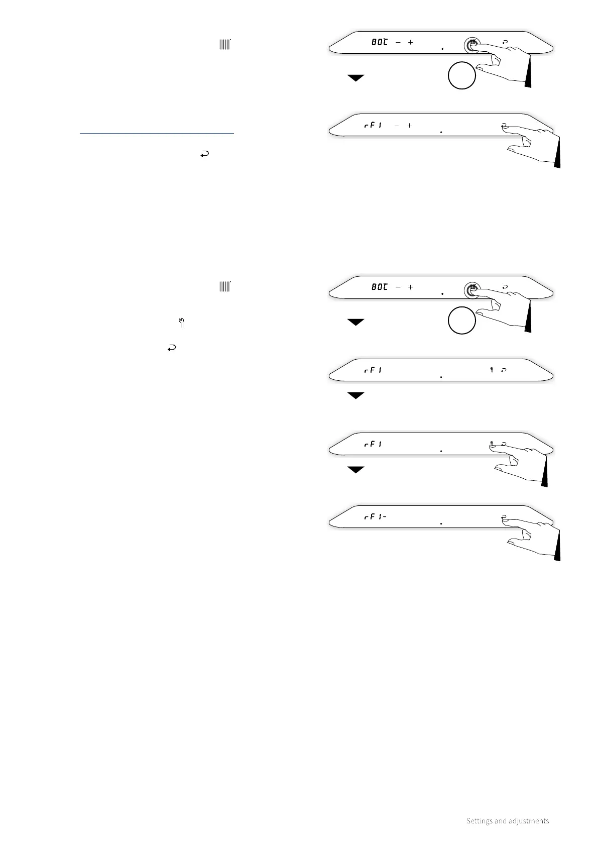
To adjust an RF room thermostat:
1. Touch the Central Heating symbol and hold for 2
seconds.
2. The method of assignment is dependent on the type of
room thermostat and is described within the installation
manual and operation instructions of the wireless room
thermostat. Both the appliance and the thermostat
must be in pairing mode to be able to pair.
https://youlearn.honeywellhome.com
3. Aer a successful assignment, ‘rF1’ appears in the le
display. Tap the Enter symbol to save.
Central heating
menu
2sec
Central heating
menu
2sec
To remove an assignment:
1. Touch the Central Heating symbol and hold for 2
seconds.
2. ‘rF1’ appears in the le display.
3. Tap the Service symbol to remove the assignment.
4. ‘rF1–’ appears in the le display.
5. Tap the Enter symbol to confirm the removal and return
to the main menu.
6. Make a new assignment if desired as described above.
NOTE: Removing an assigned room thermostat will disable the
central heating operation until a new one is assigned or a hard
wired control is fitted (see §7.5)
Bekijk gratis de handleiding van Intergas Xclusive 36, stel vragen en lees de antwoorden op veelvoorkomende problemen, of gebruik onze assistent om sneller informatie in de handleiding te vinden of uitleg te krijgen over specifieke functies.
Productinformatie
| Merk | Intergas |
| Model | Xclusive 36 |
| Categorie | Niet gecategoriseerd |
| Taal | Nederlands |
| Grootte | 12726 MB |




