IFM PE3026 handleiding
Handleiding
Je bekijkt pagina 30 van 32

7. Mise en service / Fonctionnement
Après le montage, le câblage et le réglage vérifier le bon fonctionne-
ment de l'appareil.
Signaux de défaut durant le fonctionnement:
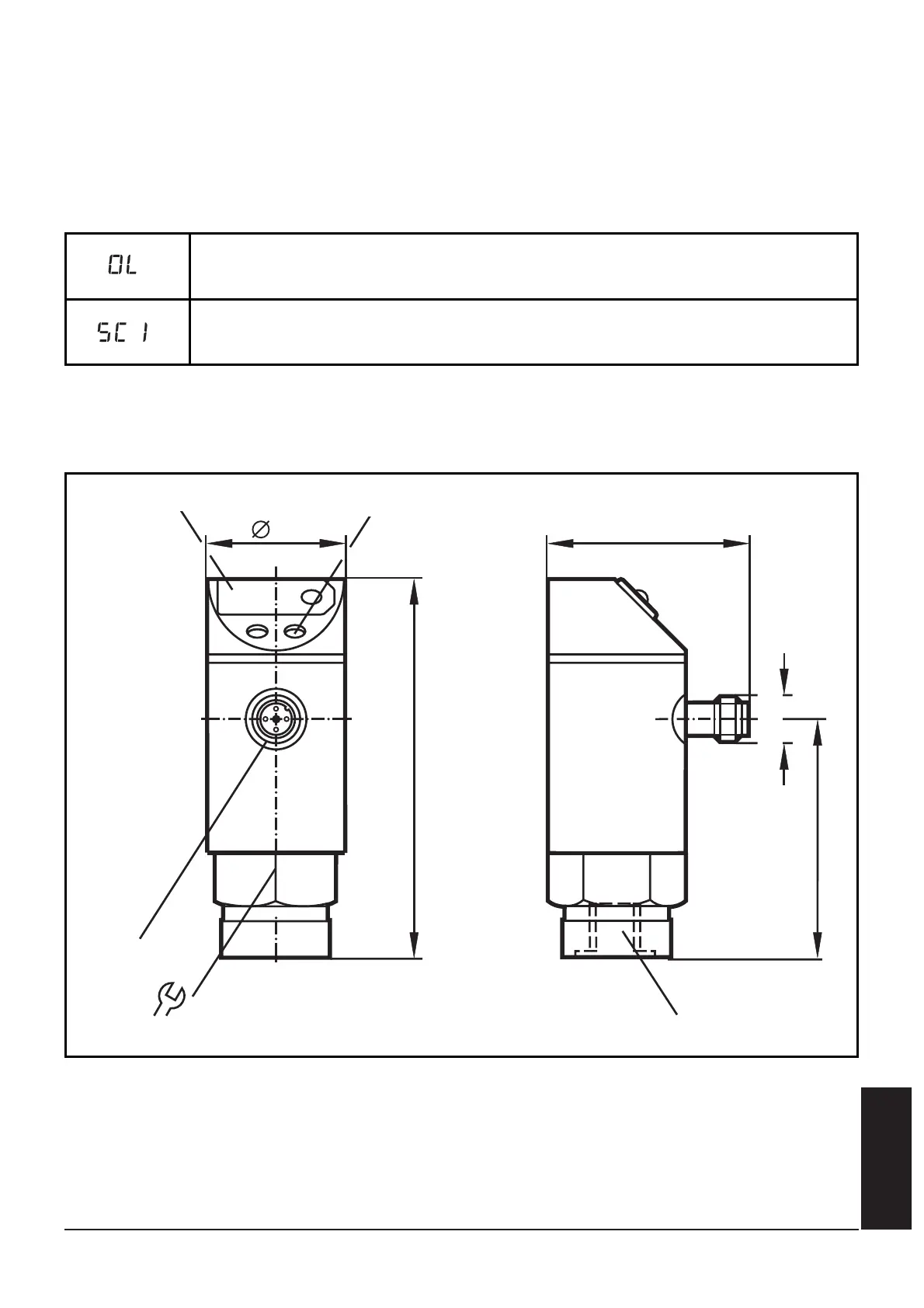
8. Dimensions
31
FRANÇAIS
91,5
34
M12x1
30
48
57,3
M12x1
visualisation digitale
bouton poussoir
montage process
surpression
(pression du système > 110% de la pression nominale maxi).
(clignotant) = court-circuit de la sortie de commutation;
la sortie est coupée.
Bekijk gratis de handleiding van IFM PE3026, stel vragen en lees de antwoorden op veelvoorkomende problemen, of gebruik onze assistent om sneller informatie in de handleiding te vinden of uitleg te krijgen over specifieke functies.
Productinformatie
| Merk | IFM |
| Model | PE3026 |
| Categorie | Niet gecategoriseerd |
| Taal | Nederlands |
| Grootte | 2798 MB |







