IFM LI2041 handleiding

33 pagina's
PDF beschikbaar

Handleiding

Je bekijkt pagina 13 van 33
Seite 13
DEUTSCH
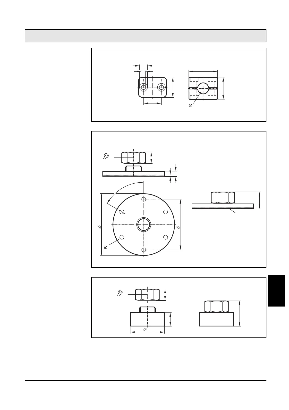
Bild 1
Bild 2
Bild 3
Technische Beschreibung
Technische Beschreibung Stand: 28. 09. 2005
42
33
16
26
30
6,2
11, 5
90
73
6,6
60°
x 6
2
7
30
17
24
Dichtung NBR
Maße eingebaut
Flansch für Klemmung 16mm
20,5
50
37,5
17
30
Maße eingebaut
Flansch für Klemmung 16mm

Bekijk gratis de handleiding van IFM LI2041, stel vragen en lees de antwoorden op veelvoorkomende problemen, of gebruik onze assistent om sneller informatie in de handleiding te vinden of uitleg te krijgen over specifieke functies.

Productinformatie

MerkIFM
ModelLI2041
CategorieNiet gecategoriseerd
TaalNederlands
Grootte4085 MB