IFM AC1005 handleiding
Handleiding
Je bekijkt pagina 7 van 47

0/1 Modus wählen
0/2 Master wählen
oder
7
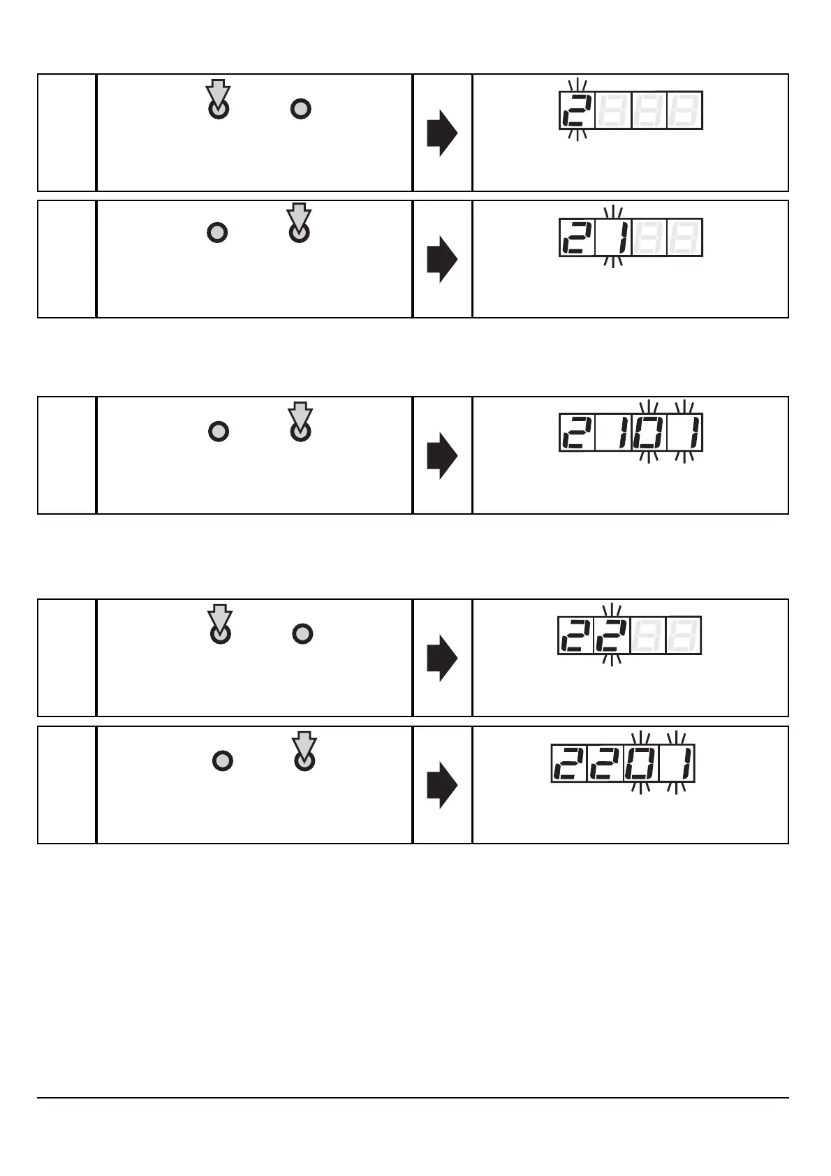
Mode Set
Mode Set
1
Drücken Sie, bis gewünschter
Modus angezeigt wird
2
Modus-Anzeige blinkt
Bestätigung des
gewünschten Modus
Anzeige des gewählten Modus,
Anzeige Master 1 blinkt
Mode Set
1
Bestätigung für Master 1
Anzeige Master 1,
Anzeige für 1. Slave blinkt
Mode Set
Mode Set
1
2
Drücken Sie 1 mal
Anzeige für Master 2 blinkt
Bestätigung für Master 2
Anzeige Master 2,
Anzeige für 1. Slave blinkt
Bekijk gratis de handleiding van IFM AC1005, stel vragen en lees de antwoorden op veelvoorkomende problemen, of gebruik onze assistent om sneller informatie in de handleiding te vinden of uitleg te krijgen over specifieke functies.
Productinformatie
| Merk | IFM |
| Model | AC1005 |
| Categorie | Niet gecategoriseerd |
| Taal | Nederlands |
| Grootte | 3470 MB |







