IFB Neptune VX1 handleiding
Handleiding
Je bekijkt pagina 10 van 35

EN - 6
2. INSTALLATION
2.1. Machine positioning
When positioning the machine, place it in
an area where dishes can be easily loaded
and unloaded. Do not put the machine in an
area where the ambient temperature falls
below 0°C.
Read all warnings located on the packaging
before removing the packaging and
positioning the machine.
Place the machine close to a water tap
and drain. Take into consideration that the
connections will not be altered once the
machine is in position.
Do not hold the machine by its door or
panel.
Leave an adequate distance around the
machine to allow ease of movement when
cleaning.
Ensure the water inlet and outlet
hoses are not squeezed or trapped
and that the machine does not stand
WARNING: Use the new water inlet
hose supplied with your machine, do not
use an old machine’s hose.
WARNING: Run water through the
new hose before connecting.
WARNING: Connect the hose
directly to the water inlet tap. The pressure
supplied by the tap should be a minimum
of 0.03 MPa and a maximum of 1 MPa. If
the pressure exceeds 1 MPa, a pressure
relief valve must be fitted between the
connection.
WARNING: After the connections are
made, turn the tap on fully and check
for water leaks. Always turn off the
on the electrical cable while positioning.
Adjust the feet so the machine is level and
balanced. The machine should be placed
on flat ground otherwise it will be unstable
and the door of the machine will not close
properly.
2.2. Water connection
We recommend fitting a filter to your water
inlet supply in order to prevent damage to
your machine due to contamination (sand,
rust, etc.) from indoor plumbing. This will
also help prevent yellowing and deposit
formation after washing.
Note printing on the water inlet hose!
If models are marked with 25°, the water
temperature may be max. 25 °C (cold
water).
For all other models:
Cold water preferred; hot water max.
temperature 60 °C.
2.3. Water inlet hose
water inlet tap after a wash program has
finished.
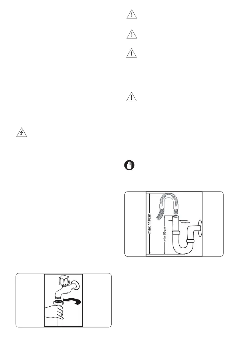
2.4. Drain Hose
Connect the water drain hose directly to
water drain hole or to the sink outlet spigot.
This connection should be minimum 50
cm and maximum 110 cm from floor that
dishwasher is placed.
NOTE :
Do not extend the drain
hose. You may insert the drain hose
in a drainage system without
concealing it.
Bekijk gratis de handleiding van IFB Neptune VX1, stel vragen en lees de antwoorden op veelvoorkomende problemen, of gebruik onze assistent om sneller informatie in de handleiding te vinden of uitleg te krijgen over specifieke functies.
Productinformatie
| Merk | IFB |
| Model | Neptune VX1 |
| Categorie | Vaatwasser |
| Taal | Nederlands |
| Grootte | 4990 MB |




