Icom ID-RP4010V handleiding
Handleiding
Je bekijkt pagina 15 van 40

3-4
は
じ
め
に
15
14
13
12
11
10
9
8
7
6
5
4
3
2
1
16
17
18
19
20
安
全
上
の
ご
注
意
さ
く
い
ん
21
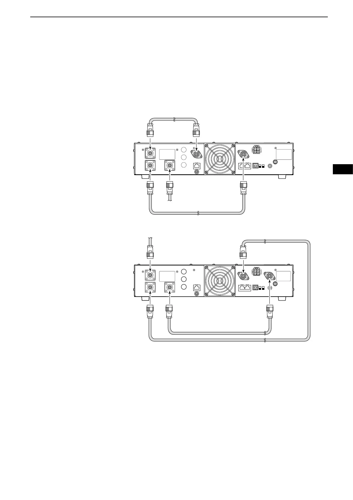
設置と接続
3
■デュプレクサーとアンテナの接続
デュプレクサー内蔵タイプの本製品では、同軸ケーブル(付属品)でデュプレクサーとアンテナコネクターを接続することで、
受信と送信を1本のアンテナで使用できます。
※内蔵のデュプレクサーを使用しない、またはデュプレクサーを内蔵しないタイプの本製品では、アンテナを[TXANT]と
[RXANT]に接続してください。
★レピータの周波数を逆シフトに設定する場合は、[TXANT]と[RXANT]への接続を入れ替えてください。
◇ID-RP4010V
[TX ANT]
[RX ANT]
[DUPLEXER COM]
[DUPLEXER LOW]
[DUPLEXER HIGH]
アンテナへ
同軸ケーブル(付属品)
★
同軸ケーブル(付属品)
★
◇ID-RP1200VD
[TX ANT]
[RX ANT]
[DUPLEXER HIGH]
[DUPLEXER COM]
[DUPLEXER LOW]
アンテナへ
(別売品:UR-2、AH-108など)
同軸ケーブル(付属品)
★
同軸ケーブル(付属品)
★
Bekijk gratis de handleiding van Icom ID-RP4010V, stel vragen en lees de antwoorden op veelvoorkomende problemen, of gebruik onze assistent om sneller informatie in de handleiding te vinden of uitleg te krijgen over specifieke functies.
Productinformatie
Merk | Icom |
Model | ID-RP4010V |
Categorie | Niet gecategoriseerd |
Taal | Nederlands |
Grootte | 8711 MB |