I-Tec C31TRIPLEDOCKPD handleiding
Handleiding
Je bekijkt pagina 6 van 52

Quick Start / i-tec USB-C Docking Station
6 | ENGLISH
• OS: Windows 10, macOS, Android, Chrome OS Linux with the latest updates
• Dimensions: 197 x 86 x 31 mm
• Weight: 245 g
Note for macOS: macOS does not support MST technology (2 or more monitors
in extended mode). None of the docking stations using the USB-C DisplayPort
Alt Mode supports a connection of two or more monitors in macOS, this can
only handle a Thunderbolt 3 docking station and a DisplayLink docking station.
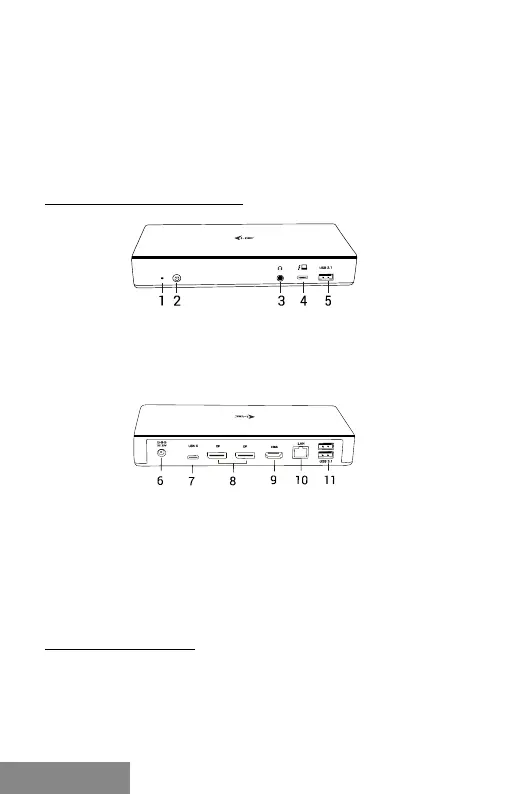
DOCKING STATION DESCRIPTION
Front panel:
1. LED indicators
2. ON/OFF switch - for turning the docking station on and off
3. 1x 3.5 mm Audio combo connector
4. 1x USB-C port Gen. 2 (10 Gb/s)
5. 1x USB 3.1 port Gen. 2 (10 Gb/s) with a quick charge, BC 1.2 specification
Back panel:
6. Power input (20.0V/5.0A)
7. USB-C port Data / DP Alt Mode / Power Delivery - to connect the docking
station to the laptop's USB-C port. This port supports the Power Delivery
function on profile 5, max. 85.0 W.
8. 2x DisplayPort - allows to connect up to one 5K/60Hz monitor.
Only if the laptop meets the requirements.
9. 1x HDMI - for connecting a monitor with a HDMI input
10. Ethernet GLAN RJ-45 port – supports 10/100/1000 Mb/s
11. 2x USB-A 3.1 port Gen. 2 (10 Gbps) with a quick charge, BC 1.2 specification
SYSTEM REQUIREMENTS
Hardware requirements: Device with a free USB-C or Thunderbolt3 port
Power Delivery requirements: a device with a free USB-C or Thunderbolt 3 port
with "Power Delivery" support.
Video output requirements: device with a free USB-C port with “DisplayPort
Alternate Mode” support or with Thunderbolt 3 port.
Bekijk gratis de handleiding van I-Tec C31TRIPLEDOCKPD, stel vragen en lees de antwoorden op veelvoorkomende problemen, of gebruik onze assistent om sneller informatie in de handleiding te vinden of uitleg te krijgen over specifieke functies.
Productinformatie
Merk | I-Tec |
Model | C31TRIPLEDOCKPD |
Categorie | Niet gecategoriseerd |
Taal | Nederlands |
Grootte | 6349 MB |
Caratteristiche Prodotto
Kleur van het product | Zwart |
Gewicht | 256 g |
Breedte | 190 mm |
Diepte | 86 mm |
Hoogte | 27 mm |