I-PRO WV-U15750-V3L handleiding
Handleiding
Je bekijkt pagina 71 van 147

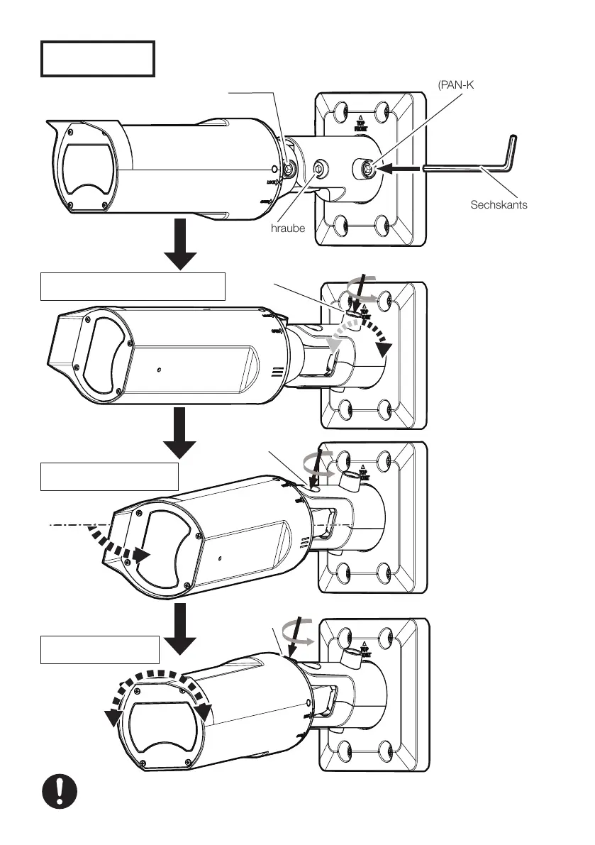
Schritt 6
Gier-Klemmschraube
(YAW-Klemmschraube)
Schwenk-Klemmschraube
(PAN-Klemmschraube)
Kipp-Klemmschraube
(TILT-Klemmschraube)
5 mm-Sechskantschlüssel
(vor Ort zu beschaffen)
Schwenk-Klemmschraube
(PAN-Klemmschraube)
Gier-Klemmschraube
(YAW-Klemm-
schraube)
Kipp-Klemmschraube
(TILT-Klemmschraube)
•
Ziehen Sie nach der Einstellung der Kameraausrichtung die Sicherungsschrauben provisorisch
fest.
• Verstellen Sie den PAN Winkel nicht um mehr als ±180°. Dadurch könnten Kabel reißen.
PAN (Schwenken)
TILT (Neigen)
YAW (Gier)
71
Bekijk gratis de handleiding van I-PRO WV-U15750-V3L, stel vragen en lees de antwoorden op veelvoorkomende problemen, of gebruik onze assistent om sneller informatie in de handleiding te vinden of uitleg te krijgen over specifieke functies.
Productinformatie
Merk | I-PRO |
Model | WV-U15750-V3L |
Categorie | Bewakingscamera |
Taal | Nederlands |
Grootte | 18013 MB |