I-PRO WV-U11350-V3 handleiding
Handleiding
Je bekijkt pagina 13 van 97

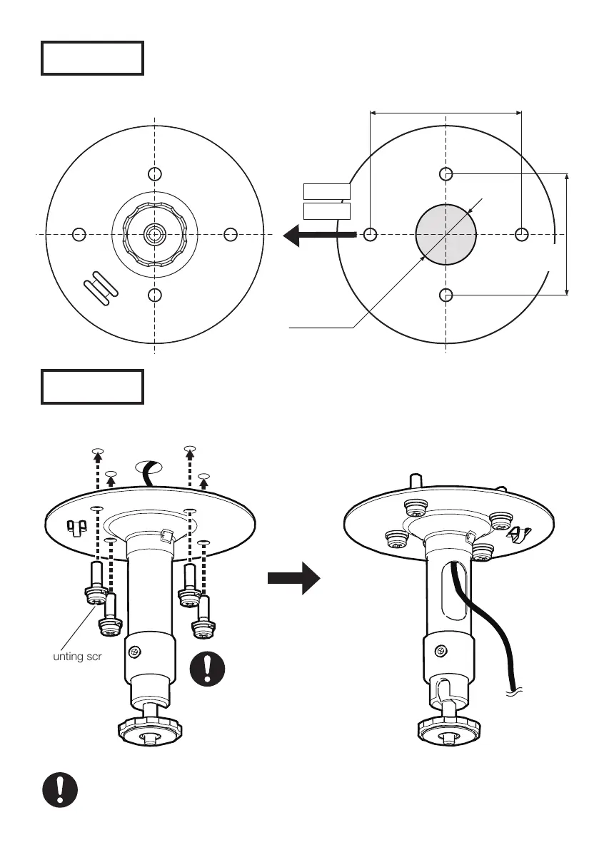
Step 2
Step 3
*Drill a hole in the center for wiring if necessary.
FRONT
83.5 mm
{3-9/32 inches}
ø30 mm
{ø1-3/16 inches}
66.7 mm
{2-5/8 inches}
TOP
<Camera mounting side>
■
When wiring from above the ceiling
Minimum pull-out strength:
562 N {126 lbf} (per 1 pc.)
• Determine the mounting height of the camera so that the lowest part of the camera
or the camera mounting bracket after the installation is 2 m 80 cm {110 inches} or higher
from the floor.
Mounting screw
(4 pcs.)
(M6: locally
procured)
13
Bekijk gratis de handleiding van I-PRO WV-U11350-V3, stel vragen en lees de antwoorden op veelvoorkomende problemen, of gebruik onze assistent om sneller informatie in de handleiding te vinden of uitleg te krijgen over specifieke functies.
Productinformatie
Merk | I-PRO |
Model | WV-U11350-V3 |
Categorie | Bewakingscamera |
Taal | Nederlands |
Grootte | 9873 MB |