Hydra Kool KPM-OF handleiding
Handleiding
Je bekijkt pagina 10 van 34

10
Front
KPM-CG-xx-R
59
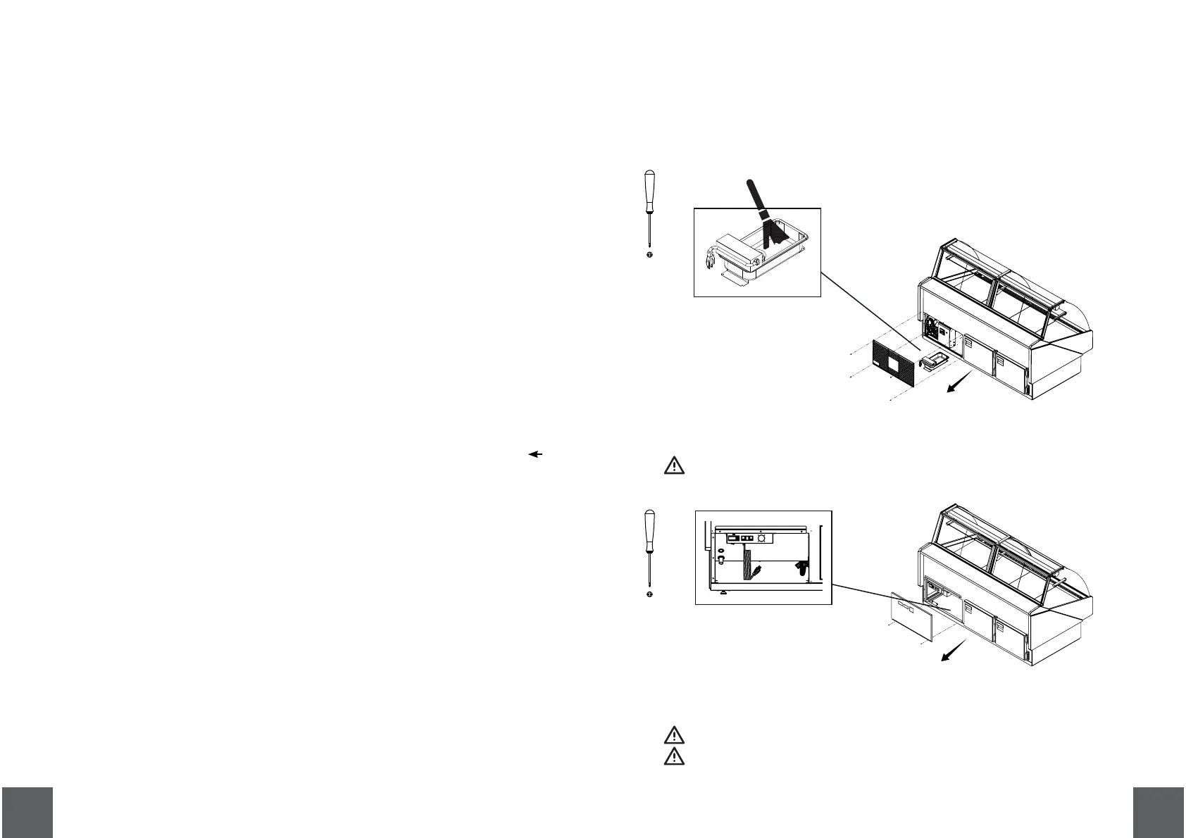
To access the evap pan:
- Remove protection grille.
- Unplug the evap pan.
- Relieve the screws and take the evap pan off.
- Clean with soft detergent or warm water.
5.10 Drain inspection
Check for drain obstruction and correct position every month (Remotes only).
5.11 Glass type conversion model
This operation must be performed by a qualified technician.
Contact distributor for specific manual to assist in conversion.
Bekijk gratis de handleiding van Hydra Kool KPM-OF, stel vragen en lees de antwoorden op veelvoorkomende problemen, of gebruik onze assistent om sneller informatie in de handleiding te vinden of uitleg te krijgen over specifieke functies.
Productinformatie
Merk | Hydra Kool |
Model | KPM-OF |
Categorie | Koelkast |
Taal | Nederlands |
Grootte | 5014 MB |