Handleiding
Je bekijkt pagina 14 van 36

EN / 14
3
Handle (Upper cooking section )
4
Front door (Upper cooking section )
5
Handle (Bottom cooking section )
6
Front door (Bottom cooking section )
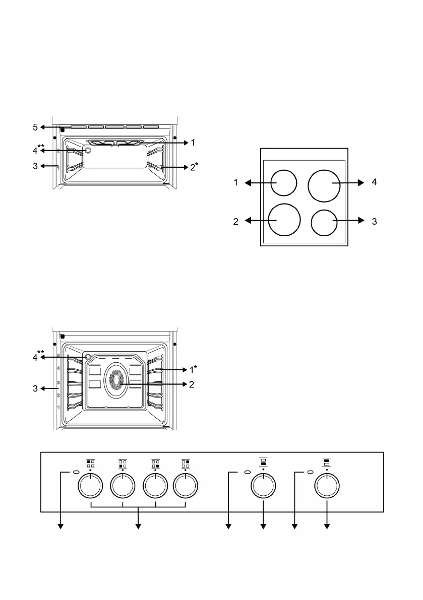
3.1.1 Cooking Section
Upper cooking section
1 Upper heater
2 Wire shelves
3 Shelf positions
4 Lamp
5 Ventilation holes
* Varies depending on the model. Your product may
not be equipped with a wire rack. In the image, a
product with wire rack is shown as an example.
** Varies depending on the model. Your product may
not be equipped with a lamp, or the type and loca-
tion of the lamp may differ from the illustration.
Bottom cooking section
1 Wire shelves
2 Fan motor (behind the steel plate)
3 Shelf positions
4 Lamp
* Varies depending on the model. Your product may
not be equipped with a wire rack. In the image, a
product with wire rack is shown as an example.
** Varies depending on the model. Your product may
not be equipped with a lamp, or the type and loca-
tion of the lamp may differ from the illustration.
3.1.2 Hob section
1 Rear left - Single cooking zone
2 Front left - Single cooking zone
3 Front right - Single cooking zone
4 Rear right - Single cooking zone
3.2 Introduction of the oven control
panel
1 2 3 4 5 6
Bekijk gratis de handleiding van Hotpoint HTE5VCB, stel vragen en lees de antwoorden op veelvoorkomende problemen, of gebruik onze assistent om sneller informatie in de handleiding te vinden of uitleg te krijgen over specifieke functies.
Productinformatie
Merk | Hotpoint |
Model | HTE5VCB |
Categorie | Fornuis |
Taal | Nederlands |
Grootte | 3765 MB |