Handleiding
Je bekijkt pagina 19 van 32

EN / 19
7 Use of Your Appliance
7.1 Control Panel of the Product
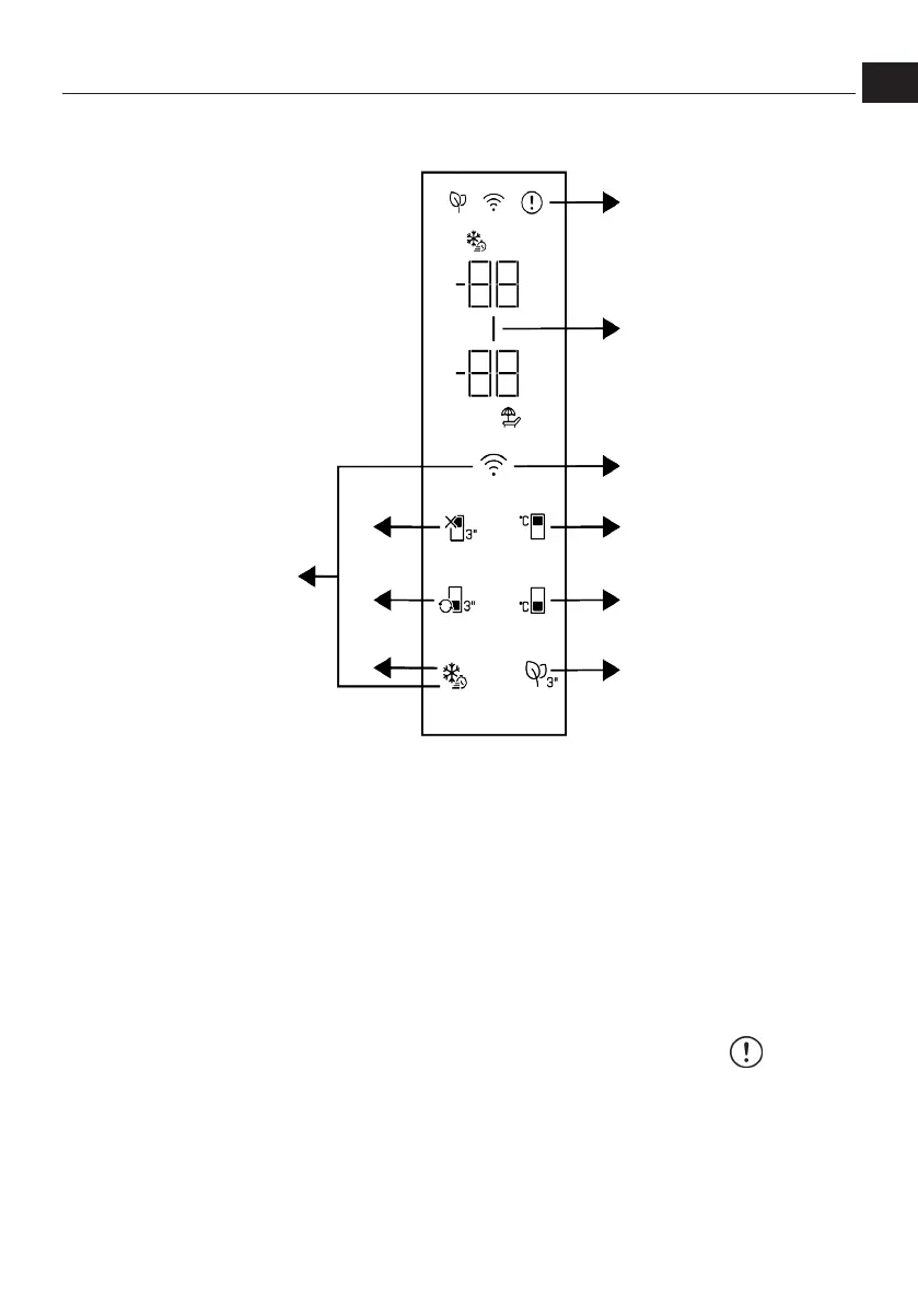
1
2
3
4
5
67
8
9
10
1 * Error Status Indicator 2 * Energy Saving (Display Off) Indic-
ator
3 *Wireless Key 4 * Cooler Compartment Temperature
Setting Key
5 * Freezer Compartment Temperature
Setting Key
6 * Deodoriser Module Key
7 * Quick Freezing Key 8 *Compartment Conversion Key
9 * Cooler Compartment OFF (Vaca-
tion) Function
10 *Key for Resetting Wireless Connec-
tion Settings
Read the “Safety Instructions” first!
Auditory and visual functions on the indic-
ator panel will assist you when using the
product.
*Optional: Shown functions are optional,
there may be differences of shape and loc-
ation in functions found on your appliance’s
indicator panel.
1.Error Condition Indicator
This indicator shall be active when your re-
frigerator cannot perform adequate cooling
or in case of any sensor error. “E” will be
displayed on the freezer compartment tem-
perature indicator and figures such as
1,2,3... will be displayed on the cooler com-
partment temperature indicator. These fig-
EN
Bekijk gratis de handleiding van Hotpoint HPK 26363 W4UK, stel vragen en lees de antwoorden op veelvoorkomende problemen, of gebruik onze assistent om sneller informatie in de handleiding te vinden of uitleg te krijgen over specifieke functies.
Productinformatie
Merk | Hotpoint |
Model | HPK 26363 W4UK |
Categorie | Koelkast |
Taal | Nederlands |
Grootte | 2540 MB |