Handleiding
Je bekijkt pagina 25 van 40

EN / 25
4 Increase key
5 Settings key
6 Key lock key
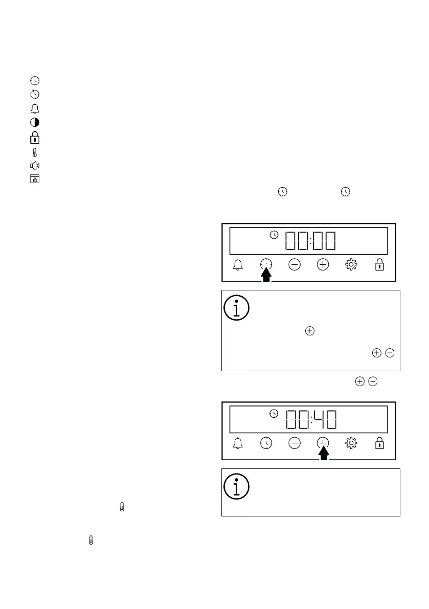
Display symbols
: Baking time symbol
: Baking end time symbol *
: Alarm symbol
: Brightness symbol
: Key lock symbol
: Temperature symbol
: Volume level symbol
: Door lock symbol *
*It varies depending on the product model. It may not
be available on your product.
Turning on the oven
When you select a operating function you
want to cook with the function selection
knob and set a certain temperature with the
temperature knob, the oven starts operat-
ing.
Turning off the oven
You can turn the oven off by turning the
function selection knob and temperature
knob to the off (up) position.
Manual cooking to select temperature and
oven operating function
You can cook by making a manual control
(at your own control) without setting the
cooking time by selecting the temperature
and operating function specific to your
food.
1. Select the operating function you want
to cook with the function selection
knob.
2. Set the temperature you want to cook
with the temperature knob.
ð Your oven will start operating immedi-
ately at the selected function and tem-
perature, and the symbol will appear
on the display. When the temperature
inside the oven reaches the set temper-
ature, the symbol disappears. The
oven does not switch off automatically
since manual cooking is done without
setting the cooking time. You have to
control cooking and turn it off yourself.
When your cooking is completed, turn
off the oven by turning the function se-
lection knob and the temperature knob
to the off (up) position.
Cooking by setting the cooking time:
You can have the oven turn off automatic-
ally at the end of the time by selecting the
temperature and operating function spe-
cific to your food and setting the cooking
time on the timer.
1. Select the operating function for cook-
ing.
2. Touch the key until the symbol ap-
pears on the display for the cooking
time.
After setting the operation function
and temperature, you can set the
cooking time for 30 minutes by
touching the key directly for
quick setting of the cooking time
and change the time with the /
keys.
3. Set the cooking time with the /
keys.
The cooking time increases by 1
minute in the first 15 minutes, after
15 minutes it increases by 5
minutes.
4. Put your food in the oven and set the
temperature with the temperature knob.
Bekijk gratis de handleiding van Hotpoint DIH 10D W, stel vragen en lees de antwoorden op veelvoorkomende problemen, of gebruik onze assistent om sneller informatie in de handleiding te vinden of uitleg te krijgen over specifieke functies.
Productinformatie
Merk | Hotpoint |
Model | DIH 10D W |
Categorie | Oven |
Taal | Nederlands |
Grootte | 3955 MB |