Hoshizaki KMH-2100SRJZ3 handleiding
Handleiding
Je bekijkt pagina 17 van 39

17
KMH-2100SRJZ
KMH-2100SWJ3
KMH-2100SRJZ3
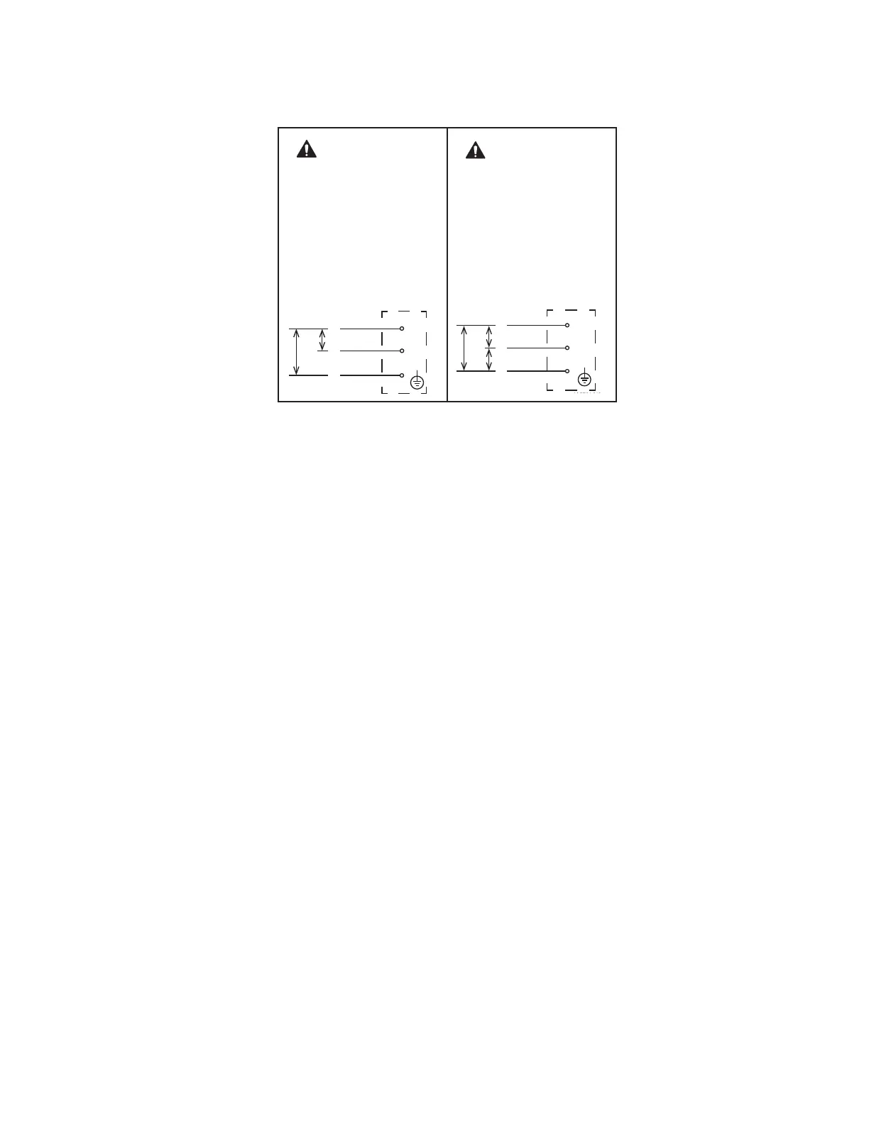
WARNING
ELECTRICAL CONNECTION
THIS UNIT MUST BE GROUNDED
Failure to properly ground or wire
this unit could result in death,
serious injury, or severe damage
to the icemaker. The white lead
must be connected to the neutral
conductor of the power source.
See diagram below.
4A5700-010
208-230/60/1
(3 wire with neutral for 115V)
JUNCTION BOX
208-230
V
BLACK
BROWN
L1
L2
WHITE
N
1
15-
120V
Fig. 7
BROWN
WARNING
ELECTRICAL CONNECTION
THIS UNIT MUST BE GROUNDED
Failure to properly ground or wire
this unit could result in death,
serious injury, or severe damage to
the icemaker.
This unit must be connected to a
three-phase power source.
The transformer’s voltage tap switch
must be positioned to match incoming
voltage at startup.
See diagram below.
208-230/60/3
4A5701-010
JUNCTION BOX
208-230
V
BLACK
L1
L3
RED
L2
208-
230V
208-
230V
Bekijk gratis de handleiding van Hoshizaki KMH-2100SRJZ3, stel vragen en lees de antwoorden op veelvoorkomende problemen, of gebruik onze assistent om sneller informatie in de handleiding te vinden of uitleg te krijgen over specifieke functies.
Productinformatie
| Merk | Hoshizaki |
| Model | KMH-2100SRJZ3 |
| Categorie | Niet gecategoriseerd |
| Taal | Nederlands |
| Grootte | 3252 MB |







