Hoshizaki FS-1022MLJ-C handleiding
Handleiding
Je bekijkt pagina 14 van 38

14
D. Installation of the Icemaker
1. Dispenser Unit/Ice Storage Bin and Icemaker Setup
WARNING
The installer must ensure the dispenser unit/ice storage bin is compatible with
the icemaker, and the dispenser unit/ice storage bin and icemaker are properly
attached and secured.
1) If mounting the icemaker on top of a dispenser unit, follow the dispenser unit's setup
procedure. If mounting the icemaker on top of an ice storage bin, unpack the ice storage
bin, and attach the 4 adjustable legs provided (bin accessory) to the bottom of the ice
storage bin.
2) Position the dispenser unit/ice storage bin in its permanent location.
3) If required, install an adapter kit or top kit. Contact your local Hoshizaki distributor for
recommendations.
4) Level the dispenser unit/ice storage bin in both the left-to-right and front-to-rear
directions. Ifusing an ice storage bin, adjust the ice storage bin legs to level.
5) Place the icemaker on top of the dispenser unit/ice storage bin.
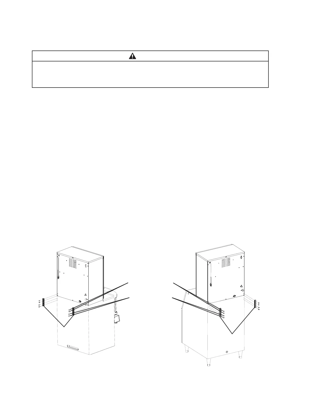
6) Follow the dispenser unit/ice storage bin, adapter kit, or top kit instructions for securing
the icemaker. If no instructions are available, secure the icemaker using the mounting
brackets provided. Secure the mounting brackets to the icemaker with the 5×12
machine bolts provided. See Fig. 5. Secure the mounting brackets to the dispenser unit
with the self-tapping bolts provided. NOTICE! Use care to avoid damage to dispenser
unit/ice storage bin components when attaching the mounting brackets.
Icemaker
Fig. 5
Self-Tapping Bolts
Mounting
Brackets
5×12 Machine Bolts
Dispenser
Unit
Ice
Storage
Bin
Mounting
Brackets
Icemaker
Bekijk gratis de handleiding van Hoshizaki FS-1022MLJ-C, stel vragen en lees de antwoorden op veelvoorkomende problemen, of gebruik onze assistent om sneller informatie in de handleiding te vinden of uitleg te krijgen over specifieke functies.
Productinformatie
Merk | Hoshizaki |
Model | FS-1022MLJ-C |
Categorie | Niet gecategoriseerd |
Taal | Nederlands |
Grootte | 3317 MB |