Handleiding
Je bekijkt pagina 48 van 95

47
Conectar de la placa de cocción a la red eléctrica
Esta placa de cocción sólo debe ser conectada a la red eléctrica por una persona debidamente cualificada.
A
ntes de conectar la placa de cocción a la red eléctrica, compruebe que:
1.
El sistema de cableado doméstico es apto para la potencia necesaria para la placa.
2.
El voltaje se corresponde con el valor indicado en la placa nominal
3.
Las secciones de cable del suministro eléctrico pueden soportar la carga especificada en la placa nominal.
P
ara conectar la placa a la red eléctrica, no utilice adaptadores, reductores o dispositivos de ramificación,
pue
sto que pueden causar un sobrecalentamiento e incendios.
E
l cable de suministro eléctrico no debe tocar las piezas calientes y debe colocarse de manera que su temperatura
no
supere los 75 °C en ningún punto.
Com
pruebe con un electricista si el sistema de cableado doméstico es adecuado y no presenta alteraciones.
Cua
lquier alteración únicamente puede realizarla un electricista cualificado.
• Si el cable está dañado o tiene que reemplazarse, la operación debe realizarla el agente posventa con
herramientas adecuadas, para evitar accidentes.
• Si el electrodoméstico se conecta directamente a la red, deberá instalarse un disyuntor omnipolar con un espacio
mínimo de 3mm entre los contactos.
• El instalador debe garantizar que se realiza la conexión eléctrica correcta y que cumple con las regulaciones
en
materia de seguridad.
• El cable no debe estar doblado ni comprimido.
• Debe comprobarse el cable regularmente y únicamente lo puede reemplazar un técnico autorizado.
La superficie inferior y el cable de alimentación de la placa no son accesibles después de la instalación.
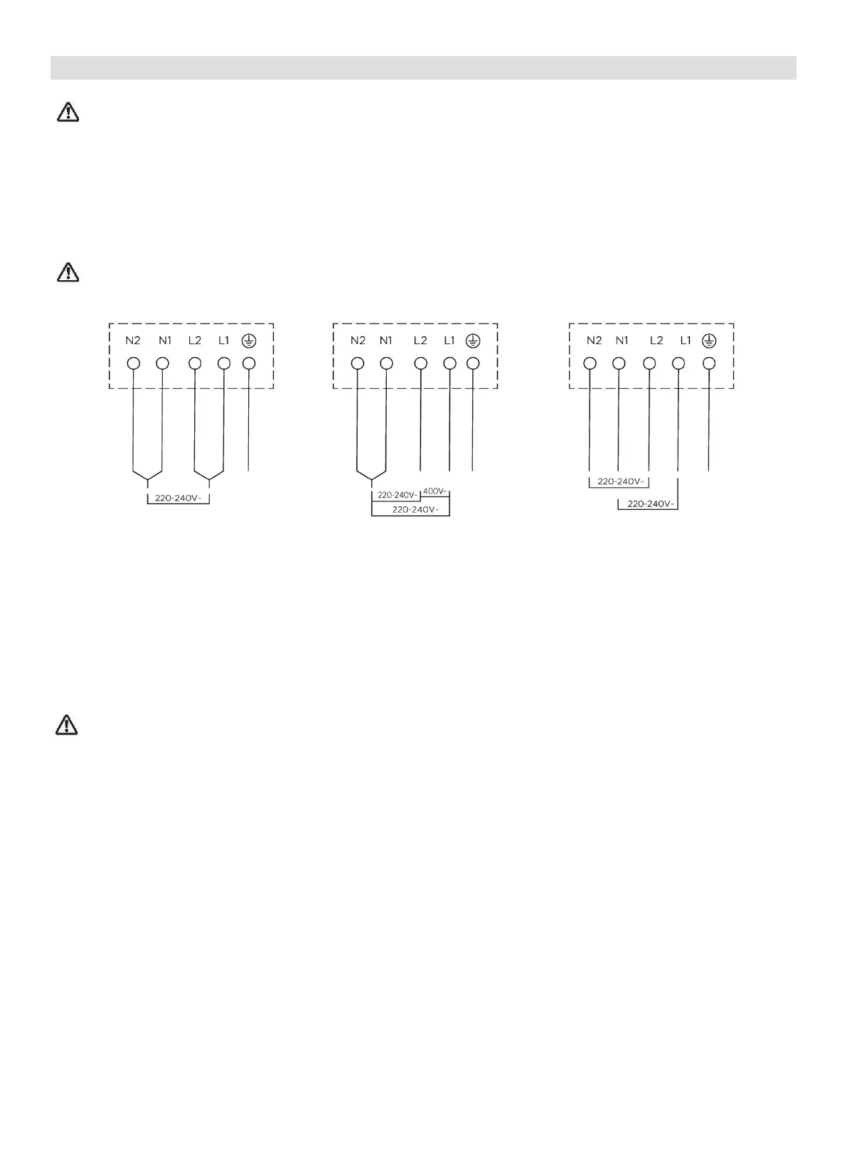
Amarillo/Verde
Marrón
Negro
Amarillo/Verde
Azul
Gris
Marrón
Negro
Amarillo/Verde
Marrón
Negro
Azul
Gris
Azul
Gris
Bekijk gratis de handleiding van Hoover HIS633SCTTWIFI/1, stel vragen en lees de antwoorden op veelvoorkomende problemen, of gebruik onze assistent om sneller informatie in de handleiding te vinden of uitleg te krijgen over specifieke functies.
Productinformatie
Merk | Hoover |
Model | HIS633SCTTWIFI/1 |
Categorie | Fornuis |
Taal | Nederlands |
Grootte | 8742 MB |