Handleiding
Je bekijkt pagina 7 van 20

06 GB
5. USE
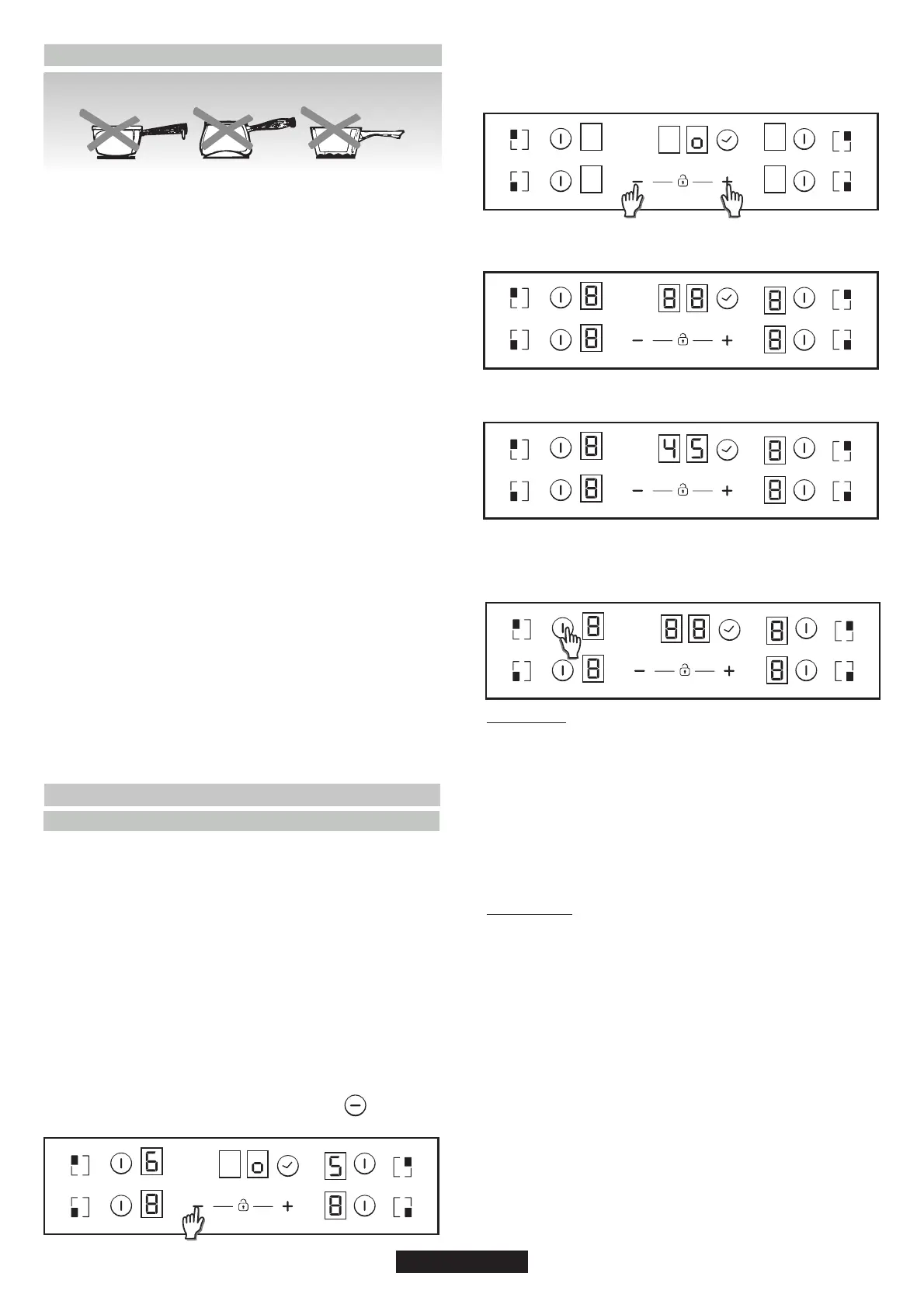
4. HOB COOKWARE ADVICE
Using good quality cookware is critical for setting
the best performance from your hob.
• Always use good quality cookware with perfectly flat and thick
bases : using this type of cookware will prevent hot spots that cause
food to stick. Thick metal pots and pans will provide an even
distribution of heat.
• when filling pansEnsure that the base of the pot or pan is dry :
with liquid or using one that has been stored in the refrigerator, ensure
that the base of the pan is completely dry before placing it on the hob.
This will help to avoid staining the hob.
• Use pans whose diameter is wide enough to completely cover
the surface unit : the size of the pan should be no smaller than the
heating area. If it is slightly wider the energy will be used at its
maximum efficiency.
THE CHOICE OF COOKWARE - The following information will help
you to choose cookware which will give good performance.
Stainless Steel : highly recommended. Especially good with a
sandwich clad base. The sandwich base combines the benefits of
stainless steel (appearance, durability and stability) with the
advantages of aluminium or copper (heat conduction, even heat
distribution).
Aluminium : heavy weight recommended. Good conductivity.
Aluminium residues sometimes appear as scratches on the hob, but
can be removed if cleaned immediately.
Because of its low melting point, thin aluminium should not be used.
Cast Iron : usable, but not recommended. Poor performance. May
scratch the surface.
Copper Bottom / stoneware: heavy weight recommended. Good
performance, but copper may leave residues which can appear as
scratches. The residues can be removed, as long as the hob is
cleaned immediately. However, do not let these pots boil
dry. Overheated metal can bond to glass hobs. An overheated copper
pot will leave a residue that will permanently stain the hob.
Porcelain/enamel : Good perfomance only with a thiny smooth, flat
base.
Glass-ceramic : not recommended. Poor performance. May scratch
the surface.
1) If any cooking stage is in position 0, this display will switch OFF
automatically after 10 seconds and the zone OFF sequence will
sound.
2) If there is residual heat indication in the display which is OFF, "H" will
be displayed.
3) Even lock function is active you can switch OFF a zone.
4) If only one heater is active and this one is switched off, 4 Short beep
will be heard indicating all cook top is Off.
Switch ON/OFF a heater zone
To switch ON a heater Touch any heater´s zone during 400 msec.
Long beep will be heard and "0" value will appear in target zone digit,
indicating power level.
1) If any cooking stage is in position 0, this display will switch OFF
automatically after 10 seconds and the zone OFF sequence will
sound.
2) If there is residual heat indication in the display which is ON but in 0
power, "0" will appear changing over.
3) If lock function is active you cannot switch ON a zone.
To switch OFF a heater Touch any heater´s zone during 1,2 sec. 3
Short beeps will be heard and nothing or "H" value will appear in
target zone digit if residual heat exists. Zone will be OFF.
How to choose power management level
Through the "Power management" function, the user can set the
maximum power that can be reached by the hob. Power management
function is only available during first 30 seconds after switch on the
hob. There is even the possibility to repeat this setting switching off
and on the power plug. By setting the desired maximum power, the
hob automatically adjusts the distribution in the various cooking zones
so that this limit is never exceeded; with the added advantage of being
able to simultaneously manage all the zones without overload
problems. The customer can set the maximum power of hob between
2.5 kW and the maximum related power of the hob (this can change
according to the model) (for example if the maximum power of the hob
is 7.2 kW. The maximum power level for setting is between 2.5kW and
7.2kW)At the time of purchase, the hob is set to maximum power.After
connecting the appliance to the electrical power, within 30 seconds
you can set the power level based on the points shown below:
1.- Switch on hob.
2.- Let touch control finish its initialization process.
3.- Before pass 30 seconds touch during 5 seconds ‘ key.
4.-After this moment, this message will appear on display.
5.- Usng ‘Plus’ and ‘Mnus’ keys Power management value can be
adjusted. In ths example case between 6500 and 2500w. When
requred value s selected, touch at the same tme ‘Plus’ & ‘Mnus’ keys
durng 5 seconds.
6.- When this process is finished, a long beep is heard and a reset is
produced. Start-up process will be generated again.
7.- After start-up process, in timer display ECO power management
will be showed.
After that, touch control won´t allow any combination which
can exceed this Eco limit.
P
P
4
5
00
Bekijk gratis de handleiding van Hoover HH64CCB, stel vragen en lees de antwoorden op veelvoorkomende problemen, of gebruik onze assistent om sneller informatie in de handleiding te vinden of uitleg te krijgen over specifieke functies.
Productinformatie
Merk | Hoover |
Model | HH64CCB |
Categorie | Fornuis |
Taal | Nederlands |
Grootte | 3718 MB |
Caratteristiche Prodotto
Apparaatplaatsing | Ingebouwd |
Soort bediening | Touch |
Kleur van het product | Zwart |
Ingebouwd display | Ja |
Timer | Nee |