Holzmann ED750FDQ handleiding

95 pagina's
PDF beschikbaar

Handleiding

Je bekijkt pagina 80 van 95
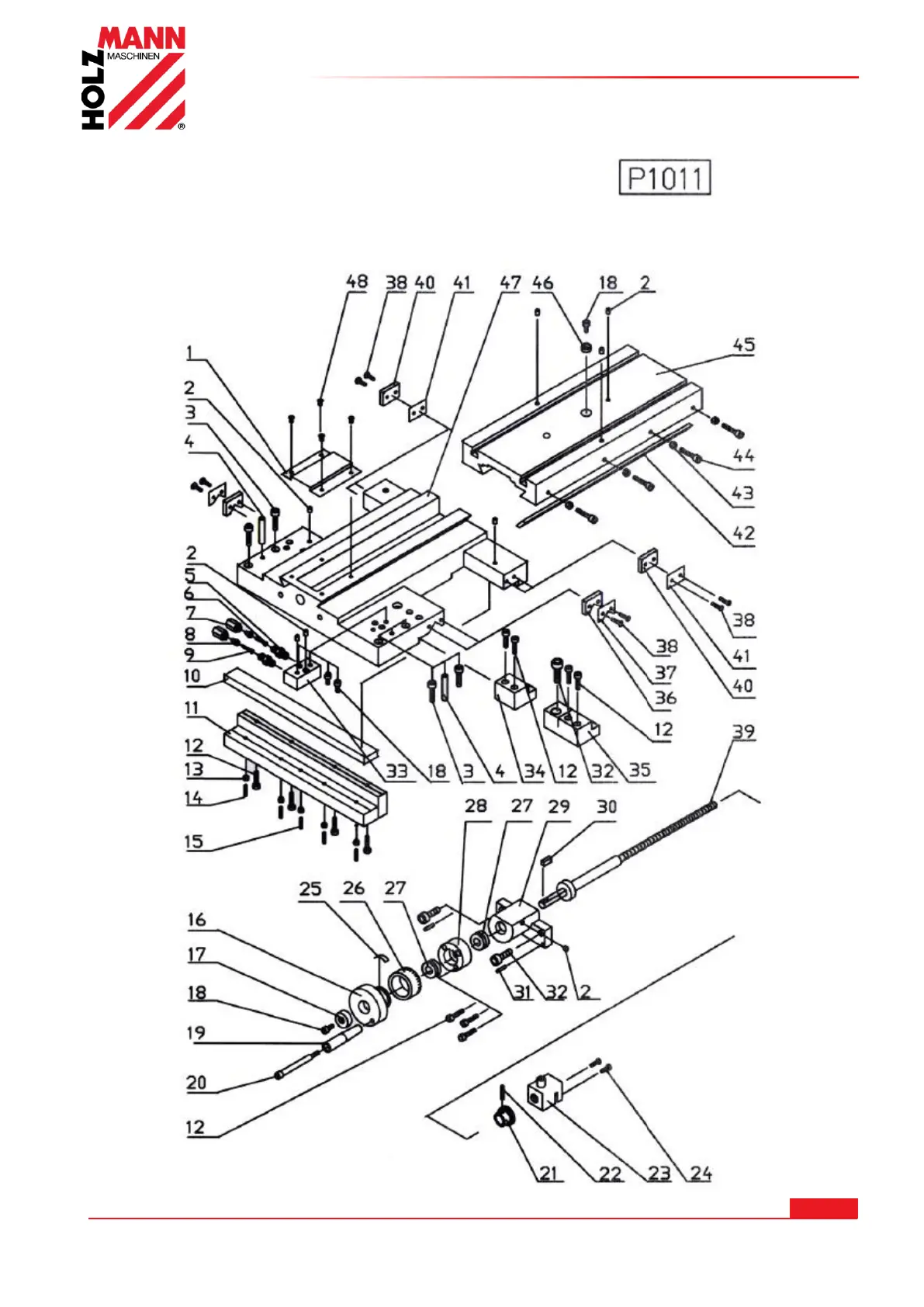
ERSATZTEILE / SPARE PARTS
HOLZMANN MASCHINEN GmbH www.holzmann-maschinen.at 80
ED750FDQ

Bekijk gratis de handleiding van Holzmann ED750FDQ, stel vragen en lees de antwoorden op veelvoorkomende problemen, of gebruik onze assistent om sneller informatie in de handleiding te vinden of uitleg te krijgen over specifieke functies.

Productinformatie

MerkHolzmann
ModelED750FDQ
CategorieNiet gecategoriseerd
TaalNederlands
Grootte33097 MB