Hisense WD3S9045BW3 handleiding
Handleiding
Je bekijkt pagina 21 van 62

Ɇɚɤɫɫɦ
Ɇɢɧɫɦ
Ɇɚɤɫɫɦ
Ɇɚɤɫɫɦ
Ɇɚɤɫɫɦ
ɇɟɩɨɬɚɩɹɣɬɟɜɴɜɜɨɞɚɦɚɪɤɭɱɚɡɚɜɯɨɞɹɳɚɜɨɞɚɫɴɫɫɢɫɬɟɦɚɬɚ$TXD6WRSɬɴɣɤɚɬɨɬɨɣ
ɢɦɚɟɥɟɤɬɪɢɱɟɫɤɢɤɥɚɩɚɧ
Ɇɚɪɤɭɱɴɬɡɚɜɯɨɞɹɳɚɜɨɞɚɦɨɠɟɞɚɫɟɫɜɴɪɠɟɛɟɡɜɴɡɜɪɚɬɟɧɤɥɚɩɚɧ
ɍɜɟɪɟɬɟɫɟɱɟɫɜɴɪɡɚɧɢɹɬɦɚɪɤɭɱɡɚɜɯɨɞɹɳɚɜɨɞɚɧɟɟɭɫɭɤɚɧɢɥɢɡɚɩɭɲɟɧ
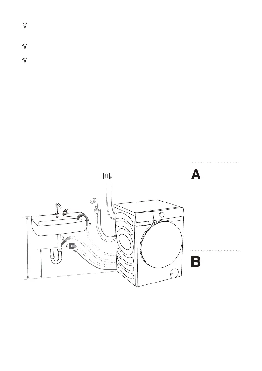
ɋȼɔɊɁȼȺɇȿɂɈȻȿɁɈɉȺɋəȼȺɇȿɇȺɆȺɊɄɍɑȺ
ɁȺɂɁɏɈȾəɓȺȼɈȾȺ
ɉɨɫɬɚɜɟɬɟɦɚɪɤɭɱɚɡɚɢɡɯɨɞɹɳɚɜɨɞɚɜɦɢɜɤɚɢɥɢɜɚɧɚɢɥɢɝɨɫɜɴɪɠɟɬɟɞɢɪɟɤɬɧɨɫ
ɨɬɜɨɞɧɢɬɟɥɧɢɹɤɚɧɚɥɦɢɧɢɦɚɥɧɢɹɬɞɢɚɦɟɬɴɪɧɚɦɚɪɤɭɱɚɡɚɢɡɯɨɞɹɳɚɜɨɞɚɟɫɦ
ȼɟɪɬɢɤɚɥɧɨɬɨɪɚɡɫɬɨɹɧɢɟɨɬɩɨɞɚɞɨɤɪɚɹɧɚɦɚɪɤɭɱɚɡɚɢɡɯɨɞɹɳɚɜɨɞɚɬɪɹɛɜɚɞɚɛɴɞɟ
ɦɟɠɞɭɢɫɦɌɨɣɦɨɠɟɞɚɫɟɫɜɴɪɠɟɩɨɬɪɢɧɚɱɢɧɚ$%&
Ʉɪɚɹɬɧɚ
ɦɚɪɤɭɱɚɡɚ
ɢɡɯɨɞɹɳɚɜɨɞɚ
ɦɨɠɟɞɚɫɟɩɨɫɬɚɜɢ
ɜɦɢɜɤɚɢɥɢɜɚɧɚ
ɂɡɩɨɥɡɜɚɣɬɟɥɟɧɬɚ
ɡɚɩɪɢɜɴɪɡɜɚɧɟ
ɩɪɟɤɚɪɚɧɚɩɪɟɡ
ɨɬɜɨɪɚɜɴɜɜɨɞɚɱɚ
ɧɚɦɚɪɤɭɱɚɡɚɞɚɝɨ
ɨɛɟɡɨɩɚɫɢɬɟɢɞɚɧɟ
ɩɨɡɜɨɥɢɬɟɧɟɝɨɜɨɬɨ
ɢɡɩɥɴɡɜɚɧɟ
Ɇɚɪɤɭɱɴɬɡɚ
ɢɡɯɨɞɹɳɚɜɨɞɚ
ɦɨɠɟɞɚɫɟ
ɩɪɢɤɪɟɩɢɢ
ɞɢɪɟɤɬɧɨɤɴɦ
ɨɬɜɨɞɧɢɬɟɥɧɢɹ
ɤɚɧɚɥɧɚɦɢɜɤɚɬɚ
ɇɟɢɡɩɨɥɡɜɚɣɬɟ
ɦɚɥɤɚɦɢɜɤɚ
ɂɦɚɣɬɟɩɪɟɞɜɢɞɱɟ
ɢɡɬɨɱɜɚɧɚɬɚɜɨɞɚ
ɦɨɠɟɞɚɟɝɨɪɟɳɚ
Bekijk gratis de handleiding van Hisense WD3S9045BW3, stel vragen en lees de antwoorden op veelvoorkomende problemen, of gebruik onze assistent om sneller informatie in de handleiding te vinden of uitleg te krijgen over specifieke functies.
Productinformatie
| Merk | Hisense |
| Model | WD3S9045BW3 |
| Categorie | Wasmachine |
| Taal | Nederlands |
| Grootte | 5495 MB |







