Handleiding
Je bekijkt pagina 37 van 75

30 FR
Informations pratiques
B
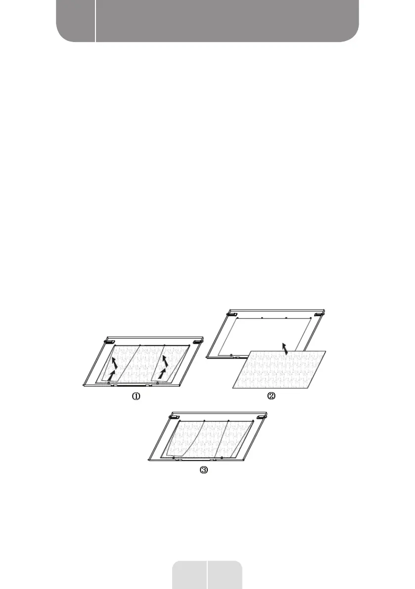
Filtre à charbon - non fourni
Un filtre à charbon actif peut être utilisé pour neutraliser les
odeurs. En principe, le filtre à charbon actif doit être changé
tous les trois à six mois, selon vos habitudes de cuisine.
La procédure d'installation du filtre à charbon actif est la
suivante:
1. Retirez le filtre anti-graisse.
2.
Enlevez le tissu filtrant placé à l'arrière du filtre anti-
graisse.
3.
Fixez le filtre à charbon à l'arrière du filtre anti-graisse
à l'aide d'un petit fil d'acier.
4. Réinstallez le filtre anti-graisse.
5.
Utilisez les filtres à charbon uniquement en mode
recyclage.
Bekijk gratis de handleiding van High One CH 60 W302C V2, stel vragen en lees de antwoorden op veelvoorkomende problemen, of gebruik onze assistent om sneller informatie in de handleiding te vinden of uitleg te krijgen over specifieke functies.
Productinformatie
| Merk | High One |
| Model | CH 60 W302C V2 |
| Categorie | Afzuigkap |
| Taal | Nederlands |
| Grootte | 6344 MB |