Grundig GWP4105415M handleiding
Handleiding
Je bekijkt pagina 16 van 40

EN / 16
• Tough stains must be treated properly
before washing.
• Wash trousers and delicate laundry
turned inside out.
• Laundry that are subjected to materials
such as flour, lime dust, milk powder, etc.
intensely must be shaken off before pla-
cing into the product. Such dusts and
powders on the laundry may build up on
the inner parts of the product in time and
can cause damage.
5.3 Tips for Energy and Water Saving
Following information will help you use the
product in an ecological and energy/water-
efficient manner.
• Operate the product in the highest load
capacity allowed for the programme you
have selected, but do not overload. See
"Programme and consumption table"
• Observe the temperature instructions on
the detergent packaging.
• Wash slightly soiled laundry at low tem-
peratures.
• Use faster programmes for small quantit-
ies of lightly soiled laundry.
• Do not use prewash and high temperat-
ures for laundry that is not heavily soiled
or stained.
• If you plan to dry your laundry in a dryer,
select the highest spin speed recommen-
ded during washing process.
• Do not use more detergent than the re-
commended amount on the detergent
packaging.
5.4 Loading the Laundry
1. Open the loading door.
2. Put the laundry items into the product in
a loose manner.
3. Push the loading door to close until you
hear a locking sound. Ensure that no
items are caught in the door. The load-
ing door is locked while a programme is
running. The door lock will open once
the programme is completed. Then you
can open the loading door. If the door
does not open, apply the solutions
provided for “Loading door cannot be
opened” error in the Troubleshooting
section.
5.5 Correct Load Capacity
The maximum load capacity depends on
the type of laundry, the degree of soiling
and the desired washing programme.
The product automatically adjusts the wa-
ter amount according to the weight of the
laundry put inside it.
Follow the instructions in “Pro-
gramme and consumption table”.
When the appliances is overloaded
product’s washing performance will
drop. Moreover, noise and vibration
problems may occur.
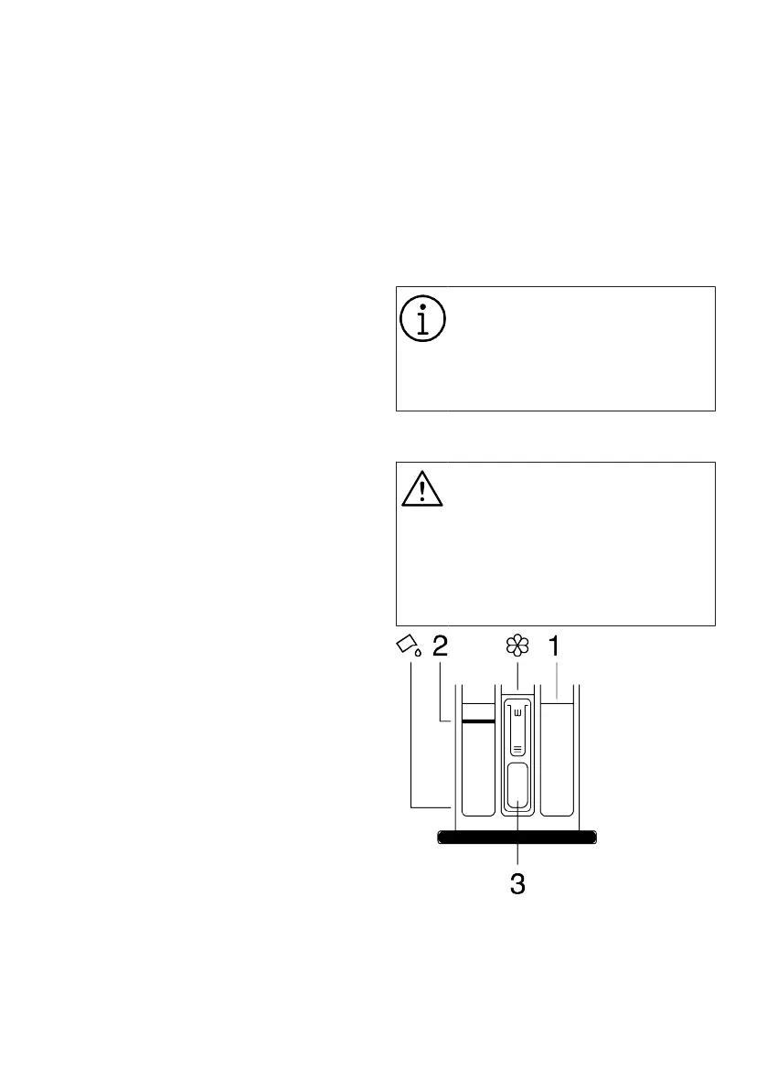
5.6 Using Detergent and Softener
WARNING
Read the manufacturer instructions
on the package while using deter-
gents, softeners, starch, bleach and
decolourants, anti-lime scale and
follow the dosage information
provided. Use a measuring cup, if
any.
The detergent drawer comprises of three
compartments:
(1) for prewash,
(2) for main washing,
(3) for softener,
Bekijk gratis de handleiding van Grundig GWP4105415M, stel vragen en lees de antwoorden op veelvoorkomende problemen, of gebruik onze assistent om sneller informatie in de handleiding te vinden of uitleg te krijgen over specifieke functies.
Productinformatie
| Merk | Grundig |
| Model | GWP4105415M |
| Categorie | Wasmachine |
| Taal | Nederlands |
| Grootte | 3422 MB |







