Grundig GW9I91041A handleiding
Handleiding
Je bekijkt pagina 18 van 48

EN / 18
5.5 Correct Load Capacity
The maximum load capacity depends on
the type of laundry, the degree of soiling
and the desired washing programme.
The product automatically adjusts the wa-
ter amount according to the weight of the
laundry put inside it.
Follow the instructions in “Pro-
gramme and consumption table”.
When the appliances is overloaded
product’s washing performance will
drop. Moreover, noise and vibration
problems may occur.
5.6 Using Detergent and Softener
WARNING
Read the manufacturer instructions
on the package while using deter-
gents, softeners, starch, bleach and
decolourants, anti-lime scale and
follow the dosage information
provided. Use a measuring cup, if
any.
Washing products such as powder
detergents and viscous, non-fluid li-
quid detergents cannot be used in
the detergent compartments.
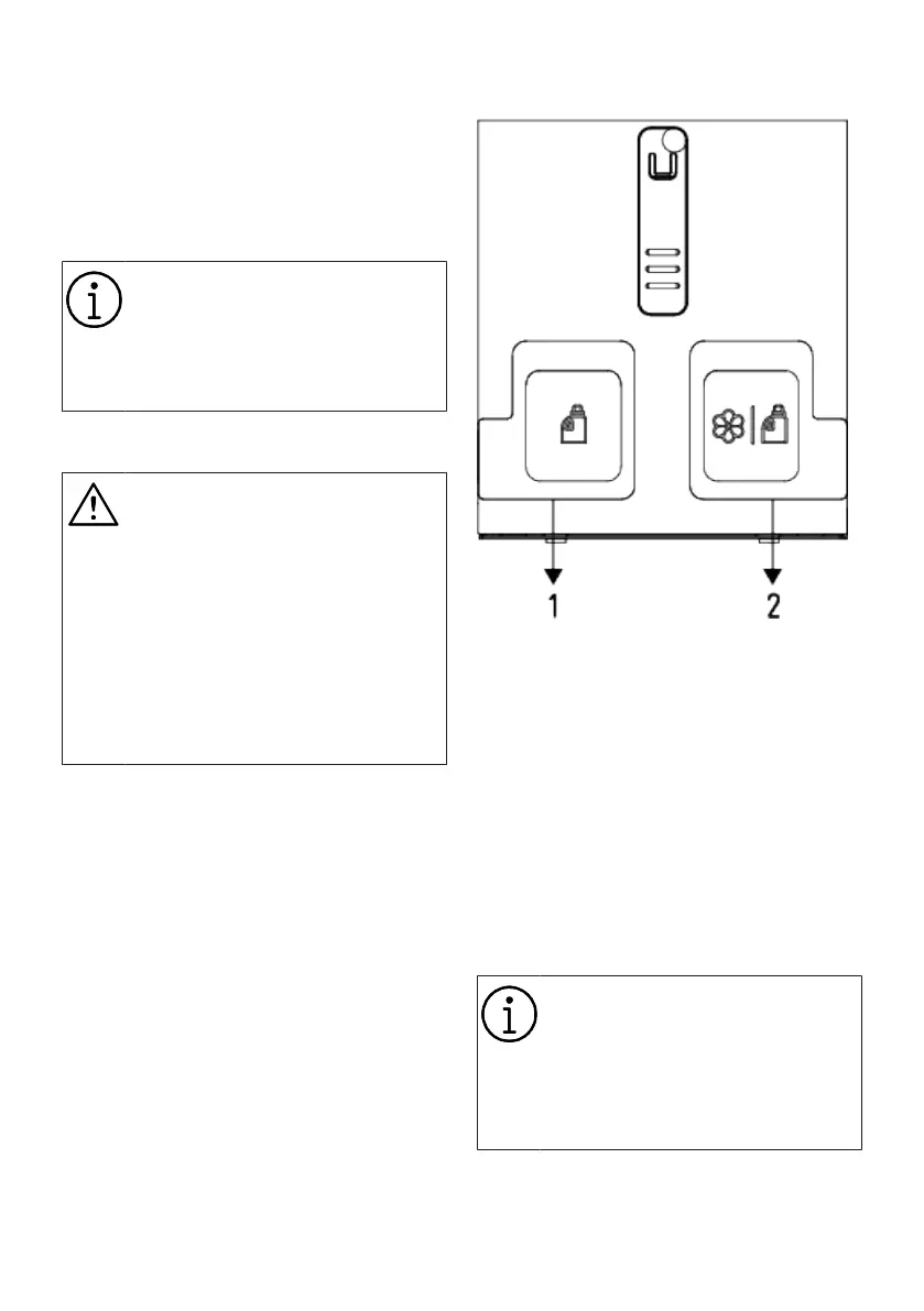
Detergent, Softener and Other Cleaning
Agents
The detergent drawer comprises of two
compartments:
(1) Liquid detergent compartment
(2) Softener or alternative liquid detergent
compartment
• Before starting a washing program, add
some liquid detergent, softener or altern-
ative liquid detergent.
• Do not leave the detergent drawer open
when the washing programme is on. Al-
ways close it.
• If you are to use the detergent pod or the
dispensing ball, place it directly among
the laundry in the product.
Your product has no prewash com-
partment.
You can select the prewash func-
tion using the HomeWhiz applica-
tion.
The product runs the prewash cycle
with liquid detergent.
Bekijk gratis de handleiding van Grundig GW9I91041A, stel vragen en lees de antwoorden op veelvoorkomende problemen, of gebruik onze assistent om sneller informatie in de handleiding te vinden of uitleg te krijgen over specifieke functies.
Productinformatie
| Merk | Grundig |
| Model | GW9I91041A |
| Categorie | Wasmachine |
| Taal | Nederlands |
| Grootte | 4348 MB |







