Growatt SPF 3000-6000T HVM handleiding
Handleiding
Je bekijkt pagina 36 van 45

34
Step 5: If there is no more fault alarm, the parallel system is completely installed.
Step 6: Please switch on all breakers of Line wires in load side. This system will start to provide power to the load.
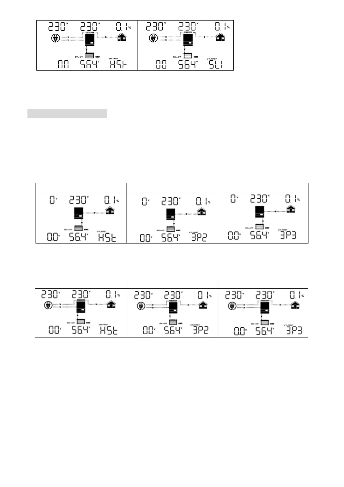
Parallel in Three Phase
Step 1: Check the following requirements before commissioning:
Correct wire connection
Ensure all breakers in Line wires of load side are open and each Neutral wires of each unit are connected
together.
Step 2: Turn on all units and configure LCD program 23 as 3P1, 3P2 and 3P3 sequentially. Then shut down all units.
Step 3: Turn on all units sequentially. Please turn on HOST inverter first, then turn on the rest one by one.
Growatt SPF 3000-6000T HVM-G2
LCD display in L1-phase unit
LCD display in L2-phase unit
LCD display in L3-phase unit
Step 4: Switch on all AC breakers of Line wires in AC input. If AC connection is detected and three phases are
matched with unit setting, they will work normally. Otherwise, they will display warning 15/16 and will not work in
the line mode.
Growatt SPF 3000-6000T HVM-G2
LCD display in L1-phase unit
LCD display in L2-phase unit
LCD display in L3-phase unit
Step 5: If there is no more fault alarm, the system to support 3-phase equipment is completely installed.
Step 6: Please switch on all breakers of Line wires in load side. This system will start to provide power to the load.
Note 1: If there’s only one inverter in L1-phase, the LCD will show as “HST”. If there is more than one inverter in
L1-phase, the LCD of the HOST inverter will show as “HST”, the rest of L1-phase inverters will show as “3P1”.
Note 2: To avoid overload occurring, before turning on breakers in load side, it’s better to have whole system in
operation first.
Note 3: Transfer time for this operation exists. Power interruption may happen to critical devices, which cannot bear
transfer time.
Bekijk gratis de handleiding van Growatt SPF 3000-6000T HVM, stel vragen en lees de antwoorden op veelvoorkomende problemen, of gebruik onze assistent om sneller informatie in de handleiding te vinden of uitleg te krijgen over specifieke functies.
Productinformatie
| Merk | Growatt |
| Model | SPF 3000-6000T HVM |
| Categorie | Niet gecategoriseerd |
| Taal | Nederlands |
| Grootte | 6722 MB |







