Grillmeister GGW 84 B1 handleiding
Handleiding
Je bekijkt pagina 59 van 66

GRILL MEISTER GGW 84 B1
Deutsch - 57
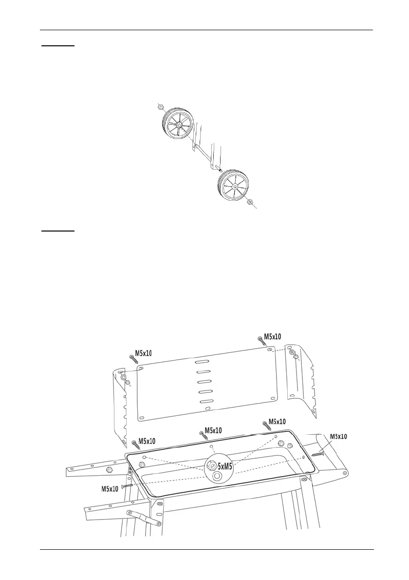
Schritt 4
Stecken Sie die Achse (12) durch die untersten Löcher der Rad-Standfüße (13). Setzen Sie nun
die Räder (11) auf die Enden der Achse (12). Schrauben Sie auf die Enden der Achse (12) die
Hutmuttern (22) handfest auf. Ziehen Sie anschließend unter Zuhilfenahme zweier Maulschlüssel
SW13 beide Hutmuttern (22) gleichzeitig fest an.
Schritt 5
Verbinden Sie den 3-teiligen Windschutz (18, 2, 3) handfest durch die oberen Löcher
miteinander. Achten Sie beim Zusammenschrauben darauf, dass die Löcher des Windschutzes
(18, 2, 3) nach unten zeigen (wie in der Abbildung dargestellt). Sie benötigen 2 Schrauben
(19), 2 Unterlegscheiben (23) und 2 Muttern (21).
Schrauben Sie den Windschutz (18, 2, 3) von innen an den Kohlebehälter (5). Achten Sie
unbedingt darauf, dass die Köpfe der Schrauben nach außen zeigen. Sie benötigen 5
Schrauben (19), 5 Unterlegscheiben (23) und 5 Muttern (21).
Ziehen Sie nun alle Schrauben fest an.
Bekijk gratis de handleiding van Grillmeister GGW 84 B1, stel vragen en lees de antwoorden op veelvoorkomende problemen, of gebruik onze assistent om sneller informatie in de handleiding te vinden of uitleg te krijgen over specifieke functies.
Productinformatie
| Merk | Grillmeister |
| Model | GGW 84 B1 |
| Categorie | Niet gecategoriseerd |
| Taal | Nederlands |
| Grootte | 7720 MB |






